Главная
Кабинет
Корзина
Избранные
Сравнение
Главная
Кабинет
Корзина
Избранные
Сравнение
ТОО "ПК Гарант Металл". Металлопрокат любых марок стали и типоразмеров
Астана
Уральск
Кокшетау
Кызылорда
Актау
Петропавлск
Актобе
Караганда
Атырау
Шымкент
Тараз
Усть-Каменогорск
Семей
Костанай
Павлодар
Алматы
Астана
+7 (771) 800 20 01
+7 (771) 800 20 01
г. Астана, проспект Республики, 24, офис 403
Пн – Пт с 9:00 до 18:00
Сб– Воскр Выходной
zakaz@pk-gm.kz
Заказать звонок
Поиск
Войти
Каталог товаров
Цветной прокат и сплавы
Алюминиевый прокат
Бронзовый прокат
Ванадиевый прокат
Нержавеющий прокат
Нержавеющий лист
Цветные нержавеющие листы
Нержавеющий перфорированный лист
Специальные стали
Автоматная сталь
Биметаллический прокат
Броневая сталь
Черный прокат
Листовой прокат
Металлический сайдинг
Проволока
Трубопроводная арматура
Алюминиевые обечайки
Вентиляционные клапаны
Вентиляционные отводы
Изоляция труб
ВУС-Изоляция
Гофрированная алюминиевая фольга
Заглушка в изоляции
Чугунный прокат
Арматура чугунная
Безраструбная канализация
Воронка водосточная чугунная
Сплавы
Баббиты
Кобальтовые сплавы
Легкоплавкие припои
Сварочные материалы
Графитовые электроды
Кобальтовый наплавочный порошок
Припой
Полимерные изделия
Акриловые стекла
Амортизаторы резиновые
Валы обрезиненные
Композитные материалы
Алюминиевые композитные панели
Композитная арматура
Композитные трубы
Кабель
Автомобильный провод
Бортовой кабель
Взрывной кабель
Метизы
Анкерные плиты
Анкерные тяги
Арматурные каркасы
Закладные детали
Закладные детали ФМ
Закладные изделия МН по серии 1.400-15
Фиксаторы арматуры
Конструкции для трубопроводов
Конструкции для балластировки трубопроводов
Конструкции для защиты изоляционного покрытия трубопроводов
Конструкции для очистки полости трубопроводов
Железобетонные изделия
Железобетонные колодцы (ЖБИ)
Железобетонные плиты
Железобетонные утяжелители для трубопроводов
Электрооборудование
Услуги
Резка металла
Цинкование металла
Сварка металла
Защитное покрытие
Поставщики
Доставка
Компания
Вакансии
Политика конфиденциальности
Новости
Сертификаты
Контакты
...
Каталог товаров
Цветной прокат и сплавы
Алюминиевый прокат
Алюминиевый лист
Лист алюминиевый ПВЛ
Рифленый алюминиевый лист
Алюминиевый перфорированный лист
Алюминиевый профнастил
Алюминиевая плита
Алюминиевая шина
Алюминиевая лента
Алюминиевый рулон
Алюминиевая фольга
Алюминиевая труба
Труба алюминиевая холоднодеформируемая
Труба алюминиевая электросварная
Алюминиевая профильная труба
Алюминиевая прессованная труба
Продольно-оребренные алюминиевые трубы
Алюминиевый круг
Алюминиевый пруток
Сварочный алюминиевый пруток
Алюминиевая проволока
Проволока алюминиевая электротехническая
Проволока алюминиевая для холодной высадки
Проволока алюминиевая для воздушных линий электропередач
Заклепочная алюминиевая проволока
Сварочная алюминиевая проволока
Сварочная порошковая алюминиевая проволока
Катанка алюминиевая
Алюминиевый квадрат
Алюминиевый шестигранник
Алюминиевая декоративная сетка
Алюминиевый тавр
Алюминиевый двутавр
Алюминиевый ш-образный профиль
Алюминиевый швеллер
Алюминиевый прессованный профиль
Бульбопрофиль
Алюминиевый полособульб
Алюминиевый уголок
Анодированный алюминий
Алюминиевая чушка
Переходные пластины АП
Алюминиевые втулки
Алюминиевые уплотнительные прокладки
Алюминиевая керноприемная труба
Алюминиевая полоса
Алюминиевые бульбоугольники
Алюминиевые крышки люков цистерн
Алюминиевый типографский лист
Шары из алюминия
Бронзовый прокат
Бронзовый лист
Бронзовая плита
Бронзовая полоса
Бронзовая шина
Бронзовая лента
Бронзовая фольга
Бронзовый круг
Бронзовый пруток
Бронзовые трубы
Бронзовый квадрат
Бронзовый шестигранник
Бронзовая сетка
Бронзовая проволока
Бронзовая втулка
Бронзовые отливки
Бронзовая чушка
Бронзовые поковки
Бронзовые шайбы
Бронзовый вкладыш
Ванадиевый прокат
Ванадиевый лист
Лента ванадиевая
Плита ванадиевая
Полоса ванадиевая
Фольга ванадиевая
Круг ванадиевый
Ванадиевый пруток
Ванадиевая проволока
Ванадиевый слиток
Ванадий металлический
Вольфрамовый прокат
Вольфрамовый лист
Вольфрамовая полоса
Вольфрамовая фольга
Вольфрамовая лента
Вольфрамовый пруток
Вольфрамовая труба
Вольфрамовые заготовки
Вольфрамовая проволока
Вольфрамовая нить
Вольфрамовый электрод
Вольфрамовые тигли
Вольфрамовая лодочка
Вольфрамовый штабик
Вольфрамовый слиток
Вольфрамовый диск
Вольфрамовая спица
Вольфрамовые контакты
Гафниевый прокат
Гафниевый лист
Гафниевая полоса
Гафниевая фольга
Гафниевый пруток
Гафниевая проволока
Гафниевый слиток
Йодидный гафний
Гафниевая лента
Дюралюминиевый прокат
Дюралевый лист
Дюралевый рифленый лист
Дюралевая полоса
Дюралевая плита
Дюралевая лента
Дюралевая труба
Дюралевый круг
Дюралевый пруток
Дюралевая проволока
Дюралевый квадрат
Дюралевый шестигранник
Дюралевый уголок
Дюралевый швеллер
Дюралевая болванка
Латунный прокат
Латунный круг
Латунный пруток
Латунный лист
Латунная плита
Латунная полоса
Латунные пластины
Латунная лента
Латунная фольга
Латунная проволока
Латунная катанка
Латунный квадрат
Латунный шестигранник
Латунная труба
Волноводная латунная труба
Латунная сетка
Латунная чушка
Латунная втулка
Латунный профиль
Металлокорд
Латунный анод
Латунная шина
Латунная электроэрозионная проволока
Латунные вкладыши
Магниевый прокат
Магниевый лист
Магниевая плита
Магниевые пластины
Магниевый пруток
Магниевая проволока
Магниевая лента
Магниевые поковки
Магниевые слитки
Магниевые штамповки
Медный прокат
Медный лист
Рандоль листовой
Медная плита
Медная полоса
Медная шина
Медная изолированная шина
Медная лента
Медная кровельная лента
Медная лента DEVI
Медный рулон
Фольга медная
Медный круг
Медный пруток
Сварочный медный пруток
Медная труба
Медные трубы в изоляции
Медная труба для кондиционеров
Дюймовые трубы
Медная капиллярная трубка
Труба медная профильная
Волноводная медная труба
Медный квадрат
Медный брусок
Медный шестигранник
Медная сетка
Медная проволока
Сварочная медная проволока
Медная катанка
Катанка медная для электротехнических целей
Электроды для сварки меди
Медь в слитках чушках
Медные аноды
Медь катодная
Медь фосфористая
Переходные пластины МА
Луженые медные переходные пластины
Медная втулка
Медные уплотнительные прокладки
Судовые красномедные прокладки
Бескислородная медь в палочках
Медные наконечники
Медная поковка
Молибденовый прокат
Молибденовый лист
Молибденовая полоса
Молибденовая лента
Молибденовая фольга
Молибденовый пруток
Молибденовая труба
Молибденовая проволока
Молибденовый диск
Молибденовые заготовки
Молибденовый штабик
Молибденовые изделия
Молибденовая лодочка
Молибденовые тигли
Молибденовая нить
Никелевый прокат
Никелевый лист
Никелевая полоса
Никелевая лента
Никелевые трубы
Никелевый круг
Никелевый пруток
Никелевая проволока
Никелевая сетка
Никелевая фольга
Никелевая пластина
Никелевый анод
Никелевый катод
Гранулированный никель
Никелевая дробь карбонильная
Ниобиевый прокат
Ниобиевый лист
Ниобиевая полоса
Ниобиевая лента
Ниобиевая труба
Ниобиевый круг
Ниобиевый пруток
Ниобиевая проволока
Ниобиевая фольга
Ниобиевый штабик
Ниобиевая высечка
Ниобиевые таблетки
Ниобиевая чешуйка
Аноды с алмазным покрытием
Платинированные ниобиевые аноды
Нихромовый прокат
Нихромовый лист
Лента нихромовая
Круг нихромовый
Нихромовый пруток
Сетка нихромовая
Нихромовая проволока
Нить нихромовая
Нихромовый провод
Хромовая мишень
Хромовый брикет
Оловянный прокат
Оловянный лист
Оловянная фольга
Оловянный круг
Оловянный пруток
Оловянная проволока
Оловянный анод
Оловянный баббит
Оловянная лента
Рениевый прокат
Рениевый пруток
Рениевая проволока
Рениевая фольга
Рениевые заготовки
Рениевый штабик
Свинцовый прокат
Свинец в палочках
Свинцовая дробь
Свинцовая проволока
Свинцовая роль
Свинцовые муфты
Свинцовые пломбы
Свинцовые трубы
Свинцовый анод
Свинцовый кирпич
Свинцовый круг
Свинцовый лист
Свинцовый пруток
Танталовый прокат
Танталовый лист
Танталовая полоса
Танталовая лента
Танталовая фольга
Танталовая трубка
Танталовый пруток
Танталовая проволока
Танталовый слиток
Титановый прокат
Титановый лист
Титановая плита
Титановая шина, полоса
Титановая лента
Титановая фольга
Титановая карточка
Титановые пористые пластины
Титановый круг
Титановый пруток
Титановая труба
Титановый профиль
Нитиноловая труба
Заготовка из титана
Титановая поковка
Титановая проволока
Нитиноловая проволока
Титановая сварочная проволока
Нитиноловая пружина
Титановая катушка
Титановые кольца
Титановая мишень
Титановый квадрат
Титановый шестигранник
Титановая сетка
Титановые слитки
Титановые отливки
Титановые емкости
Титановая ёмкость нейтрализации растворов
Анодная корзина из титана
Титановый компенсатор трубы
Титановый блин под фланец
Титановый барботёр
Крепежная стойка из титана
Реактор из титана
Титановый импеллер
Титановая клипса
Титановая губка
Аноды экранирующие
Платинированные титановые аноды
Титановая катанка
Титановый уголок
Цинковый прокат
Цинковый лист
Цинковая полоса
Цинковая фольга
Цинковые пластины
Цинковая проволока
Цинковый анод
Циркониевый прокат
Циркониевый лист
Циркониевая лента
Циркониевая фольга
Циркониевая труба
Циркониевый пруток
Циркониевая проволока
Нержавеющий прокат
Нержавеющий лист
Цветные нержавеющие листы
Бирюзовый нержавеющий лист
Золотой нержавеющий лист
Розовый нержавеющий лист
Синий нержавеющий лист
Черный нержавеющий лист
Нержавеющий перфорированный лист
Нержавеющий перфорированный лист Qg 1х2 м
Нержавеющий перфорированный лист Rv 1х2 м
Нержавеющие декоративные листы
Нержавеющий объемный лист
Нержавеющий текстурированный лист
Нержавеющий узорный лист
Нержавеющий шлифованный лист
Нержавеющий рифленый лист
Нержавеющая плита
Нержавеющая полоса
Нержавеющие карточки
Нержавеющий рулон
Рулонный подкат
Нержавеющая лента
Нержавеющая сварочная лента
Нержавеющий круг
Круг декоративный
Пруток нержавеющий
Сварочный нержавеющий пруток
Нержавеющие трубы
Трубы теплодеформированные из коррозионностойкой стали
Нержавеющая капиллярная трубка
Нержавеющие перфорированные трубы
Труба декоративная
Нержавеющая трубопроводная арматура
Запорно-регулирующая арматура из нержавеющей стали
Нержавеющие детали
Нержавеющие фитинги
Фасонные части трубопроводов из нержавеющей стали
Нержавеющая проволока
Нержавеющая сварочная проволока
Нержавеющий трос
Нержавеющая сетка
Нержавеющая просечно-вытяжная сетка
Рифленая нержавеющая сетка
Нержавеющий квадрат
Нержавеющий шестигранник
Нержавеющая поковка
Нержавеющий швеллер
Нержавеющий уголок
Нержавеющие трапы
Нержавеющие трапы с вертикальным выпуском
Нержавеющие трапы с горизонтальным выпуском
Дробь нержавеющая колотая
Дробь нержавеющая литая
Коррозионностойкие отливки
Нержавеющее кольцо
Шпоночный прокат нержавеющий
Нержавеющая дробь
Пористые материалы
Пористая лента
Пористый лист
Люки Manhole Covers
Люки Manhole Covers квадратные
Люки Manhole Covers круглые
Нержавеющая заготовка
Нержавеющая фильтровая сетка
Нержавеющие втулки
Нержавеющие втулки резьбовые
Нержавеющие втулки резьбовые шестигранные
Нержавеющие листы с покрытием нитрид титана
Голубой нержавеющий лист с покрытием оксид титана
Золотой нержавеющий лист с покрытием нитрид титана
Медный нержавеющий лист с покрытием карбонитрид титана
Нержавеющие водоотводы
Нержавеющие линейные водоотводы
Нержавеющие точечные водоотводы
Нержавеющие уловители водоотвода
Нержавеющие профильные трубы
Нержавеющие профильные квадратные трубы
Нержавеющие профильные прямоугольные трубы
Нержавеющие электросварные трубы
Нержавеющий просечно-вытяжной лист
Специальные стали
Автоматная сталь
Автоматная плита
Автоматный квадрат
Автоматный круг
Автоматный лист
Автоматный шестигранник
Биметаллический прокат
Биметаллическая лента
Биметаллическая полоса
Биметаллическая проволока
Биметаллические листы
Биметаллические оребренные трубы
Биметаллические плиты
Термобиметаллическая лента
Броневая сталь
Бронелист
Быстрорежущая сталь
Брусок из быстрорежущей стали
Быстрорежущий круг
Квадрат быстрорез
Лист быстрорез
Полоса быстрорез
Проволока быстрорез
Труба быстрорез
Жаропрочные стали
Жаропрочная заготовка
Жаропрочная карточка
Жаропрочная плита
Жаропрочная поковка
Жаропрочная полоса
Жаропрочная проволока
Жаропрочная сутунка
Жаропрочные трубы
Жаропрочный квадрат
Жаропрочный круг
Жаропрочный лист
Жаропрочный пруток
Жаропрочный шестигранник
Лента жаропрочная
Отливки из жаропрочной стали
Стальной башмак порога печи
Инструментальная сталь
Валковая сталь
Инструментальная лента
Инструментальная плита
Инструментальная поковка
Инструментальная полоса
Инструментальная проволока
Инструментальный квадрат
Инструментальный круг
Инструментальный лист
Конструкционная сталь
Конструкционная стальная плита
Конструкционный стальной круг
Конструкционный стальной лист
Поковка круглая
Прямоугольная поковка
Стальная лента
Стальная полоса
Стальная проволока
Стальная труба
Стальной легированный шестигранник
Стальной уголок
Стальные квадраты
Криогенный прокат
Криогенная плита
Криогенная полоса
Криогенные трубы
Криогенный квадрат
Криогенный круг
Криогенный лист
Мостовая сталь
Мостостроительный лист
Никельсодержащая сталь
Никельсодержащая полоса
Никельсодержащий квадрат
Никельсодержащий круг
Никельсодержащий лист
Никельсодержащий уголок
Никельсодержащий неравнополочный уголок
Никельсодержащий равнополочный уголок
Никельсодержащий шестигранник
Пищевая сталь
Пищевая плита
Пищевая полоса
Пищевая сетка
Пищевая труба
Пищевой квадрат
Пищевой круг
Пищевой лист
Подшипниковая сталь
Подшипниковая полоса
Подшипниковые трубы
Подшипниковый квадрат
Подшипниковый круг
Подшипниковый шестигранник
Рессорно-пружинные стали
Рессорно-пружинная плита
Рессорно-пружинная полоса
Рессорно-пружинный квадрат
Рессорно-пружинный круг
Рессорно-пружинный лист
Рессорно-пружинный шестигранник
Трубы из рессорно-пружинной стали
Судостроительная сталь
Зажим для стального троса
Киповая планка с роульсом
Колонна роликовых направляющих
Морская скоба
Морская фанера
Морской клюз
Панамский клюз
Полособульб
Роликовые клюзы для якорных цепей
Стопор якорной цепи
Судовая полоса
Судовой лист
Талреп
Талреп вилка-вилка
Талреп кольцо-кольцо
Талреп крюк-кольцо
Талреп крюк-крюк
Уголок для судостроения
Неравнополочный уголок для судостроения
Равнополочный уголок для судостроения
Якоря
U.S.N бесштоковый якорь
Якорь HHP
Якорь Spek
Якорь Матросова
Якорь повышенной держащей силы
Якоря Холла
Японский бесштоковый якорь
Штамповая сталь
Штамповая полоса
Штамповой квадрат
Штамповой круг
Штамповые трубы
Электротехническая сталь
Электротехническая анизотропная лента
Электротехническая изотропная лента
Электротехнические заготовки
Электротехнический круг
Электротехнический лист
Черный прокат
Листовой прокат
Асбестоцементные плиты
Асбоцементный лист
Горячекатаные пластины
Горячекатаный лист
Жесть
Износостойкий лист
Кованая плита
Котельный лист
Легированный лист
Лист оцинкованный
Лист просечно-вытяжной ПВЛ
Лист рифленый ромбический
Лист рифленый стальной
Лист стальной повышенной прочности
Лист холоднокатаный
Металлошифер простой, оцинкованный
Металлошифер
Металлошифер оцинкованный
Низколегированный лист
Окрашенный лист
Окрашенный оцинкованный лист
Омедненная просечка
Оцинкованный рулон
Перфорированный лист
Лист перфорированный MV
Лист перфорированный Qd 8x14
Лист перфорированный Qg 10x14
Лист перфорированный Qg 3x5
Лист перфорированный Qg 5x14
Лист перфорированный Qg 5x7
Лист перфорированный Qg 5x8
Лист перфорированный Qg 6x9
Лист перфорированный Qg 8x10
Лист перфорированный Qg 8x12
Лист перфорированный Qg Rv 6x8
Лист перфорированный Rg 5x12
Лист перфорированный Rg 8x17.32
Лист перфорированный Rv 1.5x3
Лист перфорированный Rv 1.75x2.5
Лист перфорированный Rv 10x15
Лист перфорированный Rv 2.5x4
Лист перфорированный Rv 2.5x5
Лист перфорированный Rv 2x2.5
Лист перфорированный Rv 2x3.5
Лист перфорированный Rv 3-5
Лист перфорированный Rv 3x4
Лист перфорированный Rv 3x5
Лист перфорированный Rv 4x6
Лист перфорированный Rv 5x6
Лист перфорированный Rv 5x7
Лист перфорированный Rv 5x8
Лист перфорированный Rv 6x10
Лист перфорированный Rv 6x9
Лист перфорированный Rv 8x10
Лист перфорированный Rv 8x12
Оцинкованный перфорированный лист Rv 1,25х2,5 м
Оцинкованный перфорированный лист Rv 1х2 м
Перфорированный лист Lv
Перфорированный лист Qg 1,25х2,5 м
Перфорированный лист Qg с квадратными отверстиями 1х2м
Перфорированный лист Qv 1х2 м
Перфорированный лист Rg 1х2 м
Перфорированный лист Rv 1,25х2,5 м
Перфорированный лист RV с круглыми отверстиями 1х2 м
Полоса высечка
Рулон с полимерным покрытием
Стальные тонкие листы
Углеродистый лист
Металлический сайдинг
Проволока
Калиброванная проволока
Канатная скребковая проволока
Нержавеющая канатная скребковая проволока
Оцинкованная канатная скребковая проволока
Светлая канатная скребковая проволока
Катанка
Низколегированная проволока
Пломбировочная проволока
Проволока ВР, ВР оцинкованная
Проволока ВР
Проволока оцинкованная ВР
Проволока вязальная
Проволока для бронирования кабеля
Проволока для холодной высадки
Проволока канатная ГОСТ 7372-79
Проволока качественная КС, КО
Проволока качественная КС
Проволока оцинкованная КО
Проволока колючая
Проволока Егоза
Проволока Репейник (Гюрза)
Проволока наплавочная
Проволока нихром
Проволока общего назначения
Проволока оцинкованная
Проволока полиграфическая простая, оцинкованная
Проволока пружинная
Проволока с полимерным покрытием
Проволока сварочная СВ
Проволока стальная оцинкованная для сердечников проводов
Проволока телеграфная
Проволока торговая, гвоздильная
Проволока углеродистая
Рояльная проволока
Сварочная омедненная проволока
Шплинтовая проволока
Профнастил
Металлочерепица
Оцинкованная кровельная сталь
Оцинкованная панель
Оцинкованный профилированный лист
Поликарбонатный профилированный лист
Прессованные оцинкованные ступени
Прессованный решетчатый настил
Профилированный лист с полимерным покрытием
Кровельный профилированный лист
Стеновой профилированный лист
Универсальный профилированный лист
Сварные оцинкованные ступени из решетчатого настила
Элементы отделки для кровельных материалов
Карнизная планка
Конек для металлочерепицы
Планка ендовы
Планка примыкания
Снегодержатель
Торцевая планка
Сетка стальная
Высечка
Высечка биметаллическая
Высечка из черной стали
Габионы
Габион с армирующей панелью
Габионные сетки двойного кручения
Коробчатый габион
Матрацы-габионы
Цилиндрический габион
Крученая шестигранная сетка (Манье)
Мельничная сетка
Оцинкованная просечно-вытяжная сетка
Просечно-вытяжная сетка
Рабица
Сетка рабица
Сетка рабица оцинкованная
Сетка рабица с полимерным покрытием
Сварная сетка
Противоподкопная сетка
Сетка арматурная
Сетка дорожная
Сетка кладочная
Сетка Армсеть
Сетка гиттер
Сетка плетеная
Галунная фильтровая сетка (полотняная)
Рукавная сетка
Саржевая сетка
Сетка канилированная (рифленая)
Транспортерная сетка (конвейерная)
Сетки тканые
Сетка тканая
Сетка тканая оцинкованная
Сетки штукатурные
Сетка штукатурная
Сетка штукатурная, армирующая оцинкованная
Тросиковая сетка
Шарнирная узловая сетка
Щелевая сетка
Сортовой прокат
Арматура
Арматура А1 (А240)
Арматура А2 (А300)
Арматура А3
Арматура А4 (А600)
Арматура А400
Арматура А5 (А800)
Арматура А500с
Арматура А6 (А1000)
Арматура АС2 (АС300)
Арматура Ат1000 (Ат-VI)
Арматура Ат1000К (Ат-VIК)
Арматура Ат1200 (Ат-VII)
Арматура Ат600К (Ат-IVК)
Арматура Ат600С (Ат-IVС)
Арматура АТ800
Арматура АТ800К (Ат-VK)
Арматура В500С
Стальная арматура
Пруток с твердым хромовым покрытием
Стальная дробь
Дробь стальная колотая
Дробь стальная литая
Стальной блюм
Стальной квадрат
Высоколегированный квадрат
Горячекатаный квадрат
Калиброванный квадрат
Кованый квадрат
Низколегированный квадрат
Оцинкованный квадрат
Стальной круг
Буровой пустотелый круг
Горячекатаный круг
Калиброванный круг
Кованый круг
Круг серебрянка
Низколегированный круг
Оцинкованный круг
Стальной пруток
Горячекатаный круглый пруток
Калиброванный круглый пруток
Квадратный пруток
Оцинкованный пруток
Сварочный омедненный пруток
Стальной шестигранник
Буровой шестигранник
Горячекатанный шестигранник
Калиброванный шестигранник
Стальные заготовки
Стальные кольца
Стальные круглые заготовки
Стальные прямоугольные заготовки
Стальные ленты
Горячекатаная лента
Лента для бронирования кабелей
Лента для щелочных аккумуляторов
Лента монтажная
Лента оцинкованная
Лента перфорированная
Лента пружинная
Лента стальная плющенная
Лента стальная повышенной прочности
Лента стальная термообработанная
Лента упаковочная
Лента штамповальная
Низкоуглеродистая лента
Холоднокатаная конструкционная лента
Стальные полосы
Горячекатаная полоса
Кованая полоса
Легированная полоса
Низколегированная полоса
Оцинкованная полоса
Фибра стальная
Шары помольные, мелющие
Стальные отливки VAUTID
Стальные сваи
Винтовые сваи
Конические стальные забивные сваи
Трубный прокат
Безнапорные асбестоцементные трубы
Бесшовные горячекатаные трубы
Бесшовные трубы
Гибкие насосно-компрессорные трубы
Гидравлическая фосфатированная трубка
Дренажные керамические трубы
Змеевики для резервуаров
Коррозионностойкие трубы
Котельные трубы
Легированные трубы
Напорные асбоцементные трубы
Низколегированная труба
Оцинкованные трубы
Панцирные трубы
Полипропиленовые гофрированные трубы
Полиэтиленовые гофрированные трубы
Спиралешовные трубы
Труба API 5L
Труба бесшовная холоднокатаная
Труба бетонная
Труба восстановленная
Труба колонковая
Труба крекинговая
Труба насосно-компрессорная НКТ
Труба обсадная
Трубы ASTM
Трубы БУ
Трубы бурильные
Трубы в изоляции
Трубы водогазопроводные ВГП
Трубы для карданных валов
Трубы для подводных морских трубопроводов
Трубы из обечаек
Трубы из углеродистой стали
Трубы магистральные
Трубы оцинкованные ВГП
Трубы профильные
Трубы стальные свертные паяные двухслойные
Трубы толстостенные
Трубы электросварные
Трубы электросварные оцинкованные
Футерованные трубы
Хонингованные трубы
Цельнотянутые трубы
Шамотные трубы
Фасонный прокат стали
Футеровочные плиты VAUTID
Элементы отделки для линеарных панелей
Нестандартные фасонные элементы
Отлив оцинкованный
Планка Z-образная
Планка аквилона ПА
Планка вертикального стыка
Планка оконного откоса
Планка отлива оконного
Планка отлива цокольного
Планка стыковочная универсальная
Планка угла внутреннего линеарного
Планка угла наружного линеарного
Полоса декоративная ПД
Элементы отделки для сайдинга
Акриловый сайдинг
Виниловый сайдинг
Отливы для сайдинга
Софиты
Фиброцементные фасадные панели
Фиброцементный сайдинг
Цокольный сайдинг
Трубопроводная арматура
Алюминиевые обечайки
Вентиляционные клапаны
Клапан инфильтрации воздуха
Многостворчатый вентиляционный клапан
Обратный вентиляционный клапан
Обратный вентиляционный клапан "бабочка"
Обратный вентиляционный клапан прямоугольный
Вентиляционные отводы
Вентиляционный отвод круглый 45гр
Вентиляционный отвод круглый 90гр
Вентиляционный отвод прямоугольный 45гр
Вентиляционный отвод прямоугольный 90гр
Водосточные системы
S-обвод
Водосборник
Водосточная воронка
Водосточная труба
Водосточный желоб
Водосточный отвод
Заглушка водосточной воронки
Заглушка желоба
Колено водосточной трубы
Комплекты водосточной системы
Сетка воронки
Соединитель желоба
Соединитель трубы
Тройник трубы
Угол желоба
Хомут трубы
Воздуховод оцинкованный
Воздуховод оцинкованный круглый
Воздуховод оцинкованный прямоугольный
Гидравлические соединения
Адаптеры
Ввертные адаптеры
Ввертные регулируемые штуцера
Комплектующие для адаптеров
Переборочные адаптеры
Приварные адаптеры
Соединения для подключения измерительных устройств
Соединения проходные
Соединения проходные с накидной гайкой
Штуцера ввертные с накидной гайкой
Быстроразъемные соединения
Быстроразъемные соединения FLAT FACE CPR
Быстроразъемные соединения ISO-A
Быстроразъемные соединения STG
Быстроразъемные соединения TGW
Заглушки для БРС
Заглушки для БРС
Заглушки для БРС (пластиковые)
Заглушки для БРС (стальные)
Обжимные муфты
Муфта обжимная 1SN
Муфта обжимная 1SN-2SN
Муфта обжимная 1SС-1SN-2SC
Муфта обжимная 4SH
Муфта обжимная 4SP-4SH
Муфта обжимная R13
Муфта обжимная R7
Фитинги для РВД
Фитинг BSP
Фитинг DKL
Фитинг DKO
Фитинг JIC
Фитинг NPTF
Фитинг ORFS
Фитинг метрический BANJO
Фитинг фланец SF
Запорно-регулирующая арматура
Дисковые затворы
Дисковые затворы с редуктором
Дисковые затворы с рукояткой
Затворы дисковые с пневмоприводом
Затворы дисковые с электроприводом
Привод воздух-пружина для дискового затвора
Штампосварные поворотные затворы с резиновым уплотнителем
Дисковые краны
Дисковый кран AWH резьба
Дисковый кран бабочка резьба-сварка
Дисковый кран сварка-сварка
Дисковый межфланцевый кран
Плавно переставляемая рукоятка для дискового крана
Стандартная рукоятка с шариком для дискового крана
Дроссели
Дроссели высокого давления
Дроссели редукционно-охладительных установок
Дроссели технологических линий под приварку
Титановые дроссели
Фланцевые дроссели с ручным управлением
Фланцевые дроссели технологических линий
Дроссельный вентиль
Задвижки из цветных металлов
Задвижки алюминиевые
Задвижки бронзовые
Задвижки латунные
Клапан
Балансировочный клапан
Запорные вентили-клапаны
Обратные поворотные клапаны
Обратный межфланцевый клапан
Обратный муфтовый клапан
Предохранительный клапан
Регулирующий вентиль-клапан
Тарельчатый обратный клапан резьба-сварка
Тарельчатый обратный клапан сварка-сварка
Шариковый обратный клапан
Стальные задвижки
Задвижка ЗМС
Задвижка с электроприводом
Задвижка шиберная со штурвалом
Клиновые задвижки
Нержавеющие задвижки
Шиберные задвижки
Фильтры
Грязевики
Муфтовый фильтр
Угловой трубчатый фильтр
Фланцевый фильтр
Шаровые краны
Двухкамерный шаровой кран резьба-резьба
Трехкамерный кран шаровой сварка-сварка
Трехкамерный кран шаровый резьба-резьба
Шаровые краны из цветных металлов
Шаровые краны с приводом
Шаровые краны с ручным управлением
Коаксиальные трубы и комплектующие
Коаксиальные опоры
Коаксиальные отводы 45 градусов
Коаксиальные отводы 90 градусов
Коаксиальные тройники
Коаксиальные трубы
Коаксиальные трубы с зонтом
Компенсаторы
Компенсатор для систем отопления
Компенсатор резиновый муфтовый
Компенсатор резиновый фланцевый
Компенсатор сильфонный осевой
Конические обечайки
Крепления трубопроводов
Закладные детали для трубопроводов
Крепежные изделия для трубопроводов
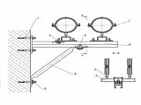
Крепление двух трубопроводов к колонне
Крепление двух трубопроводов к перекрытию
Крепление двух трубопроводов к стене
Крепление нескольких трубопроводов к перекрытию
Крепление одного трубопровода к железобетонной балке
Крепление одного трубопровода к перекрытию
Крепление трех и более трубопроводов
Крепление трех трубопроводов к перекрытию
Крепление трубопроводов к полу
Крепление четырех трубопроводов к железобетонной колонне
Крепления к балкам перекрытия на подвесках
Крепления к железобетонным колоннам
Крепления к кирпичным стенам
Крепления к металлическим площадкам
Крепления к ригелям на подвесках
Крепления к стеновым панелям
Крепления трубопроводов к металлическим колоннам
Крепления трубопроводов к плитам перекрытия
Опорные узлы для катковых блоков
Траверса металлическая подвесная
Траверса-балка металлическая подвесная
Шпильки для трубопроводов
Медные фитинги
Клапан Шредера
Медные заглушки под пайку
Медные крестовины
Медные крестовины под пайку
Медные муфты
Медные прямые муфты
Переходные двухраструбные муфты
Переходные однораструбные муфты
Медные отводы
Медное колено 180
Медное колено 45
Медный отвод 90
Медные переходы
Медные переходы с внутренней резьбой
Медные переходы с наружной резьбой
Медные угловые переходы с внутренней резьбой
Медные угловые переходы с наружной резьбой
Медные тройники
Медные обжимные тройники
Медные пресс тройники
Медные резьбовые тройники
Медные тройники под пайку
Медные фитинги для холодильного оборудования
Медная муфта
Медная переходная муфта
Медный тройник
Медный угольник
Медный угол
Обечайка чугунного люка
Оцинкованные обечайки
Полиэтиленовые фитинги
Полиэтиленовые втулки
Полиэтиленовые втулки ПЭ 100
Полиэтиленовые втулки ПЭ 80
Полиэтиленовые отводы
Полиэтиленовые отводы 45 градусов
Полиэтиленовые отводы 90 градусов
Полиэтиленовые переходы
Полиэтиленовые переходы ПЭ 100
Полиэтиленовые переходы ПЭ 80
Полиэтиленовые тройники
Полиэтиленовые переходные тройники
Полиэтиленовые равнопроходные тройники
Распылительные головки
Распылительная головка зажим
Распылительная головка резьба
Резьбовые предохранители для обсадных труб и муфт
Соединительные части
Соединительная часть GG
Соединительная часть GK
Стальные фитинги
Муфты
Боковые соединения
Кольцо Спейсер
Молочная муфта DIN
Молочная муфта SMS
Муфты для обсадных труб
Муфты для труб НКВ
Муфты хризотилцементные
Приварная муфта G3
Уплотнения для труб
Уплотнительные манжеты и переходники
Ниппель
Двойной ниппель для соединения труб
Приварной ниппель G2
Сварной ниппель с трубной резьбой
Переводники
Переводник переходный НКВ
Переходник нержавеющий H-SHB
Переходные футорки
Резьбовые угольники
Резьбовые угольники ВР/ВР
Резьбовые угольники ВР/НР
Сгоны для труб ВГП
Соединитель нержавеющий с внутренними резьбами H-SSA
Соединитель нержавеющий с наружными резьбами H-SNR
Стальной полусгон
Стальные американки
Американка ВР-ВР
Американка ВР-НР
Американка ВР-С
Американка НР-НР
Американка НР-С
Американка С-С
Американка угловая ВР-ВР
Американка угловая ВР-НР
Стальные патрубки
Конический патрубок
Приварной патрубок зажимного соединения CLAMP
Резьбовой патрубок
Штуцер нержавеющий CFC
Штуцер нержавеющий COM
Стальные цилиндрические обечайки
Судовые пружинные подвески
Тяга пружинная 1А
Тяга пружинная 2А
Сэндвич трубы и комплектующие
Оголовок
Оголовок с дефлектором
Оголовок-зонт
Одноконтурные дымоходы
Старт-сэндвич
Сэндвич трубы
Сэндвич-отводы 45 градусов
Сэндвич-отводы 90 градусов
Сэндвич-пластины опорные
Сэндвич-пластины опорные на перекрытие
Сэндвич-тройники 45 градусов
Сэндвич-тройники 90 градусов
Титановые воздуховоды
Титановые бандажи
Титановые дефлекторы
Титановые зонты
Титановые неравнопроходные Y-тройники
Титановые неравнопроходные косые тройники
Титановые односторонние переходы
Титановые патрубки присоединительные
Титановые переходы с круглого на прямоугольное сечение
Титановые переходы с круглого на прямоугольное сечение односторонние
Титановые продувочные трубы
Титановые проходы через перекрытия
Титановые равнопроходные Y-тройники
Титановые утки
Титановые утки переходы
Титановые фланцы
Титановые прямые участки
Титановые фитинги
Концентрический титановый переход
Сварной отвод из титана
Титановая поворотная заглушка
Титановые отводы
Титановый поплавок
Титановый тройник
Трубные опоры
Катковые опоры
Двухкатковая опора
Катковая двухъярусная опора
Катковая направляющая опора
Катковая опора трубопроводов ТЭС и АЭС
Катковая пружинная опора трубопроводов ТЭС и АЭС
Катковые обоймы для опор трубопроводов ТЭС и АЭС
Однокатковая опора
Стальная катковая опора
Корпусные опоры
Корпус на опорной балке для пружин
Корпус на опорной балке с проушинами
Корпусная приварная опора
Корпусная хомутовая неподвижная опора
Корпусная хомутовая подвижная опора
Неподвижные опоры
Мертвая опора
Неподвижная боковая опора
Неподвижная бугельная опора
Неподвижная бугельная хомутовая опора с корпусом
Неподвижная двухупорная опора
Неподвижная двухупорная усиленная опора
Неподвижная лобовая опора сальниковых компенсаторов
Неподвижная опора для вертикальных коробов
Неподвижная опора с плоским хомутом
Неподвижная опора трубопроводов ТЭС и АЭС
Неподвижная четырехупорная опора
Неподвижная четырехупорная усиленная опора
Неподвижная щитовая опора
Неподвижная щитовая усиленная опора
Неподвижные опоры для труб в ППУ
Сварные неподвижные опоры
Однорядные опоры
Однорядная опора с прерывистым основанием
Однорядная опора со сплошным основанием
Однорядная отдельная опора
Опора вертикальных трубопроводов
Опора для крепления арматуры
Опора крутоизогнутых отводов
Опора с сопровождением
Опора сварных отводов
Опоры ТПР
Опоры ТПР.04.01(2).00.000
Опоры ТПР.05.06(3).00.000
Опоры ТПР.05.11(4).00.000
Опоры ТПР.05.15(1).00.000
Опоры ТПР.05.18(1).00.000
Опоры ТПР.05.19(2).00.000
Опоры ТПР.05.21(1).00.000
Опоры ТПР.05.24(3).00.000
Опоры ТПР.05.29.00.000
Опоры ТПР.06.34(4).00.000
Опоры ТПР.07.35.00.000
Опоры ТПР.08.13.00.000
Опоры ТПР.08.17(2).00.000
Опоры ТПР.08.38.00.000
Опоры ТПР.08.71(1).00.000
Опоры ТПР.08.73(1).00.000
Опоры ТПР.10.14(1).00.000
Опоры ТПР.13.53(1).00.000
Опоры ТПР.14.05.00.000
Опоры ТПР.14.45.00.000
Подвижные опоры
Подвижная и направляющая опора в ППУ изоляции
Подвижная хомутовая опора
Стальная подвижная опора
Подпятники для трубопроводов
Приварные опоры
Приварная скользящая и неподвижная опора
Приварная скользящая направляющая опора
Приварная стальная опора
Приварная уголковая опора
Приварные неподвижные опоры
Приварные подвески на опорной балке с проушинами
Приварные скользящие опоры
Приварные скользящие-направляющие опоры
Разгрузочная опора
Регулируемые опоры трубопроводов
Сварные направляющие опоры
Скользящие опоры
Корпуса скользящих опор трубопроводов ТЭС и АЭС
Сварные скользящие опоры
Скользящая бескорпусная опора
Скользящая бугельная опора
Скользящая диэлектрическая опора
Скользящая и неподвижная опора
Скользящая и неподвижная опора с направляющим хомутом
Скользящая направляющая опора
Скользящая неподвижная опора
Скользящая опора без изоляции
Скользящая опора с направляющей скобой
Скользящая опора с плоским хомутом
Скользящая опора трубопроводов ТЭС и АЭС
Скользящая подкладная опора в футляре для труб в ППУ
Скользящая подкладная опора для труб в ППУ
Скользящая приварная опора
Скользящие опоры для трубы в ППУ
Стальная скользящая опора
Тавровые опоры
Тавровая приварная опора
Тавровая хомутовая неподвижная опора
Тавровая хомутовая подвижная опора
Трубчатые опоры
Стальная трубчатая опора
Трубчатая опора крутоизогнутых отводов
Хомутовые опоры
Двуххомутовые неподвижные опоры
Двуххомутовые скользящие опоры
Неподвижная хомутовая опора с корпусом
Однохомутовые неподвижные опоры
Однохомутовые скользящие опоры
Опора без изоляции с направляющим хомутом
Скользящая направляющая двуххомутовая опора
Скользящая направляющая хомутовая опора трубопроводов ТЭС и АЭС
Хомутовая бескорпусная неподвижная опора
Хомутовая бескорпусная подвижная опора
Хомутовые направляющие опоры
Хомутовые неподвижные опоры
Хомутовые опоры для трубопроводов
Хомутовые скользящие опоры
Шариковая опора
Швеллерные опоры
Швеллерная приварная опора
Швеллерные скользящие и неподвижные опоры
Элементы трубопроводных систем
Блоки для опор
Блоки приварные с накладкой подвесок горизонтальных стальных трубопроводов
Вилки для подвесок трубопроводов ТЭС и АЭС
Втулки для опор
Коромысла с тягами подвесок стальных трубопроводов
Лапа для вертикальных трубопроводов
Лапа с накладкой для вертикальных трубопроводов
Муфты для блоков подвесок вертикальных и горизонтальных трубопроводов
Муфты подвесок стальных трубопроводов
Накладки блоков приварных подвесок стальных трубопроводов
Накладки для подвесок трубопроводов
Опорные балки
Опорные плиты
Плавник с накладкой
Плавники для подвесок трубопроводов
Плавники приварные с накладкой
Планки для блоков подвесок горизонтальных трубопроводов
Плиты для блоков подвесок трубопроводов
Подвески для трубопроводов
Подвесная пружинная опора
Полухомуты для трубопроводов
Прокладки для трубопроводов
Прокладки для хомутовых блоков подвесок вертикальных трубопроводов
Прокладки для хомутовых блоков подвесок горизонтальных трубопроводов
Проушина с накладкой
Проушины для подвесок трубопроводов
Проушины подвесок стальных трубопроводов
Проушины с тягой подвесок стальных трубопроводов
Пружины винтовые цилиндрические для подвесок трубопроводов ТЭС и АЭС
Разгружающее устройство для блоков пружин
Серьги для подвесок трубопроводов
Серьги подвесок стальных трубопроводов
Скоба
Стаканы для установки пружин подвесок стальных трубопроводов
Талрепы для подвесок трубопроводов
Траверсы для подвесок трубопроводов
Тяги для опор
Упоры для блоков подвесок вертикальных трубопроводов
Упоры подвесок стальных трубопроводов
Ушки для подвесок трубопроводов
Хомуты для трубопроводов
Фасонные изделия в ППУ
Z-образный элемент в ППУ
Отводы в ППУ
Тройник в ППУ
Эксцентрический переход в ППУ
Фасонные части трубопроводов
Заглушки
Днища
Заглушка коническая TN192
Заглушка коническая с уплотнительным кольцом TN324
Заглушка с рукояткой
Заглушка с торцевым уплотнением под шестигранник в тело TN185GG M
Заглушка трубы и РВД с фитингами DKOL-S TN296
Заглушки эллиптические
Поворотные заглушки
Фланцевая заглушка
Отводы стальные
Крутоизогнутые отводы из черной и нержавеющей стали
Нержавеющие отводы
Оснащенные отводы
Отвод двойной T-образный
Отводы в ВУС изоляции
Отводы гнутые
Отводы сварные секторные
Стальной фланцевый отвод
Точеные отводы
Штампосварные отводы
Переходы
Концентрические переходы
Нержавеющие переходы
Переходы сварные
Стальной фланцевый переход
Точеный переход
Штампосварной переход ШПС
Эксцентрические переходы
Стальные кресты
Кресты фланцевые с пожарной подставкой ППКФ
Стальные фланцевые кресты
Тройник оцинкованный
Тройники
Нержавеющий равнопроходной тройник СТА
Оснащенные тройники
Стальной фланцевый тройник
Тройники бесшовные
Тройники сварные
Тройники точеные
Штампосварной тройник ТШС
Фланцы и фланцевые соединения
Заготовки для фланцев
Изолирующие фланцевые соединения
Отбортовка
Стальные прокладки для фланцев
Кольца Армко восьмиугольного сечения
Кольцо АРМКО овальное
Фланцы
Алюминиевый свободный фланец
Воротниковые фланцы
Глухой фланец
Переходный сварной фланец
Плоские фланцы
Резьбовой фланец
Свободные фланцы
Щелевая труба для углового фильтра
Элеваторы и комплектующие
Водоструйные элеваторы
Сопло для стакана чугунного элеватора
Стаканы для чугунного элеватора
Изоляция труб
ВУС-Изоляция
Гофрированная алюминиевая фольга
Заглушка в изоляции
Изоляция K-Flex трубчатая
Каучуковая синтетическая вспененная изоляция
Изоляция с алюминиевым покрытием
Самоклеющаяся рулонная изоляция
Самоклеющаяся с алюминиевым покрытием изоляция
Стандартная рулонная изоляция
Трубчатая изоляция
Кожухи для изоляции
Оболочки защитные съемные на врезки
Оболочки защитные съемные на теплоизоляционные плоские и эллиптические заглушки
Оболочки защитные съемные на теплоизоляционные фланцевые заглушки
Оболочки защитные съемные на теплоизоляционные фланцы
Оболочки конусные на емкости
Оболочки на теплоизоляционные отводы
Оболочки на теплоизоляционные отводы 30 градусов
Оболочки на теплоизоляционные отводы 45 градусов
Оболочки на теплоизоляционные отводы 60 градусов
Оболочки на теплоизоляционные отводы 90 градусов
Оболочки на теплоизоляционные переходы
Оболочки на теплоизоляционные тройники
Большие оболочки на теплоизоляционные переходные тройники
Большие оболочки на теплоизоляционные равнопроходные тройники
Оболочки на теплоизоляционные переходные тройники
Оболочки на теплоизоляционные равнопроходные тройники
Оболочки на теплоизоляционные цилиндры
Оболочки цеппелиновые на емкости
Композитные защитные футляры
Концевой элемент в ППУ-ОЦ, -ПЭ, -ПЭ-Б
Лента Лиам
Отводы теплоизоляционные
Теплоизоляционные отводы 30 градусов
Теплоизоляционные отводы 45 градусов
Теплоизоляционные отводы 60 градусов
Теплоизоляционные отводы 90 градусов
ППМ-Изоляция
ППУ - Изоляция
Скорлупа ППУ
рулоны K-Flex
Скорлупа ППС
Стекловолокно
Теплоизоляционные врезки
Теплоизоляционные переходы конические, концентрические
Теплоизоляционные тройники
Большие теплоизоляционные переходные тройники
Большие теплоизоляционные равнопроходные тройники
Теплоизоляционные переходные тройники
Теплоизоляционные равнопроходные тройники
Теплоизоляционные цилиндры
Кашированные цилиндры
Некашированные полуцилиндры
Некашированные цилиндры
Некашированные четверть цилиндры
Плоские цилиндры
Теплоизоляционный фланец
ЭП-Изоляция
Чугунный прокат
Арматура чугунная
Заглушка фланцевая чугунная
Колено чугунное
Колено раструб - гладкий конец чугунное
Колено раструб - фланец чугунное
Колено раструбное чугунное
Колено фланец - гладкий конец чугунное
Колено фланцевое чугунное
Контргайка из ковкого чугуна
Кресты чугунные
Кресты раструб-фланец чугунные
Кресты раструбные чугунные
Кресты фланец-раструб с пожарной подставкой чугунные
Кресты фланцевые с пожарной подставкой чугунные
Кресты фланцевые чугунные
Муфта чугунная
Ниппель из ковкого чугуна
Отводы чугунные
Отвод канализационный
Отвод раструб - гладкий конец чугунный
Отвод раструбный чугунный
Патрубки чугунные
Патрубки фланец - гладкий чугунные
Патрубки фланец - раструб чугунный
Патрубок компенсационный
Патрубок раструб с переходом на сталь чугунный
Переходы чугунные
Переходы раструб-фланец чугунные
Переходы раструбные чугунные
Переходы фланцевые чугунные
Пожарные подставки чугунные
Пожарные подставки раструбные чугунные
Пожарные подставки фланцевые чугунные
Раструб чугунный
Двойной раструб чугунный
Ревизия канализационная чугунная
Трап чугунный
Тройники чугунные
Косые чугунные тройники
Тройники раструб-фланец с пожарной подставкой чугунные
Тройники раструб-фланец чугунные
Тройники раструбные чугунные
Тройники фланцевые с пожарной подставкой чугунные
Тройники фланцевые чугунные
Чугунная канализационная заглушка
Чугунная канализационная прочистка-заглушка
Чугунная надвижная муфта
Чугунные задвижки
Задвижка клиновая чугунная с невыдвижным шпинделем
Задвижка клиновая чугунная фланцевая с невыдвижным шпинделем под электропривод
Задвижка клиновая чугунная фланцевая с невыдвижным шпинделем с редуктором
Задвижка с обрезиненным клином с невыдвижным шпинделем
Задвижки
Задвижки чугунные клиновые с выдвижным шпинделем
Чугунная параллельная двухдисковая задвижка с выдвижным шпинделем
Чугунные затворы
Затвор поворотный чугунный
Чугунные магнитные фильтры
Чугунные обратные двухстворчатые межфланцевые клапаны
Чугунные сетчатые фильтры
Чугунные шаровые краны
Чугунный отступ
Безраструбная канализация
Безраструбная заглушка
Безраструбная заглушка с прижимными скобами
Безраструбная чугунная заглушка
Безраструбная крестовина
Безраструбная крестовина двухплоскостная 88 гр
Безраструбная крестовина одноплоскостная 45 гр
Безраструбная крестовина одноплоскостная 70 гр
Безраструбная крестовина одноплоскостная 88 гр
Безраструбная опорная труба
Безраструбная пресс-заглушка
Безраструбная ревизия
Безраструбная ревизия с круглым отверстием
Безраструбная ревизия с прямоугольным отверстием
Безраструбная труба
Безраструбное опорное кольцо
Безраструбный отвод
Безраструбный короткий отвод 15 гр
Безраструбный короткий отвод 30 гр
Безраструбный короткий отвод 45 гр
Безраструбный короткий отвод 69 гр
Безраструбный короткий отвод 88 гр
Отвод 45 гр с удлиненной стороной
Отвод 88 гр из двух колен
Отвод 88 гр с удлиненной стороной
Отвод 88 гр с успокоительным участком
Безраструбный переход
Безраструбный переход на другие материалы konfix
Безраструбный чугунный переход
Безраструбный сифон
Безраструбный сифон ливневый
Безраструбный сифон универсальный
Безраструбный тройник
Безраструбный тройник 45 гр
Безраструбный тройник 69 гр
Безраструбный тройник 88 гр
Безраструбный фланец переходной
Безраструбный хомут высокой нагрузки HD
Воронка водосточная чугунная
Демонтажная вставка
Дождеприемники чугунные
Дробь чугунная
Дробь чугунная колотая
Дробь чугунная колотая улучшенная
Дробь чугунная литая
Дробь чугунная литая улучшенная
Колосниковые решетки
Крестовина чугунная раструбная
Лоток водоотводный с решёткой
Люки чугунные
Манжета к трубе чугунной
Решетка водоотводная
Трубы чугунные С (ЦПП, Без ЦПП)
Утяжелитель чугунный
Чугун
Чугун литейный
Чугун передельный
Чугунная труба ЧК
Чугунная чушка
Чугунные втулки
Чугунные колосники для котлов
Чугунные отливки
Чугунные радиаторы
10-секционный чугунный радиатор
12-секционный чугунный радиатор
3-секционный чугунный радиатор
4-секционный чугунный радиатор
7-секционный чугунный радиатор
Регистры отопления
Чугунный круг
Чугунный фланцевый патрубок под манометр
Сплавы
Баббиты
Кобальтовые сплавы
Кобальтовая проволока
Лист из кобальтового сплава
Магниты из кобальтового сплава
Полоса из кобальтового сплава
Пруток из кобальтового сплава
Фольга из кобальтового сплава
Легкоплавкие припои
Сплав Вуда
Сплав Гутри
Сплав Д'Арсе
Сплав Деварда
Сплав Липовитца
Сплав Ньютона
Сплав Розе
Лигатура
Лигатура алюминий
Лигатура алюминобариевая
Лигатура бор
Лигатура ванадий
Лигатура железо
Лигатура иттрий
Лигатура кобальт
Лигатура магний-неодим
Лигатура медь
Лигатура молибден
Лигатура никель
Лигатура ниобий-алюминий
Лигатура свинец
Лигатура ферроалюмоциркониевая
Лигатура хром-железо-никелевая
Лигатура хромалюминиевая
Лигатура цинк
Лигатура цирконий
Медно-никелевые сплавы
Алюмель
Лента алюмель
Лист алюмель
Проволока алюмель
Камелин
Лента камелин
Пруток камелин
Фольга камелин
Константан
Лента константан
Проволока константан
Пруток константан
Копель
Проволока копель
Пруток копель
Куниаль
Куниаль лента
Куниаль лист
Куниаль полоса
Куниаль пруток
Манганин
Лента манганин
Манганиновая фольга
Проволока манганин
Медно-никелевые изделия
Медно-никелевая лента
Медно-никелевая полоса
Медно-никелевая проволока
Медно-никелевая стружка
Медно-никелевые детали трубопроводов
Медно-никелевые трубы
Медно-никелевые фланцы
Медно-никелевый перфорированный лист
Медно-никелевый пруток
Мельхиор
Мельхиоровая лента
Мельхиоровая пластина
Мельхиоровая проволока
Мельхиоровая труба
Мельхиоровый лист
Мельхиоровый пруток
Монель
Круг Монель
Лента Монель
Монелевая труба
Монелевый лист
Проволока Монель
Пруток монель
Слиток Монель
Нейзильбер
Проволока нейзильбер
Проволока МНЖКТ5-1-0,2-0,2
Сплав МНЖ5-1
Лист МНЖ5-1
Полоса МНЖ5-1
Труба МНЖ5-1
Труба МНЖМц11-11-0.6
Хромель
Лента хромель
Проволока хромель
Платинитовая проволока
Прецизионные сплавы
Виброгасящие сплавы (демпфирующие)
Виброгасящий круг
Лента для каталитических нейтрализаторов
Лента для магнитной записи
Лента для нагревателей
Лента для постоянных магнитов
Лента для резисторов и деталей полупроводниковых изделий
Магнитная проволока
Магнитно-мягкие сплавы
Лента из магнитно-мягких сплавов
Лист из магнитно-мягких сплавов
Пермаллой
Пермендюр
Перменорм
Перминвар
Полоса из магнитно-мягких сплавов
Проволока из магнитно-мягких сплавов
Пруток из магнитно-мягких сплавов
Слиток из магнитно-мягких сплавов
Магнитно-твердые сплавы
Викаллой
Лента из магнитно-твердых сплавов
Лист из магнитно-твердых сплавов
Магнитно-твердая полоса
Проволока из магнитно-твердых сплавов
Пруток из магнитно-твердых сплавов
Слиток из магнитно-твердых сплавов
Немагнитные сплавы
Немагнитная лента
Немагнитная проволока
Немагнитный круг
Немагнитный лист
Постоянные магниты
Прецизионная труба
Прецизионная фольга
Прецизионные прочие сплавы
Проволока магнитная для записи гармонических сигналов
Сверхпроводящие сплавы
Слябы из прецизионных сплавов
Сплав с заданным ТКЛР
Инвар
Квадрат ТКЛР
Ковар
Лента ТКЛР
Лист ТКЛР
Платинит
Полоса ТКЛР
Проволока ТКЛР
Пруток ТКЛР
Слиток ТКЛР
Суперинвар
Труба ТКЛР
Сплавы с высоким электрическим сопротивлением
Квадрат из сплава с высоким электрическим сопротивлением
Ленты из сплава с высоким электрическим сопротивлением
Проволока из сплава с высоким электрическим сопротивлением
Пруток из сплава с высоким электрическим сопротивлением
Сплавы с высокой степенью проводимости при низких температурах
Сплавы с заданными свойствами упругости
Лента с заданными свойствами упругости
Лист с заданными свойствами упругости
Полоса с заданными свойствами упругости
Проволока с заданными свойствами упругости
Пруток с заданными свойствами упругости
Слиток с заданными свойствами упругости
Труба с заданными свойствами упругости
Элинвар
Проволока термопарная вольфрам-рениевая
Резистивные сплавы
Силумин
Силумин гранулы
Силумин чушка
Твердые сплавы
Вольфрамовые пластины
Пластины из сплавов с износостойким покрытием
Победитовые пластины
Титановольфрамовые пластины
Титанотанталовольфрамовые пластины
Ферросплавы
Мишметалл (Ферроцерий)
Силикокальций
Силикомарганец
Ферроалюминий
Ферроалюмониобий
Ферробор
Феррованадий
Ферровольфрам
Ферромарганец
Ферромолибден
Ферроникель
Феррониобий
Ферросера
Ферросиликованадий с марганцем
Ферросиликомагний
Ферросиликомарганец
Ферросиликотитан
Ферросиликохром
Ферросиликоцирконий
Ферросилиций
Ферротитан
Феррофосфор
Феррохром
Ферроцерий в стержнях
Фехраль
Резистивные сплавы(Фехраль)
Фехралевая проволока
Фехралевая сетка
Фехралевый пруток
ЦАМ
Сварочные материалы
Графитовые электроды
Кобальтовый наплавочный порошок
Припой
Присадочная проволока
Присадочный пруток
Проволока для металлизации
Проволока для сварки чугуна
Пруток для наплавки
Сварной кобальтовый пруток
Сварочная порошковая проволока VAUTID
Сварочная проволока из высоколегированной стали
Сварочная проволока из кобальтового сплава
Сварочная проволока из легированной стали
Сварочная проволока из низкоуглеродистой стали
Угольные электроды
Флюсовая паста
Флюсы
Электрод из кобальтового сплава
Электродная лента
Электроды для ответственных конструкций
Электроды для подводной сварки
Электроды для резки металла
Электроды для сварки алюминия
Электроды для сварки бронзы
Электроды для сварки высоколегированных сталей
Электроды для сварки жаропрочных сталей
Электроды для сварки нержавеющей стали
Электроды для сварки низколегированных сталей
Электроды для сварки разнородных сталей
Электроды для сварки углеродистых сталей
Электроды для сварки чугуна
Электроды для теплоустойчивых сталей
Электроды наплавочные
Электроды сварочные
Полимерные изделия
Акриловые стекла
Cатинированные литые акриловые листы
Акриловые листы для торцевой подсветки
Зеркальные экструзионные акриловые листы
Литые акриловые листы
Экструзионные акриловые листы
Амортизаторы резиновые
Амортизаторы приборные
Амортизаторы приборные резинометаллические пластинчатые
Амортизаторы приборные резинометаллические чашечные
Амортизаторы резиновые NRE
Амортизаторы резинометаллические двухпластинчатые
Виброизоляторы резиновые вентиляторные взрывозащищенные
Корабельные амортизаторы
Корабельные амортизаторы АКСС-И
Корабельные амортизаторы АКСС-М
Корабельные амортизаторы АКСС-МХ
Валы обрезиненные
Валы с резиновой обкладкой для текстильных машин
Валы с резиновым массивом для ленторазрывных машин
Обрезиненные валы
Винипласт
Герметик резиновый
Герметик анаэробный
Герметик битумно-полимерный аэродромный
Герметик битумно-резиновый аэродромный
Герметик битумный аэродромный
Герметик для приборов
Герметик кремнийорганический
Герметик полимерный аэродромный
Герметик полисульфидный
Герметик РТИ
Герметик тиоколовый
Герметик фторсилоксановый
Гетинакс лист
Гидроизолирующие материалы
Бризол
Изол
Грязесъемники для штоков
Диафрагмы и мембраны резиновые
Диафрагма резино-фторопластовая
Диафрагма резиновая
Мембрана резиновая для фильтр-прессов типа ФПАКМ
Мембрана резинотканевая тарельчатая для тормозной камеры
Капролон
Капролон блочный
Капролон круг
Капролоновая втулка
Капролоновый стержень
Капролон (полиамид 6) графитонаполненный стержень (черный)
Капролон (полиамид 6) маслонаполненный стержень (черный)
Капролон стержень
Листы и пластины капролона
Клеи резиновые
Кремнийорганический клей
Нитрильный клей
Перхлорвиниловый клей
Полимерный клей
Резиновый клей
Фенольно-каучуковый клей
Хлоропреновый клей
Эпоксидный клей
Кольца и втулки
Втулка МУВП
Кабельные проходные втулки
Кольца для баллонов
Кольца для фляг
Кольца резиновые для пожарной арматуры
Кольца уплотнительные
Кольцо МУВП
Кольцо резиновое для асбоцементных труб
Кольцо резиновое уплотнительное для бетонных труб
Кольцо резиновое уплотнительное для чугунных труб
Кольцо резиновое уплотнительное прямоугольного сечения
Кольцо резинотканевое нажимное
Кольцо резинотканевое опорное
Кольцо уплотнительное для труб ПВХ
Комплектующие для водопроводной арматуры и сантехники
Кольца силиконовые
Сантехнические прокладки прямоугольного сечения
Сантехнические профили
Комплектующие для горнодобывающей отрасли
Габаритные износостойкие плиты
Лифтер для рудоразмольных мельниц
Плита вагоноопрокидователя
Резиновая футеровка спирального классификатора
Резиновые пластины с металлической подложкой
Резиновые сита для грохотов
Футеровка мельницы ММС
Комплектующие для нефтегазовой промышленности
Обтираторы скважинные
Уплотнительные манжеты пакера
Шайбы ТПР
Комплектующие для сельского хозяйства
Бильные пальцы
Муфта МВА
Сосковая резина для доильных аппаратов
Тройник молочный
Трубка молочная
Угольник МВА
Шланг поливочный
Конвейерные ленты
Антистатические конвейерные ленты
Бесконечные конвейерные ленты
Износостойкие конвейерные ленты
Конвейерные ленты общего назначения
Ленты транспортера
Маслостойкие конвейерные ленты
Морозостойкие конвейерные ленты
Пищевые конвейерные ленты
Резинотканевые конвейерные ленты
Рифленые конвейерные ленты
Сборные конвейерные ленты
Специальные конвейерные ленты
Теплостойкие конвейерные ленты
Трудновоспламеняющиеся конвейерные ленты
Трудносгораемые конвейерные ленты
Электропроводящие конвейерные ленты
Ленты резиновые
Лента ЛЭТСАР
Резиновая лента изоляционная
Резиновая лента уплотнительнаяРезиновая лента уплотнительная
Резинотканевая лента
Тиоколовая лента
Листовой ПВХ
Вспененный листовой ПВХ
Белый вспененный листовой ПВХ
Цветной вспененный листовой ПВХ
Сплошной листовой ПВХ
Белый сплошной листовой ПВХ
Прозрачный сплошной листовой ПВХ
Листовой пластик АБС
Листовой полистирол
Декоративный листовой полистирол
Зеркальный листовой полистирол
Прозрачный листовой полистирол
Ударопрочный листовой полистирол
Листовой ПЭТ
Листовой САН
Манжеты РТИ
Резиновые манжеты
Резиновые армированные манжеты
Резиновые торцевые уплотнения
Резиновые уплотнительные манжеты
Резинотканевые манжеты
Резинотканевые армированные манжеты
Резинотканевые уплотнительные манжеты
Резинотканевые шевронные манжеты
Мастика РТИ
Замазка уплотнительная
Компаунд
Масса уплотнительная
Мастика битумно-резиновая
Мастика каучуковая
Мастика полиизобутиленовая
Мастика полимерно-битумная
Мастика тиоколовая
Паста герметизирующая
Оргстекло
Пенокартон
Белый и цветной пенокартон
Самоклеящийся пенокартон
Пенополистирольные плиты
Пластики для гравировки
Пластики для лазерной гравировки
Пластики для механической гравировки
Пластина эбонитовая
Плиты резиновые
Гидроплиты резиновые
Маты животноводческие
Плита железнодорожного переезда
Плита трамвайного переезда
Плиты Рездор
Покрытия резиновые
Брусчатка резиновая
Дорожка резиновая
Коврик резиновый грязезащитный
Коврик резиновый диэлектрический
Накладки противоскользящие
Плитка резиновая
Покрытие резинотканевое
Проступь резиновая
Полиамид
Полиамид гранулированный
Полиамид литьевой
Полиамид матированный
Полиамид спирторастворимый
Полиамид стеклонаполненный
Полиамид тальконаполненный
Полиамид угленаполненный
Сополимер полиамида
Экструзионный полиамид стержень рецикл
Экструзионный полиамид
Экструзионный полиамид стержень
Полиацеталь
Полиацеталь втулки
Полиацеталь пластина
Полиацеталь стержень
Полибутилен
Полиизобутилен в брикетах
Поликарбонаты
Сотовые поликарбонаты
Сплошные поликарбонаты
Полимерно-песчаные изделия
Арычный лоток полимерно-песчаный
Бордюр полимерно-песчаный
Полимерпесчаные колодцы
Люк полимерно-песчаный
Полимерно-песчаное днище для колодцев
Полимерно-песчаное кольцо для колодцев
Полимерпесчаный конус для колодца
Полимерные трубы
Полипропилен
Полипропиленовый ворс
Полипропиленовый лист
Полиуретан
Полиуретан пластины
Полиуретан стержень
Полиэтилен
Высокомолекулярный полиэтилен
Линейный полиэтилен
Металлоценовый полиэтилен
Полиэтилен высокой плотности
Полиэтилен низкой плотности
Полиэтилен очень низкой плотности
Полиэтилен сверхнизкой плотности
Сверхвысокомолекулярный полиэтилен
Сшитый полиэтилен
Полиэтиленовые трубы
Напорные полиэтиленовые трубы Протект 1075 ПЭ 100 КС
Напорные полиэтиленовые трубы Протект 1075 ПЭ 100 КС для газопроводов
Обсадная труба ПВХ для скважин
Термостойкие полиэтиленовые трубы
Трубы напорные для водоснабжения и канализации ПЭ 100
Трубы ПВД
Трубы ПНД технические полиэтиленовые
Трубы полиэтиленовые газовые ПЭ80, ПЭ100
Трубы полиэтиленовые напорные ПЭ80 для водоснабжения и канализации
Полоса силиконовая для сквиджа
Прокладки резиновые железнодорожные
Подрельсовые и нашпальные прокладки прочие
Подрельсовые и нашпальные прокладки тип ЦП
Резиновая крошка
Резиновые прокладки
Резиновые прокладки кольцевые
Резиновые прокладки круглого сечения
Резиновые прокладки круглые
Резиновые прокладки плоские
Резиновые прокладки прямоугольного сечения
Резиновые прокладки прямоугольные
Резинотканевые прокладки полые круглого сечения
Резиновые технические пластины
Авиационные пластины
Атмосферомаслостойкая пластина
Вакуумные пластины
Вакуумная листовая пластина
Вакуумная рулонная пластина
Вибродемпфирующие пластины
Диэлектрические силиконовые пластины
Маслобензостойкие пластины
Маслобензостойкая листовая пластина
Маслобензостойкая рулонная пластина
Пищевые пластины
Пищевая листовая пластина
Пищевая рулонная пластина
Силиконовый коврик для мармелада
Пластины для использования в агрессивной среде
Пластины для штампов
Пластины ДСТ
Полиизобутиленовые пластины
Тепломорозокислотощелочестойкие пластины
Тепломорозокислотощелочестойкая листовая пластина
Тепломорозокислотощелочестойкая рулонная пластина
Термостойкие силиконовые пластины
Технические губчатые пластины
Технические пористые пластины
Фторсиликоновая пластина
Резиновый порошок
Резиноткани
Мембранное полотно
Прорезиненная ткань
Резиностеклоткань
Резиностеклоткань РЭТСАР
Ремни резиновые
Ремень вариаторный клиновой
Ремень вентиляторный клиновой
Ремень приводной клиновой
Ремень приводной многоручьевой
Ремень приводной плоский
Ремень приводной поликлиновой
Ремень приводной с металлокордом
Ремень транспортера
Ремень элеватора
РТИ для электроэнергетической промышленности
Втулки уплотнительные кабельного ввода ВКУ
Масляные прокладки и уплотнители для силовых трансформаторов
Пластина трансформаторная листовая
Пластина трансформаторная рулонная
Полосы и шнуры трансформаторные
Трубки электроизоляционные ТКР
Уплотнения для гидротехнических сооружений
Шайбы уплотнительные для масляных трансформаторов
Рукава резиновые
Рукав для сварки
Рукав для систем охлаждения
Рукав резиновый армированный
Рукав резиновый класс А
Рукав резиновый класс В
Рукав резиновый напорно-всасывающий
Рукав резиновый общего назначения
Рукав резиновый с металлической оплеткой
Рукав резиновый с нитяной оплеткой
Рукав резиновый с нитяным каркасом
Рукав резиновый с нитяным усилением
Рукав резиновый с присоединительной арматурой
Рукав резиновый с текстильным каркасом
Рукав резинотканевый
Рукав с текстильным усилением
Силиконовые профили
Катодная планка
Профили бытового назначения
Профили для строительных конструкций
Профили уплотнительные
Термостойкие силиконовые профили
Силиконовые резиновые смеси
Кабельные силиконовые резиновые смеси
Маслобензостойкие силиконовые резиновые смеси
Маслостойкие cиликоновые резиновые смеси
Силиконовые резиновые смеси общего назначения
Силиконовые резины с повышенной термостойкостью
Силиконовые резины с повышенными прочностными характеристиками и высоким раздиром
Силиконовые смеси для прессовых изделий
Силиконовые смеси для экструзионных изделий
Смеси резиновые невулканизированные товарные
Токопроводящие силиконовые смеси
Смеси резиновые
Сотовый полипропилен
Стекломагниевый лист
Стеклотекстолит
Стержень эбонитовый
Термоусадочная трубка
Тормозная лента
Трубки резиновые
Вакуумные трубки
Резиновые трубки
Силиконовые трубки
Трубка резиновая армированная латунной сеткой
Трубка резиновая вакуумная
Трубка резиновая диэлектрическая
Трубка резиновая для велосипедных насосов
Трубка резиновая для двигателей
Трубка резиновая для защиты кабелей
Трубка резиновая кислотощелочестойкая
Трубка резиновая маслобензостойкая
Трубка резиновая морозостойкая
Трубка резиновая пищевая
Трубка резиновая теплостойкая
Трубка резиновая техническая
Трубка резиновая унифицированная
Трубка резиновая экранирующая
Трубка резиновая электроизоляционная
Трубка эластомерная электроизоляционная
Трубки резиновые медицинские
Трубка резиновая медицинская вакуумная
Трубка резиновая медицинская для кислородных подушек
Трубка резиновая медицинская дренажная
Трубка резиновая медицинская слуховая
Трубка резиновая медицинская соединительная
Трубка силиконовая медицинская нестерильная
Фторопласт
Листы фторопласта
Фторопласт стержень
Фторопластовая лента
ФУМ жгут
ФУМ жгут круглого сечения
ФУМ жгут прямоугольного сечения
Шланги резиновые
Шланг резиновый армированный напорно-всасывающий
Шланг резиновый армированный подающий
Шланг резиновый армированный с крышкой
Шланг резиновый армированный с резиновым чехлом
Шланг резиновый двойной для газовой сварки
Шланг резиновый с накидными гайками
Шнуры резиновые
Вакуумные шнуры
Гернитовые шнуры
Круглые резиновые шнуры
Прямоугольные резиновые шнуры
Резиновые вакуумные шнуры
Резиновые вакуумные квадратные шнуры
Резиновые вакуумные круглые шнуры
Резиновые вакуумные прямоугольные шнуры
Резиновые кислотощелочестойкие шнуры
Резиновые кислотощелочестойкие квадратные шнуры
Резиновые кислотощелочестойкие круглые шнуры
Резиновые кислотощелочестойкие прямоугольные шнуры
Резиновые маслобензостойкие шнуры
Резиновые маслобензостойкие квадратные шнуры
Резиновые маслобензостойкие круглые шнуры
Резиновые маслобензостойкие прямоугольные шнуры
Резиновые морозостойкие шнуры
Резиновые морозостойкие квадратные шнуры
Резиновые морозостойкие круглые шнуры
Резиновые морозостойкие прямоугольные шнуры
Резиновые особо мягкие шнуры
Резиновые особо мягкие квадратные шнуры
Резиновые особо мягкие прямоугольные шнуры
Резиновые особо мягкие трапециевидные шнуры
Резиновые пищевые шнуры
Резиновые пищевые квадратные шнуры
Резиновые пищевые круглые шнуры
Резиновые пищевые прямоугольные шнуры
Резиновые самолетные круглые шнуры
Резиновые теплостойкие шнуры
Резиновые теплостойкие квадратные шнуры
Резиновые теплостойкие круглые шнуры
Резиновые теплостойкие прямоугольные шнуры
Резиновые унифицированные шнуры
Резиновые унифицированные квадратные шнуры
Резиновые унифицированные круглые шнуры
Резиновые унифицированные прямоугольные шнуры
Резиновые уплотнительные шнуры
Резиновые уплотнительные квадратные шнуры
Резиновые уплотнительные круглые шнуры
Резиновые уплотнительные прямоугольные шнуры
Силиконовые шнуры
Круглые силиконовые шнуры
Прямоугольные силиконовые шнуры
Силиконовые шнуры для светильников LED
Уплотнительные шнуры из особо мягкой резины
Композитные материалы
Алюминиевые композитные панели
Композитная арматура
Композитные трубы
Стеклопластиковые трубы
Трубы из базальтового волокна
Трубы из углеродного волокна
Контактная пластина
Текстолит
Листовой текстолит
Текстолит стержень
Электротехнический листовой текстолит
Уплотнительная спеченная лента
Эбонит
Эбонит лист
Эбонит стержень
Эбонит трубка
Кабель
Автомобильный провод
Бортовой кабель
Взрывной кабель
Водопогружной кабель
Высокочастотный кабель
Грозотрос
Жилы токопроводящие
Гибкие жилы
Многопроволочные гибкие жилы
Многопроволочные жилы
Однопроволочные жилы для больших сечений
Изоляция кабелей
Алюмофлекс
Оцинкованный металлорукав
Кабель дальней связи
Кабель для компьютерных сетей
Кабель для щеток электрических машин
Кабель управления
Контрольный кабель
Монтажный кабель
Нефтепогружной кабель
Обмоточные провода
Обмоточный круглый медный провод с эмалевой изоляцией
Провод обмоточный алюминиевый круглый
Провод обмоточный алюминиевый прямоугольный
Провод обмоточный прямоугольный медный
Провод обмоточный с бумажной изоляцией
Провод обмоточный с уплотненной бумагой
Провод для подвижного состава
Провод для радиоустановок
Провод контактный
Провод неизолированный
Противопожарный кабель
Радиочастотный кабель
Самонесущий изолированный провод
Сигнализационный кабель
Силовой кабель
Силовые гибкие кабели
Силовые кабели с бумажной изоляцией
Силовые кабели с пластмассовой изоляцией
Соединительный кабель
Станционный кабель
Стационарный кабель
Судовой кабель
Телефонный кабель
Теплостойкий монтажный провод
Термостойкий кабель
Термоэлектродный кабель
Универсальный кабель
Установочный провод
Шахтный кабель
Электроды анодного заземления
Метизы
Анкерные плиты
Литая анкерная плита
Сварные анкерные плиты
Составные анкерные плиты
Стальные анкерные плиты
Анкерные тяги
Анкерная тяга резьбовая с муфтой
Анкерная тяга с накладками
Анкерная тяга с проушиной
Плоская анкерная тяга
Арматурные каркасы
Арматурные каркасы для свай
Объемные арматурные каркасы (пространственные)
Плоские арматурные каркасы для фундамента
Фиксаторы "Змейка" для арматуры и сеток
Высокопрочный крепеж
Алюминиевые шайбы
Высокопрочная гайка
Высокопрочная шайба
Высокопрочные шпильки
Высокопрочный болт
Медные шайбы
Зажимы для стальных канатов
Латунные заклепки
Латунные заклепки с полукруглой головкой
Латунные заклепки с потайной головкой
Медные гвозди
Медные заклепки
Медная вытяжная заклепка
Медные заклепки с плоской головкой
Медные заклепки с полукруглой головкой
Медные заклепки с потайной головкой
Нержавеющие вытяжные заклепки
Стальные гайки
Глухая гайка
Глухая гайка в сборе
Шлицевая гайка
Стальные оцинкованные шпильки
Фундаментные анкерные блоки
Фундаментные болты
Болт фундаментный прямой тип 5.1
Болт фундаментный с коническим концом тип 6.1
Болт фундаментный с коническим концом тип 6.2
Болт фундаментный с коническим концом тип 6.3
Болты фундаментные изогнутые тип 1.1
Болты фундаментные изогнутые тип 1.2
Болты фундаментные с анкерной плитой тип 2.1
Болты фундаментные составные тип 3.1
Болты фундаментные составные тип 3.2
Болты фундаментные составные тип 4.1
Болты фундаментные составные тип 4.2
Болты фундаментные составные тип 4.3
Болты фундаментные тип 2.2
Болты фундаментные тип 2.3
Футеровочные болты (бронеболты)
Шпильки фланцевые
Закладные детали
Закладные детали ФМ
Закладные изделия МН по серии 1.400-15
МН 101-164 изделие
МН 201-228 изделие
МН 301-325 изделие
МН 401-418 изделие
МН 501-522 изделие
МН 523-538 изделие
МН 539-540 изделия
МН 541-554 изделие
МН 555-557 изделие
МН 558-565 изделия
МН 566-571 изделие
МН 601-615 изделие
МН 616-617 изделие
МН 701-775 изделие
МН 776-795 изделие
МН 801 изделие
МН 802-834 изделие
Фиксаторы арматуры
Защитная крышка для арматуры
Фиксаторы арматуры звездочка
Фиксаторы арматуры кольцо
Фиксаторы арматуры кубик
Фиксаторы арматуры многоуровневые
Фиксаторы арматуры настил
Фиксаторы арматуры стойка турецкая
Фиксаторы арматуры стульчик
Фиксаторы арматуры треугольник
Конструкции для трубопроводов
Конструкции для балластировки трубопроводов
Бункерное устройство для заполнения текстильных контейнеров
Мягкие соединительные пояса
Пластиковые балластировочные утяжелители УБП, ПКУ
Полимерно-контейнерное балластирующее устройство
Текстильный контейнер из технической ткани
Конструкции для защиты изоляционного покрытия трубопроводов
Защитные коврики для УБО и УБКМ
Скальный лист
Уплотнительный коврик из скального листа для УТК и ЧГ
Футеровочные маты для УБО
Футеровочные полотенца
Конструкции для очистки полости трубопроводов
Поршень полиуретановый дисковый
Поршень полиуретановый манжетно-дисковый
Поршень полиуретановый манжетный
Поршни пенополиуретановые литые ППЛ, ППЛ-М
Конструкции для сварки трубопроводов
Подогреватели стыков трубопроводов
Термозащитные пояса для защиты трубы от сварочных брызг
Термоизолирующие пояса для предотвращения преждевременного охлаждения сварочного шва
Конструкции для строительства переходов трубопроводов
Герметизирующие манжеты ГМР и ГМНР
Герметизирующие резинотканевые манжеты
Защитные прокладки из скального листа под ОНК
Защитные резинотканевые прокладки под ОНК
Опорно - направляющие кольца
Опорно - центрирующие кольца
Укрытие защитное герметизирующей манжеты
Противоэрозионные конструкции
Противоэрозионные полотенца
Противоэрозионный контейнер
Железобетонные изделия
Железобетонные колодцы (ЖБИ)
Бетонные кольца для колодцев
Кольца ЖБИ
Кольца конические колодцев
Кольцо опорное для колодцев
Дорожные плиты колодцев
Круглые плиты перекрытий колодцев
Опорные плиты колодцев
Плиты днища колодцев
Железобетонные плиты
Анкерно-опорные плиты
Железобетонные анкерные плиты
Железобетонные плиты перекрытий
Железобетонные утяжелители для трубопроводов
Железобетонные утяжелители УБГ
Железобетонные утяжелители УБКм
Железобетонные утяжелители УБО
Железобетонные утяжелители УБП
Железобетонные утяжелители УБТ
Железобетонные утяжелители УТК
Лотки ЖБИ
Трубы железобетонные
Труба железобетонная безнапорная
Труба железобетонная напорная
Электрооборудование
Услуги
Резка металла
Цинкование металла
Сварка металла
Защитное покрытие
Поставщики
Доставка
Компания
Вакансии
Политика конфиденциальности
Новости
Сертификаты
Контакты
Доставка
Доставка
Поставщики
+7 (771) 800 20 01
Заказать звонок
Каталог товаров
Цветной прокат и сплавы
Алюминиевый прокат
Алюминиевый лист
Лист алюминиевый ПВЛ
Рифленый алюминиевый лист
Алюминиевый перфорированный лист
Алюминиевый профнастил
Алюминиевая плита
Алюминиевая шина
Алюминиевая лента
Алюминиевый рулон
Алюминиевая фольга
Алюминиевая труба
Труба алюминиевая холоднодеформируемая
Труба алюминиевая электросварная
Алюминиевая профильная труба
Алюминиевая прессованная труба
Продольно-оребренные алюминиевые трубы
Алюминиевый круг
Алюминиевый пруток
Сварочный алюминиевый пруток
Алюминиевая проволока
Проволока алюминиевая электротехническая
Проволока алюминиевая для холодной высадки
Проволока алюминиевая для воздушных линий электропередач
Заклепочная алюминиевая проволока
Сварочная алюминиевая проволока
Сварочная порошковая алюминиевая проволока
Катанка алюминиевая
Алюминиевый квадрат
Алюминиевый шестигранник
Алюминиевая декоративная сетка
Алюминиевый тавр
Алюминиевый двутавр
Алюминиевый ш-образный профиль
Алюминиевый швеллер
Алюминиевый прессованный профиль
Бульбопрофиль
Алюминиевый полособульб
Алюминиевый уголок
Анодированный алюминий
Алюминиевая чушка
Переходные пластины АП
Алюминиевые втулки
Алюминиевые уплотнительные прокладки
Алюминиевая керноприемная труба
Алюминиевая полоса
Алюминиевые бульбоугольники
Алюминиевые крышки люков цистерн
Алюминиевый типографский лист
Шары из алюминия
Бронзовый прокат
Бронзовый лист
Бронзовая плита
Бронзовая полоса
Бронзовая шина
Бронзовая лента
Бронзовая фольга
Бронзовый круг
Бронзовый пруток
Бронзовые трубы
Бронзовый квадрат
Бронзовый шестигранник
Бронзовая сетка
Бронзовая проволока
Бронзовая втулка
Бронзовые отливки
Бронзовая чушка
Бронзовые поковки
Бронзовые шайбы
Бронзовый вкладыш
Ванадиевый прокат
Ванадиевый лист
Лента ванадиевая
Плита ванадиевая
Полоса ванадиевая
Фольга ванадиевая
Круг ванадиевый
Ванадиевый пруток
Ванадиевая проволока
Ванадиевый слиток
Ванадий металлический
Вольфрамовый прокат
Вольфрамовый лист
Вольфрамовая полоса
Вольфрамовая фольга
Вольфрамовая лента
Вольфрамовый пруток
Вольфрамовая труба
Вольфрамовые заготовки
Вольфрамовая проволока
Вольфрамовая нить
Вольфрамовый электрод
Вольфрамовые тигли
Вольфрамовая лодочка
Вольфрамовый штабик
Вольфрамовый слиток
Вольфрамовый диск
Вольфрамовая спица
Вольфрамовые контакты
Гафниевый прокат
Гафниевый лист
Гафниевая полоса
Гафниевая фольга
Гафниевый пруток
Гафниевая проволока
Гафниевый слиток
Йодидный гафний
Гафниевая лента
Дюралюминиевый прокат
Дюралевый лист
Дюралевый рифленый лист
Дюралевая полоса
Дюралевая плита
Дюралевая лента
Дюралевая труба
Дюралевый круг
Дюралевый пруток
Дюралевая проволока
Дюралевый квадрат
Дюралевый шестигранник
Дюралевый уголок
Дюралевый швеллер
Дюралевая болванка
Латунный прокат
Латунный круг
Латунный пруток
Латунный лист
Латунная плита
Латунная полоса
Латунные пластины
Латунная лента
Латунная фольга
Латунная проволока
Латунная катанка
Латунный квадрат
Латунный шестигранник
Латунная труба
Волноводная латунная труба
Латунная сетка
Латунная чушка
Латунная втулка
Латунный профиль
Металлокорд
Латунный анод
Латунная шина
Латунная электроэрозионная проволока
Латунные вкладыши
Магниевый прокат
Магниевый лист
Магниевая плита
Магниевые пластины
Магниевый пруток
Магниевая проволока
Магниевая лента
Магниевые поковки
Магниевые слитки
Магниевые штамповки
Медный прокат
Медный лист
Рандоль листовой
Медная плита
Медная полоса
Медная шина
Медная изолированная шина
Медная лента
Медная кровельная лента
Медная лента DEVI
Медный рулон
Фольга медная
Медный круг
Медный пруток
Сварочный медный пруток
Медная труба
Медные трубы в изоляции
Медная труба для кондиционеров
Дюймовые трубы
Медная капиллярная трубка
Труба медная профильная
Волноводная медная труба
Медный квадрат
Медный брусок
Медный шестигранник
Медная сетка
Медная проволока
Сварочная медная проволока
Медная катанка
Катанка медная для электротехнических целей
Электроды для сварки меди
Медь в слитках чушках
Медные аноды
Медь катодная
Медь фосфористая
Переходные пластины МА
Луженые медные переходные пластины
Медная втулка
Медные уплотнительные прокладки
Судовые красномедные прокладки
Бескислородная медь в палочках
Медные наконечники
Медная поковка
Молибденовый прокат
Молибденовый лист
Молибденовая полоса
Молибденовая лента
Молибденовая фольга
Молибденовый пруток
Молибденовая труба
Молибденовая проволока
Молибденовый диск
Молибденовые заготовки
Молибденовый штабик
Молибденовые изделия
Молибденовая лодочка
Молибденовые тигли
Молибденовая нить
Никелевый прокат
Никелевый лист
Никелевая полоса
Никелевая лента
Никелевые трубы
Никелевый круг
Никелевый пруток
Никелевая проволока
Никелевая сетка
Никелевая фольга
Никелевая пластина
Никелевый анод
Никелевый катод
Гранулированный никель
Никелевая дробь карбонильная
Ниобиевый прокат
Ниобиевый лист
Ниобиевая полоса
Ниобиевая лента
Ниобиевая труба
Ниобиевый круг
Ниобиевый пруток
Ниобиевая проволока
Ниобиевая фольга
Ниобиевый штабик
Ниобиевая высечка
Ниобиевые таблетки
Ниобиевая чешуйка
Аноды с алмазным покрытием
Платинированные ниобиевые аноды
Нихромовый прокат
Нихромовый лист
Лента нихромовая
Круг нихромовый
Нихромовый пруток
Сетка нихромовая
Нихромовая проволока
Нить нихромовая
Нихромовый провод
Хромовая мишень
Хромовый брикет
Оловянный прокат
Оловянный лист
Оловянная фольга
Оловянный круг
Оловянный пруток
Оловянная проволока
Оловянный анод
Оловянный баббит
Оловянная лента
Рениевый прокат
Рениевый пруток
Рениевая проволока
Рениевая фольга
Рениевые заготовки
Рениевый штабик
Свинцовый прокат
Свинец в палочках
Свинцовая дробь
Свинцовая проволока
Свинцовая роль
Свинцовые муфты
Свинцовые пломбы
Свинцовые трубы
Свинцовый анод
Свинцовый кирпич
Свинцовый круг
Свинцовый лист
Свинцовый пруток
Танталовый прокат
Танталовый лист
Танталовая полоса
Танталовая лента
Танталовая фольга
Танталовая трубка
Танталовый пруток
Танталовая проволока
Танталовый слиток
Титановый прокат
Титановый лист
Титановая плита
Титановая шина, полоса
Титановая лента
Титановая фольга
Титановая карточка
Титановые пористые пластины
Титановый круг
Титановый пруток
Титановая труба
Титановый профиль
Нитиноловая труба
Заготовка из титана
Титановая поковка
Титановая проволока
Нитиноловая проволока
Титановая сварочная проволока
Нитиноловая пружина
Титановая катушка
Титановые кольца
Титановая мишень
Титановый квадрат
Титановый шестигранник
Титановая сетка
Титановые слитки
Титановые отливки
Титановые емкости
Титановая ёмкость нейтрализации растворов
Анодная корзина из титана
Титановый компенсатор трубы
Титановый блин под фланец
Титановый барботёр
Крепежная стойка из титана
Реактор из титана
Титановый импеллер
Титановая клипса
Титановая губка
Аноды экранирующие
Платинированные титановые аноды
Титановая катанка
Титановый уголок
Цинковый прокат
Цинковый лист
Цинковая полоса
Цинковая фольга
Цинковые пластины
Цинковая проволока
Цинковый анод
Циркониевый прокат
Циркониевый лист
Циркониевая лента
Циркониевая фольга
Циркониевая труба
Циркониевый пруток
Циркониевая проволока
Нержавеющий прокат
Нержавеющий лист
Цветные нержавеющие листы
Бирюзовый нержавеющий лист
Золотой нержавеющий лист
Розовый нержавеющий лист
Синий нержавеющий лист
Черный нержавеющий лист
Нержавеющий перфорированный лист
Нержавеющий перфорированный лист Qg 1х2 м
Нержавеющий перфорированный лист Rv 1х2 м
Нержавеющие декоративные листы
Нержавеющий объемный лист
Нержавеющий текстурированный лист
Нержавеющий узорный лист
Нержавеющий шлифованный лист
Нержавеющий рифленый лист
Нержавеющая плита
Нержавеющая полоса
Нержавеющие карточки
Нержавеющий рулон
Рулонный подкат
Нержавеющая лента
Нержавеющая сварочная лента
Нержавеющий круг
Круг декоративный
Пруток нержавеющий
Сварочный нержавеющий пруток
Нержавеющие трубы
Трубы теплодеформированные из коррозионностойкой стали
Нержавеющая капиллярная трубка
Нержавеющие перфорированные трубы
Труба декоративная
Нержавеющая трубопроводная арматура
Запорно-регулирующая арматура из нержавеющей стали
Нержавеющие детали
Нержавеющие фитинги
Фасонные части трубопроводов из нержавеющей стали
Нержавеющая проволока
Нержавеющая сварочная проволока
Нержавеющий трос
Нержавеющая сетка
Нержавеющая просечно-вытяжная сетка
Рифленая нержавеющая сетка
Нержавеющий квадрат
Нержавеющий шестигранник
Нержавеющая поковка
Нержавеющий швеллер
Нержавеющий уголок
Нержавеющие трапы
Нержавеющие трапы с вертикальным выпуском
Нержавеющие трапы с горизонтальным выпуском
Коррозионностойкие отливки
Нержавеющее кольцо
Шпоночный прокат нержавеющий
Нержавеющая дробь
Пористые материалы
Пористая лента
Пористый лист
Люки Manhole Covers
Люки Manhole Covers квадратные
Люки Manhole Covers круглые
Нержавеющая заготовка
Нержавеющая фильтровая сетка
Нержавеющие втулки
Нержавеющие втулки резьбовые
Нержавеющие втулки резьбовые шестигранные
Нержавеющие листы с покрытием нитрид титана
Голубой нержавеющий лист с покрытием оксид титана
Золотой нержавеющий лист с покрытием нитрид титана
Медный нержавеющий лист с покрытием карбонитрид титана
Нержавеющие водоотводы
Нержавеющие линейные водоотводы
Нержавеющие точечные водоотводы
Нержавеющие уловители водоотвода
Нержавеющие профильные трубы
Нержавеющие профильные квадратные трубы
Нержавеющие профильные прямоугольные трубы
Нержавеющие электросварные трубы
Нержавеющий просечно-вытяжной лист
Специальные стали
Автоматная сталь
Автоматная плита
Автоматный квадрат
Автоматный круг
Автоматный лист
Автоматный шестигранник
Биметаллический прокат
Биметаллическая лента
Биметаллическая полоса
Биметаллическая проволока
Биметаллические листы
Биметаллические оребренные трубы
Биметаллические плиты
Термобиметаллическая лента
Броневая сталь
Бронелист
Быстрорежущая сталь
Брусок из быстрорежущей стали
Быстрорежущий круг
Квадрат быстрорез
Лист быстрорез
Полоса быстрорез
Проволока быстрорез
Труба быстрорез
Жаропрочные стали
Жаропрочная заготовка
Жаропрочная карточка
Жаропрочная плита
Жаропрочная поковка
Жаропрочная полоса
Жаропрочная проволока
Жаропрочная сутунка
Жаропрочные трубы
Жаропрочный квадрат
Жаропрочный круг
Жаропрочный лист
Жаропрочный пруток
Жаропрочный шестигранник
Лента жаропрочная
Отливки из жаропрочной стали
Стальной башмак порога печи
Инструментальная сталь
Валковая сталь
Инструментальная лента
Инструментальная плита
Инструментальная поковка
Инструментальная полоса
Инструментальная проволока
Инструментальный квадрат
Инструментальный круг
Инструментальный лист
Конструкционная сталь
Конструкционная стальная плита
Конструкционный стальной круг
Конструкционный стальной лист
Поковка круглая
Прямоугольная поковка
Стальная лента
Стальная полоса
Стальная проволока
Стальная труба
Стальной легированный шестигранник
Стальной уголок
Стальные квадраты
Криогенный прокат
Криогенная плита
Криогенная полоса
Криогенные трубы
Криогенный квадрат
Криогенный круг
Криогенный лист
Мостовая сталь
Мостостроительный лист
Никельсодержащая сталь
Никельсодержащая полоса
Никельсодержащий квадрат
Никельсодержащий круг
Никельсодержащий лист
Никельсодержащий уголок
Никельсодержащий шестигранник
Пищевая сталь
Пищевая плита
Пищевая полоса
Пищевая сетка
Пищевая труба
Пищевой квадрат
Пищевой круг
Пищевой лист
Подшипниковая сталь
Подшипниковая полоса
Подшипниковые трубы
Подшипниковый квадрат
Подшипниковый круг
Подшипниковый шестигранник
Рессорно-пружинные стали
Рессорно-пружинная плита
Рессорно-пружинная полоса
Рессорно-пружинный квадрат
Рессорно-пружинный круг
Рессорно-пружинный лист
Рессорно-пружинный шестигранник
Трубы из рессорно-пружинной стали
Судостроительная сталь
Зажим для стального троса
Киповая планка с роульсом
Колонна роликовых направляющих
Морская скоба
Морская фанера
Морской клюз
Панамский клюз
Полособульб
Роликовые клюзы для якорных цепей
Стопор якорной цепи
Судовая полоса
Судовой лист
Талреп
Уголок для судостроения
Якоря
Штамповая сталь
Штамповая полоса
Штамповой квадрат
Штамповой круг
Штамповые трубы
Электротехническая сталь
Электротехническая анизотропная лента
Электротехническая изотропная лента
Электротехнические заготовки
Электротехнический круг
Электротехнический лист
Черный прокат
Листовой прокат
Асбестоцементные плиты
Асбоцементный лист
Горячекатаные пластины
Горячекатаный лист
Жесть
Износостойкий лист
Кованая плита
Котельный лист
Легированный лист
Лист оцинкованный
Лист просечно-вытяжной ПВЛ
Лист рифленый ромбический
Лист рифленый стальной
Лист стальной повышенной прочности
Лист холоднокатаный
Металлошифер простой, оцинкованный
Низколегированный лист
Окрашенный лист
Окрашенный оцинкованный лист
Омедненная просечка
Оцинкованный рулон
Перфорированный лист
Полоса высечка
Рулон с полимерным покрытием
Стальные тонкие листы
Углеродистый лист
Металлический сайдинг
Проволока
Калиброванная проволока
Канатная скребковая проволока
Катанка
Низколегированная проволока
Пломбировочная проволока
Проволока ВР, ВР оцинкованная
Проволока вязальная
Проволока для бронирования кабеля
Проволока для холодной высадки
Проволока канатная ГОСТ 7372-79
Проволока качественная КС, КО
Проволока колючая
Проволока наплавочная
Проволока нихром
Проволока общего назначения
Проволока оцинкованная
Проволока полиграфическая простая, оцинкованная
Проволока пружинная
Проволока с полимерным покрытием
Проволока сварочная СВ
Проволока стальная оцинкованная для сердечников проводов
Проволока телеграфная
Проволока торговая, гвоздильная
Проволока углеродистая
Рояльная проволока
Сварочная омедненная проволока
Шплинтовая проволока
Профнастил
Металлочерепица
Оцинкованная кровельная сталь
Оцинкованная панель
Оцинкованный профилированный лист
Поликарбонатный профилированный лист
Прессованные оцинкованные ступени
Прессованный решетчатый настил
Профилированный лист с полимерным покрытием
Сварные оцинкованные ступени из решетчатого настила
Элементы отделки для кровельных материалов
Сетка стальная
Высечка
Габионы
Крученая шестигранная сетка (Манье)
Мельничная сетка
Оцинкованная просечно-вытяжная сетка
Просечно-вытяжная сетка
Рабица
Сварная сетка
Сетка Армсеть
Сетка гиттер
Сетка плетеная
Сетки тканые
Сетки штукатурные
Тросиковая сетка
Шарнирная узловая сетка
Щелевая сетка
Сортовой прокат
Арматура
Пруток с твердым хромовым покрытием
Стальная дробь
Стальной блюм
Стальной квадрат
Стальной круг
Стальной пруток
Стальной шестигранник
Стальные заготовки
Стальные ленты
Стальные полосы
Фибра стальная
Шары помольные, мелющие
Стальные отливки VAUTID
Стальные сваи
Винтовые сваи
Конические стальные забивные сваи
Трубный прокат
Безнапорные асбестоцементные трубы
Бесшовные горячекатаные трубы
Бесшовные трубы
Гибкие насосно-компрессорные трубы
Гидравлическая фосфатированная трубка
Дренажные керамические трубы
Змеевики для резервуаров
Коррозионностойкие трубы
Котельные трубы
Легированные трубы
Напорные асбоцементные трубы
Низколегированная труба
Оцинкованные трубы
Панцирные трубы
Полипропиленовые гофрированные трубы
Полиэтиленовые гофрированные трубы
Спиралешовные трубы
Труба API 5L
Труба бесшовная холоднокатаная
Труба бетонная
Труба восстановленная
Труба колонковая
Труба крекинговая
Труба насосно-компрессорная НКТ
Труба обсадная
Трубы ASTM
Трубы БУ
Трубы бурильные
Трубы в изоляции
Трубы водогазопроводные ВГП
Трубы для карданных валов
Трубы для подводных морских трубопроводов
Трубы из обечаек
Трубы из углеродистой стали
Трубы магистральные
Трубы оцинкованные ВГП
Трубы профильные
Трубы стальные свертные паяные двухслойные
Трубы толстостенные
Трубы электросварные
Трубы электросварные оцинкованные
Футерованные трубы
Хонингованные трубы
Цельнотянутые трубы
Шамотные трубы
Фасонный прокат стали
Футеровочные плиты VAUTID
Элементы отделки для линеарных панелей
Нестандартные фасонные элементы
Отлив оцинкованный
Планка Z-образная
Планка аквилона ПА
Планка вертикального стыка
Планка оконного откоса
Планка отлива оконного
Планка отлива цокольного
Планка стыковочная универсальная
Планка угла внутреннего линеарного
Планка угла наружного линеарного
Полоса декоративная ПД
Элементы отделки для сайдинга
Акриловый сайдинг
Виниловый сайдинг
Отливы для сайдинга
Софиты
Фиброцементные фасадные панели
Фиброцементный сайдинг
Цокольный сайдинг
Трубопроводная арматура
Алюминиевые обечайки
Вентиляционные клапаны
Клапан инфильтрации воздуха
Многостворчатый вентиляционный клапан
Обратный вентиляционный клапан
Обратный вентиляционный клапан "бабочка"
Обратный вентиляционный клапан прямоугольный
Вентиляционные отводы
Вентиляционный отвод круглый 45гр
Вентиляционный отвод круглый 90гр
Вентиляционный отвод прямоугольный 45гр
Вентиляционный отвод прямоугольный 90гр
Водосточные системы
S-обвод
Водосборник
Водосточная воронка
Водосточная труба
Водосточный желоб
Водосточный отвод
Заглушка водосточной воронки
Заглушка желоба
Колено водосточной трубы
Комплекты водосточной системы
Сетка воронки
Соединитель желоба
Соединитель трубы
Тройник трубы
Угол желоба
Хомут трубы
Воздуховод оцинкованный
Воздуховод оцинкованный круглый
Воздуховод оцинкованный прямоугольный
Гидравлические соединения
Адаптеры
Быстроразъемные соединения
Заглушки для БРС
Обжимные муфты
Фитинги для РВД
Запорно-регулирующая арматура
Дисковые затворы
Дисковые краны
Дроссели
Дроссельный вентиль
Задвижки из цветных металлов
Клапан
Стальные задвижки
Фильтры
Шаровые краны
Коаксиальные трубы и комплектующие
Коаксиальные опоры
Коаксиальные отводы 45 градусов
Коаксиальные отводы 90 градусов
Коаксиальные тройники
Коаксиальные трубы
Коаксиальные трубы с зонтом
Компенсаторы
Компенсатор для систем отопления
Компенсатор резиновый муфтовый
Компенсатор резиновый фланцевый
Компенсатор сильфонный осевой
Конические обечайки
Крепления трубопроводов
Закладные детали для трубопроводов
Крепежные изделия для трубопроводов
Крепление двух трубопроводов к колонне
Крепление двух трубопроводов к перекрытию
Крепление двух трубопроводов к стене
Крепление нескольких трубопроводов к перекрытию
Крепление одного трубопровода к железобетонной балке
Крепление одного трубопровода к перекрытию
Крепление трех и более трубопроводов
Крепление трех трубопроводов к перекрытию
Крепление трубопроводов к полу
Крепление четырех трубопроводов к железобетонной колонне
Крепления к балкам перекрытия на подвесках
Крепления к железобетонным колоннам
Крепления к кирпичным стенам
Крепления к металлическим площадкам
Крепления к ригелям на подвесках
Крепления к стеновым панелям
Крепления трубопроводов к металлическим колоннам
Крепления трубопроводов к плитам перекрытия
Опорные узлы для катковых блоков
Траверса металлическая подвесная
Траверса-балка металлическая подвесная
Шпильки для трубопроводов
Медные фитинги
Клапан Шредера
Медные заглушки под пайку
Медные крестовины
Медные муфты
Медные отводы
Медные переходы
Медные тройники
Медные фитинги для холодильного оборудования
Медный угол
Обечайка чугунного люка
Оцинкованные обечайки
Полиэтиленовые фитинги
Полиэтиленовые втулки
Полиэтиленовые отводы
Полиэтиленовые переходы
Полиэтиленовые тройники
Распылительные головки
Распылительная головка зажим
Распылительная головка резьба
Резьбовые предохранители для обсадных труб и муфт
Соединительные части
Соединительная часть GG
Соединительная часть GK
Стальные фитинги
Муфты
Ниппель
Переводники
Переходник нержавеющий H-SHB
Переходные футорки
Резьбовые угольники
Сгоны для труб ВГП
Соединитель нержавеющий с внутренними резьбами H-SSA
Соединитель нержавеющий с наружными резьбами H-SNR
Стальной полусгон
Стальные американки
Стальные патрубки
Штуцер нержавеющий CFC
Штуцер нержавеющий COM
Стальные цилиндрические обечайки
Судовые пружинные подвески
Тяга пружинная 1А
Тяга пружинная 2А
Сэндвич трубы и комплектующие
Оголовок
Оголовок с дефлектором
Оголовок-зонт
Одноконтурные дымоходы
Старт-сэндвич
Сэндвич трубы
Сэндвич-отводы 45 градусов
Сэндвич-отводы 90 градусов
Сэндвич-пластины опорные
Сэндвич-пластины опорные на перекрытие
Сэндвич-тройники 45 градусов
Сэндвич-тройники 90 градусов
Титановые воздуховоды
Титановые бандажи
Титановые дефлекторы
Титановые зонты
Титановые неравнопроходные Y-тройники
Титановые неравнопроходные косые тройники
Титановые односторонние переходы
Титановые патрубки присоединительные
Титановые переходы с круглого на прямоугольное сечение
Титановые переходы с круглого на прямоугольное сечение односторонние
Титановые продувочные трубы
Титановые проходы через перекрытия
Титановые равнопроходные Y-тройники
Титановые утки
Титановые утки переходы
Титановые фланцы
Титановые прямые участки
Титановые фитинги
Концентрический титановый переход
Сварной отвод из титана
Титановая поворотная заглушка
Титановые отводы
Титановый поплавок
Титановый тройник
Трубные опоры
Катковые опоры
Корпусные опоры
Неподвижные опоры
Однорядные опоры
Опора вертикальных трубопроводов
Опора для крепления арматуры
Опора крутоизогнутых отводов
Опора с сопровождением
Опора сварных отводов
Опоры ТПР
Подвижные опоры
Подпятники для трубопроводов
Приварные опоры
Разгрузочная опора
Регулируемые опоры трубопроводов
Сварные направляющие опоры
Скользящие опоры
Тавровые опоры
Трубчатые опоры
Хомутовые опоры
Шариковая опора
Швеллерные опоры
Элементы трубопроводных систем
Фасонные изделия в ППУ
Z-образный элемент в ППУ
Отводы в ППУ
Тройник в ППУ
Эксцентрический переход в ППУ
Фасонные части трубопроводов
Заглушки
Отводы стальные
Переходы
Стальные кресты
Тройник оцинкованный
Тройники
Фланцы и фланцевые соединения
Заготовки для фланцев
Изолирующие фланцевые соединения
Отбортовка
Стальные прокладки для фланцев
Фланцы
Щелевая труба для углового фильтра
Элеваторы и комплектующие
Водоструйные элеваторы
Сопло для стакана чугунного элеватора
Стаканы для чугунного элеватора
Изоляция труб
ВУС-Изоляция
Гофрированная алюминиевая фольга
Заглушка в изоляции
Изоляция K-Flex трубчатая
Каучуковая синтетическая вспененная изоляция
Изоляция с алюминиевым покрытием
Самоклеющаяся рулонная изоляция
Самоклеющаяся с алюминиевым покрытием изоляция
Стандартная рулонная изоляция
Трубчатая изоляция
Кожухи для изоляции
Оболочки защитные съемные на врезки
Оболочки защитные съемные на теплоизоляционные плоские и эллиптические заглушки
Оболочки защитные съемные на теплоизоляционные фланцевые заглушки
Оболочки защитные съемные на теплоизоляционные фланцы
Оболочки конусные на емкости
Оболочки на теплоизоляционные отводы
Оболочки на теплоизоляционные переходы
Оболочки на теплоизоляционные тройники
Оболочки на теплоизоляционные цилиндры
Оболочки цеппелиновые на емкости
Композитные защитные футляры
Концевой элемент в ППУ-ОЦ, -ПЭ, -ПЭ-Б
Лента Лиам
Отводы теплоизоляционные
Теплоизоляционные отводы 30 градусов
Теплоизоляционные отводы 45 градусов
Теплоизоляционные отводы 60 градусов
Теплоизоляционные отводы 90 градусов
ППМ-Изоляция
ППУ - Изоляция
Скорлупа ППУ
рулоны K-Flex
Скорлупа ППС
Стекловолокно
Теплоизоляционные врезки
Теплоизоляционные переходы конические, концентрические
Теплоизоляционные тройники
Большие теплоизоляционные переходные тройники
Большие теплоизоляционные равнопроходные тройники
Теплоизоляционные переходные тройники
Теплоизоляционные равнопроходные тройники
Теплоизоляционные цилиндры
Кашированные цилиндры
Некашированные полуцилиндры
Некашированные цилиндры
Некашированные четверть цилиндры
Плоские цилиндры
Теплоизоляционный фланец
ЭП-Изоляция
Чугунный прокат
Арматура чугунная
Заглушка фланцевая чугунная
Колено чугунное
Контргайка из ковкого чугуна
Кресты чугунные
Муфта чугунная
Ниппель из ковкого чугуна
Отводы чугунные
Патрубки чугунные
Переходы чугунные
Пожарные подставки чугунные
Раструб чугунный
Ревизия канализационная чугунная
Трап чугунный
Тройники чугунные
Чугунная канализационная заглушка
Чугунная канализационная прочистка-заглушка
Чугунная надвижная муфта
Чугунные задвижки
Чугунные затворы
Чугунные магнитные фильтры
Чугунные обратные двухстворчатые межфланцевые клапаны
Чугунные сетчатые фильтры
Чугунные шаровые краны
Чугунный отступ
Безраструбная канализация
Безраструбная заглушка
Безраструбная крестовина
Безраструбная опорная труба
Безраструбная пресс-заглушка
Безраструбная ревизия
Безраструбная труба
Безраструбное опорное кольцо
Безраструбный отвод
Безраструбный переход
Безраструбный сифон
Безраструбный тройник
Безраструбный фланец переходной
Безраструбный хомут высокой нагрузки HD
Воронка водосточная чугунная
Демонтажная вставка
Дождеприемники чугунные
Дробь чугунная
Дробь чугунная колотая
Дробь чугунная колотая улучшенная
Дробь чугунная литая
Дробь чугунная литая улучшенная
Колосниковые решетки
Крестовина чугунная раструбная
Лоток водоотводный с решёткой
Люки чугунные
Манжета к трубе чугунной
Решетка водоотводная
Трубы чугунные С (ЦПП, Без ЦПП)
Утяжелитель чугунный
Чугун
Чугун литейный
Чугун передельный
Чугунная труба ЧК
Чугунная чушка
Чугунные втулки
Чугунные колосники для котлов
Чугунные отливки
Чугунные радиаторы
10-секционный чугунный радиатор
12-секционный чугунный радиатор
3-секционный чугунный радиатор
4-секционный чугунный радиатор
7-секционный чугунный радиатор
Регистры отопления
Чугунный круг
Чугунный фланцевый патрубок под манометр
Сплавы
Баббиты
Кобальтовые сплавы
Кобальтовая проволока
Лист из кобальтового сплава
Магниты из кобальтового сплава
Полоса из кобальтового сплава
Пруток из кобальтового сплава
Фольга из кобальтового сплава
Легкоплавкие припои
Сплав Вуда
Сплав Гутри
Сплав Д'Арсе
Сплав Деварда
Сплав Липовитца
Сплав Ньютона
Сплав Розе
Лигатура
Лигатура алюминий
Лигатура алюминобариевая
Лигатура бор
Лигатура ванадий
Лигатура железо
Лигатура иттрий
Лигатура кобальт
Лигатура магний-неодим
Лигатура медь
Лигатура молибден
Лигатура никель
Лигатура ниобий-алюминий
Лигатура свинец
Лигатура ферроалюмоциркониевая
Лигатура хром-железо-никелевая
Лигатура хромалюминиевая
Лигатура цинк
Лигатура цирконий
Медно-никелевые сплавы
Алюмель
Камелин
Константан
Копель
Куниаль
Манганин
Медно-никелевые изделия
Мельхиор
Монель
Нейзильбер
Проволока МНЖКТ5-1-0,2-0,2
Сплав МНЖ5-1
Труба МНЖМц11-11-0.6
Хромель
Платинитовая проволока
Прецизионные сплавы
Виброгасящие сплавы (демпфирующие)
Лента для каталитических нейтрализаторов
Лента для магнитной записи
Лента для нагревателей
Лента для постоянных магнитов
Лента для резисторов и деталей полупроводниковых изделий
Магнитная проволока
Магнитно-мягкие сплавы
Магнитно-твердые сплавы
Немагнитные сплавы
Постоянные магниты
Прецизионная труба
Прецизионная фольга
Прецизионные прочие сплавы
Проволока магнитная для записи гармонических сигналов
Сверхпроводящие сплавы
Слябы из прецизионных сплавов
Сплав с заданным ТКЛР
Сплавы с высоким электрическим сопротивлением
Сплавы с высокой степенью проводимости при низких температурах
Сплавы с заданными свойствами упругости
Проволока термопарная вольфрам-рениевая
Резистивные сплавы
Силумин
Силумин гранулы
Силумин чушка
Твердые сплавы
Вольфрамовые пластины
Пластины из сплавов с износостойким покрытием
Победитовые пластины
Титановольфрамовые пластины
Титанотанталовольфрамовые пластины
Ферросплавы
Мишметалл (Ферроцерий)
Силикокальций
Силикомарганец
Ферроалюминий
Ферроалюмониобий
Ферробор
Феррованадий
Ферровольфрам
Ферромарганец
Ферромолибден
Ферроникель
Феррониобий
Ферросера
Ферросиликованадий с марганцем
Ферросиликомагний
Ферросиликомарганец
Ферросиликотитан
Ферросиликохром
Ферросиликоцирконий
Ферросилиций
Ферротитан
Феррофосфор
Феррохром
Ферроцерий в стержнях
Фехраль
Резистивные сплавы(Фехраль)
Фехралевая проволока
Фехралевая сетка
Фехралевый пруток
ЦАМ
Сварочные материалы
Графитовые электроды
Кобальтовый наплавочный порошок
Припой
Присадочная проволока
Присадочный пруток
Проволока для металлизации
Проволока для сварки чугуна
Пруток для наплавки
Сварной кобальтовый пруток
Сварочная порошковая проволока VAUTID
Сварочная проволока из высоколегированной стали
Сварочная проволока из кобальтового сплава
Сварочная проволока из легированной стали
Сварочная проволока из низкоуглеродистой стали
Угольные электроды
Флюсовая паста
Флюсы
Электрод из кобальтового сплава
Электродная лента
Электроды для ответственных конструкций
Электроды для подводной сварки
Электроды для резки металла
Электроды для сварки алюминия
Электроды для сварки бронзы
Электроды для сварки высоколегированных сталей
Электроды для сварки жаропрочных сталей
Электроды для сварки нержавеющей стали
Электроды для сварки низколегированных сталей
Электроды для сварки разнородных сталей
Электроды для сварки углеродистых сталей
Электроды для сварки чугуна
Электроды для теплоустойчивых сталей
Электроды наплавочные
Электроды сварочные
Полимерные изделия
Акриловые стекла
Cатинированные литые акриловые листы
Акриловые листы для торцевой подсветки
Зеркальные экструзионные акриловые листы
Литые акриловые листы
Экструзионные акриловые листы
Амортизаторы резиновые
Амортизаторы приборные
Амортизаторы резиновые NRE
Амортизаторы резинометаллические двухпластинчатые
Виброизоляторы резиновые вентиляторные взрывозащищенные
Корабельные амортизаторы
Валы обрезиненные
Валы с резиновой обкладкой для текстильных машин
Валы с резиновым массивом для ленторазрывных машин
Обрезиненные валы
Винипласт
Герметик резиновый
Герметик анаэробный
Герметик битумно-полимерный аэродромный
Герметик битумно-резиновый аэродромный
Герметик битумный аэродромный
Герметик для приборов
Герметик кремнийорганический
Герметик полимерный аэродромный
Герметик полисульфидный
Герметик РТИ
Герметик тиоколовый
Герметик фторсилоксановый
Гетинакс лист
Гидроизолирующие материалы
Бризол
Изол
Грязесъемники для штоков
Диафрагмы и мембраны резиновые
Диафрагма резино-фторопластовая
Диафрагма резиновая
Мембрана резиновая для фильтр-прессов типа ФПАКМ
Мембрана резинотканевая тарельчатая для тормозной камеры
Капролон
Капролон блочный
Капролон круг
Капролоновая втулка
Капролоновый стержень
Листы и пластины капролона
Клеи резиновые
Кремнийорганический клей
Нитрильный клей
Перхлорвиниловый клей
Полимерный клей
Резиновый клей
Фенольно-каучуковый клей
Хлоропреновый клей
Эпоксидный клей
Кольца и втулки
Втулка МУВП
Кабельные проходные втулки
Кольца для баллонов
Кольца для фляг
Кольца резиновые для пожарной арматуры
Кольца уплотнительные
Кольцо МУВП
Кольцо резиновое для асбоцементных труб
Кольцо резиновое уплотнительное для бетонных труб
Кольцо резиновое уплотнительное для чугунных труб
Кольцо резиновое уплотнительное прямоугольного сечения
Кольцо резинотканевое нажимное
Кольцо резинотканевое опорное
Кольцо уплотнительное для труб ПВХ
Комплектующие для водопроводной арматуры и сантехники
Кольца силиконовые
Сантехнические прокладки прямоугольного сечения
Сантехнические профили
Комплектующие для горнодобывающей отрасли
Габаритные износостойкие плиты
Лифтер для рудоразмольных мельниц
Плита вагоноопрокидователя
Резиновая футеровка спирального классификатора
Резиновые пластины с металлической подложкой
Резиновые сита для грохотов
Футеровка мельницы ММС
Комплектующие для нефтегазовой промышленности
Обтираторы скважинные
Уплотнительные манжеты пакера
Шайбы ТПР
Комплектующие для сельского хозяйства
Бильные пальцы
Муфта МВА
Сосковая резина для доильных аппаратов
Тройник молочный
Трубка молочная
Угольник МВА
Шланг поливочный
Конвейерные ленты
Антистатические конвейерные ленты
Бесконечные конвейерные ленты
Износостойкие конвейерные ленты
Конвейерные ленты общего назначения
Ленты транспортера
Маслостойкие конвейерные ленты
Морозостойкие конвейерные ленты
Пищевые конвейерные ленты
Резинотканевые конвейерные ленты
Рифленые конвейерные ленты
Сборные конвейерные ленты
Специальные конвейерные ленты
Теплостойкие конвейерные ленты
Трудновоспламеняющиеся конвейерные ленты
Трудносгораемые конвейерные ленты
Электропроводящие конвейерные ленты
Ленты резиновые
Лента ЛЭТСАР
Резиновая лента изоляционная
Резиновая лента уплотнительнаяРезиновая лента уплотнительная
Резинотканевая лента
Тиоколовая лента
Листовой ПВХ
Вспененный листовой ПВХ
Сплошной листовой ПВХ
Листовой пластик АБС
Листовой полистирол
Декоративный листовой полистирол
Зеркальный листовой полистирол
Прозрачный листовой полистирол
Ударопрочный листовой полистирол
Листовой ПЭТ
Листовой САН
Манжеты РТИ
Резиновые манжеты
Резинотканевые манжеты
Мастика РТИ
Замазка уплотнительная
Компаунд
Масса уплотнительная
Мастика битумно-резиновая
Мастика каучуковая
Мастика полиизобутиленовая
Мастика полимерно-битумная
Мастика тиоколовая
Паста герметизирующая
Оргстекло
Пенокартон
Белый и цветной пенокартон
Самоклеящийся пенокартон
Пенополистирольные плиты
Пластики для гравировки
Пластики для лазерной гравировки
Пластики для механической гравировки
Пластина эбонитовая
Плиты резиновые
Гидроплиты резиновые
Маты животноводческие
Плита железнодорожного переезда
Плита трамвайного переезда
Плиты Рездор
Покрытия резиновые
Брусчатка резиновая
Дорожка резиновая
Коврик резиновый грязезащитный
Коврик резиновый диэлектрический
Накладки противоскользящие
Плитка резиновая
Покрытие резинотканевое
Проступь резиновая
Полиамид
Полиамид гранулированный
Полиамид литьевой
Полиамид матированный
Полиамид спирторастворимый
Полиамид стеклонаполненный
Полиамид тальконаполненный
Полиамид угленаполненный
Сополимер полиамида
Экструзионный полиамид стержень рецикл
Полиацеталь
Полиацеталь втулки
Полиацеталь пластина
Полиацеталь стержень
Полибутилен
Полиизобутилен в брикетах
Поликарбонаты
Сотовые поликарбонаты
Сплошные поликарбонаты
Полимерно-песчаные изделия
Арычный лоток полимерно-песчаный
Бордюр полимерно-песчаный
Полимерпесчаные колодцы
Полимерные трубы
Полипропилен
Полипропиленовый ворс
Полипропиленовый лист
Полиуретан
Полиуретан пластины
Полиуретан стержень
Полиэтилен
Высокомолекулярный полиэтилен
Линейный полиэтилен
Металлоценовый полиэтилен
Полиэтилен высокой плотности
Полиэтилен низкой плотности
Полиэтилен очень низкой плотности
Полиэтилен сверхнизкой плотности
Сверхвысокомолекулярный полиэтилен
Сшитый полиэтилен
Полиэтиленовые трубы
Напорные полиэтиленовые трубы Протект 1075 ПЭ 100 КС
Напорные полиэтиленовые трубы Протект 1075 ПЭ 100 КС для газопроводов
Обсадная труба ПВХ для скважин
Термостойкие полиэтиленовые трубы
Трубы напорные для водоснабжения и канализации ПЭ 100
Трубы ПВД
Трубы ПНД технические полиэтиленовые
Трубы полиэтиленовые газовые ПЭ80, ПЭ100
Трубы полиэтиленовые напорные ПЭ80 для водоснабжения и канализации
Полоса силиконовая для сквиджа
Прокладки резиновые железнодорожные
Подрельсовые и нашпальные прокладки прочие
Подрельсовые и нашпальные прокладки тип ЦП
Резиновая крошка
Резиновые прокладки
Резиновые прокладки кольцевые
Резиновые прокладки круглого сечения
Резиновые прокладки круглые
Резиновые прокладки плоские
Резиновые прокладки прямоугольного сечения
Резиновые прокладки прямоугольные
Резинотканевые прокладки полые круглого сечения
Резиновые технические пластины
Авиационные пластины
Атмосферомаслостойкая пластина
Вакуумные пластины
Вибродемпфирующие пластины
Диэлектрические силиконовые пластины
Маслобензостойкие пластины
Пищевые пластины
Пластины для использования в агрессивной среде
Пластины для штампов
Пластины ДСТ
Полиизобутиленовые пластины
Тепломорозокислотощелочестойкие пластины
Термостойкие силиконовые пластины
Технические губчатые пластины
Технические пористые пластины
Фторсиликоновая пластина
Резиновый порошок
Резиноткани
Мембранное полотно
Прорезиненная ткань
Резиностеклоткань
Резиностеклоткань РЭТСАР
Ремни резиновые
Ремень вариаторный клиновой
Ремень вентиляторный клиновой
Ремень приводной клиновой
Ремень приводной многоручьевой
Ремень приводной плоский
Ремень приводной поликлиновой
Ремень приводной с металлокордом
Ремень транспортера
Ремень элеватора
РТИ для электроэнергетической промышленности
Втулки уплотнительные кабельного ввода ВКУ
Масляные прокладки и уплотнители для силовых трансформаторов
Пластина трансформаторная листовая
Пластина трансформаторная рулонная
Полосы и шнуры трансформаторные
Трубки электроизоляционные ТКР
Уплотнения для гидротехнических сооружений
Шайбы уплотнительные для масляных трансформаторов
Рукава резиновые
Рукав для сварки
Рукав для систем охлаждения
Рукав резиновый армированный
Рукав резиновый класс А
Рукав резиновый класс В
Рукав резиновый напорно-всасывающий
Рукав резиновый общего назначения
Рукав резиновый с металлической оплеткой
Рукав резиновый с нитяной оплеткой
Рукав резиновый с нитяным каркасом
Рукав резиновый с нитяным усилением
Рукав резиновый с присоединительной арматурой
Рукав резиновый с текстильным каркасом
Рукав резинотканевый
Рукав с текстильным усилением
Силиконовые профили
Катодная планка
Профили бытового назначения
Профили для строительных конструкций
Профили уплотнительные
Термостойкие силиконовые профили
Силиконовые резиновые смеси
Кабельные силиконовые резиновые смеси
Маслобензостойкие силиконовые резиновые смеси
Маслостойкие cиликоновые резиновые смеси
Силиконовые резиновые смеси общего назначения
Силиконовые резины с повышенной термостойкостью
Силиконовые резины с повышенными прочностными характеристиками и высоким раздиром
Силиконовые смеси для прессовых изделий
Силиконовые смеси для экструзионных изделий
Смеси резиновые невулканизированные товарные
Токопроводящие силиконовые смеси
Смеси резиновые
Сотовый полипропилен
Стекломагниевый лист
Стеклотекстолит
Стержень эбонитовый
Термоусадочная трубка
Тормозная лента
Трубки резиновые
Вакуумные трубки
Резиновые трубки
Силиконовые трубки
Трубка резиновая армированная латунной сеткой
Трубка резиновая вакуумная
Трубка резиновая диэлектрическая
Трубка резиновая для велосипедных насосов
Трубка резиновая для двигателей
Трубка резиновая для защиты кабелей
Трубка резиновая кислотощелочестойкая
Трубка резиновая маслобензостойкая
Трубка резиновая морозостойкая
Трубка резиновая пищевая
Трубка резиновая теплостойкая
Трубка резиновая техническая
Трубка резиновая унифицированная
Трубка резиновая экранирующая
Трубка резиновая электроизоляционная
Трубка эластомерная электроизоляционная
Трубки резиновые медицинские
Фторопласт
Листы фторопласта
Фторопласт стержень
Фторопластовая лента
ФУМ жгут
Шланги резиновые
Шланг резиновый армированный напорно-всасывающий
Шланг резиновый армированный подающий
Шланг резиновый армированный с крышкой
Шланг резиновый армированный с резиновым чехлом
Шланг резиновый двойной для газовой сварки
Шланг резиновый с накидными гайками
Шнуры резиновые
Вакуумные шнуры
Гернитовые шнуры
Круглые резиновые шнуры
Прямоугольные резиновые шнуры
Резиновые вакуумные шнуры
Резиновые кислотощелочестойкие шнуры
Резиновые маслобензостойкие шнуры
Резиновые морозостойкие шнуры
Резиновые особо мягкие шнуры
Резиновые пищевые шнуры
Резиновые самолетные круглые шнуры
Резиновые теплостойкие шнуры
Резиновые унифицированные шнуры
Резиновые уплотнительные шнуры
Силиконовые шнуры
Уплотнительные шнуры из особо мягкой резины
Композитные материалы
Алюминиевые композитные панели
Композитная арматура
Композитные трубы
Стеклопластиковые трубы
Трубы из базальтового волокна
Трубы из углеродного волокна
Контактная пластина
Текстолит
Листовой текстолит
Текстолит стержень
Электротехнический листовой текстолит
Уплотнительная спеченная лента
Эбонит
Эбонит лист
Эбонит стержень
Эбонит трубка
Кабель
Автомобильный провод
Бортовой кабель
Взрывной кабель
Водопогружной кабель
Высокочастотный кабель
Грозотрос
Жилы токопроводящие
Гибкие жилы
Многопроволочные гибкие жилы
Многопроволочные жилы
Однопроволочные жилы для больших сечений
Изоляция кабелей
Алюмофлекс
Оцинкованный металлорукав
Кабель дальней связи
Кабель для компьютерных сетей
Кабель для щеток электрических машин
Кабель управления
Контрольный кабель
Монтажный кабель
Нефтепогружной кабель
Обмоточные провода
Обмоточный круглый медный провод с эмалевой изоляцией
Провод обмоточный алюминиевый круглый
Провод обмоточный алюминиевый прямоугольный
Провод обмоточный прямоугольный медный
Провод обмоточный с бумажной изоляцией
Провод обмоточный с уплотненной бумагой
Провод для подвижного состава
Провод для радиоустановок
Провод контактный
Провод неизолированный
Противопожарный кабель
Радиочастотный кабель
Самонесущий изолированный провод
Сигнализационный кабель
Силовой кабель
Силовые гибкие кабели
Силовые кабели с бумажной изоляцией
Силовые кабели с пластмассовой изоляцией
Соединительный кабель
Станционный кабель
Стационарный кабель
Судовой кабель
Телефонный кабель
Теплостойкий монтажный провод
Термостойкий кабель
Термоэлектродный кабель
Универсальный кабель
Установочный провод
Шахтный кабель
Электроды анодного заземления
Метизы
Анкерные плиты
Литая анкерная плита
Сварные анкерные плиты
Составные анкерные плиты
Стальные анкерные плиты
Анкерные тяги
Анкерная тяга резьбовая с муфтой
Анкерная тяга с накладками
Анкерная тяга с проушиной
Плоская анкерная тяга
Арматурные каркасы
Арматурные каркасы для свай
Объемные арматурные каркасы (пространственные)
Плоские арматурные каркасы для фундамента
Фиксаторы "Змейка" для арматуры и сеток
Высокопрочный крепеж
Алюминиевые шайбы
Высокопрочная гайка
Высокопрочная шайба
Высокопрочные шпильки
Высокопрочный болт
Медные шайбы
Зажимы для стальных канатов
Латунные заклепки
Латунные заклепки с полукруглой головкой
Латунные заклепки с потайной головкой
Медные гвозди
Медные заклепки
Медная вытяжная заклепка
Медные заклепки с плоской головкой
Медные заклепки с полукруглой головкой
Медные заклепки с потайной головкой
Нержавеющие вытяжные заклепки
Стальные гайки
Глухая гайка
Глухая гайка в сборе
Шлицевая гайка
Стальные оцинкованные шпильки
Фундаментные анкерные блоки
Фундаментные болты
Болт фундаментный прямой тип 5.1
Болт фундаментный с коническим концом тип 6.1
Болт фундаментный с коническим концом тип 6.2
Болт фундаментный с коническим концом тип 6.3
Болты фундаментные изогнутые тип 1.1
Болты фундаментные изогнутые тип 1.2
Болты фундаментные с анкерной плитой тип 2.1
Болты фундаментные составные тип 3.1
Болты фундаментные составные тип 3.2
Болты фундаментные составные тип 4.1
Болты фундаментные составные тип 4.2
Болты фундаментные составные тип 4.3
Болты фундаментные тип 2.2
Болты фундаментные тип 2.3
Футеровочные болты (бронеболты)
Шпильки фланцевые
Закладные детали
Закладные детали ФМ
Закладные изделия МН по серии 1.400-15
МН 101-164 изделие
МН 201-228 изделие
МН 301-325 изделие
МН 401-418 изделие
МН 501-522 изделие
МН 523-538 изделие
МН 539-540 изделия
МН 541-554 изделие
МН 555-557 изделие
МН 558-565 изделия
МН 566-571 изделие
МН 601-615 изделие
МН 616-617 изделие
МН 701-775 изделие
МН 776-795 изделие
МН 801 изделие
МН 802-834 изделие
Фиксаторы арматуры
Защитная крышка для арматуры
Фиксаторы арматуры звездочка
Фиксаторы арматуры кольцо
Фиксаторы арматуры кубик
Фиксаторы арматуры многоуровневые
Фиксаторы арматуры настил
Фиксаторы арматуры стойка турецкая
Фиксаторы арматуры стульчик
Фиксаторы арматуры треугольник
Конструкции для трубопроводов
Конструкции для балластировки трубопроводов
Бункерное устройство для заполнения текстильных контейнеров
Мягкие соединительные пояса
Пластиковые балластировочные утяжелители УБП, ПКУ
Полимерно-контейнерное балластирующее устройство
Текстильный контейнер из технической ткани
Конструкции для защиты изоляционного покрытия трубопроводов
Защитные коврики для УБО и УБКМ
Скальный лист
Уплотнительный коврик из скального листа для УТК и ЧГ
Футеровочные маты для УБО
Футеровочные полотенца
Конструкции для очистки полости трубопроводов
Поршень полиуретановый дисковый
Поршень полиуретановый манжетно-дисковый
Поршень полиуретановый манжетный
Поршни пенополиуретановые литые ППЛ, ППЛ-М
Конструкции для сварки трубопроводов
Подогреватели стыков трубопроводов
Термозащитные пояса для защиты трубы от сварочных брызг
Термоизолирующие пояса для предотвращения преждевременного охлаждения сварочного шва
Конструкции для строительства переходов трубопроводов
Герметизирующие манжеты ГМР и ГМНР
Герметизирующие резинотканевые манжеты
Защитные прокладки из скального листа под ОНК
Защитные резинотканевые прокладки под ОНК
Опорно - направляющие кольца
Опорно - центрирующие кольца
Укрытие защитное герметизирующей манжеты
Противоэрозионные конструкции
Противоэрозионные полотенца
Противоэрозионный контейнер
Железобетонные изделия
Железобетонные колодцы (ЖБИ)
Бетонные кольца для колодцев
Дорожные плиты колодцев
Круглые плиты перекрытий колодцев
Опорные плиты колодцев
Плиты днища колодцев
Железобетонные плиты
Анкерно-опорные плиты
Железобетонные анкерные плиты
Железобетонные плиты перекрытий
Железобетонные утяжелители для трубопроводов
Железобетонные утяжелители УБГ
Железобетонные утяжелители УБКм
Железобетонные утяжелители УБО
Железобетонные утяжелители УБП
Железобетонные утяжелители УБТ
Железобетонные утяжелители УТК
Лотки ЖБИ
Трубы железобетонные
Труба железобетонная безнапорная
Труба железобетонная напорная
Электрооборудование
Услуги
Резка металла
Цинкование металла
Сварка металла
Защитное покрытие
Поставщики
Доставка
Компания
Вакансии
Политика конфиденциальности
Новости
Сертификаты
Контакты
Доставка
Доставка
Поставщики
Задать вопрос
Войти
Корзина
Отложенные
Сравнение товаров
г. Астана, проспект Республики, 24, офис 403
zakaz@pk-gm.kz
Каталог товаров
Цветной прокат и сплавы
Алюминиевый прокат
Бронзовый прокат
Ванадиевый прокат
Нержавеющий прокат
Нержавеющий лист
Цветные нержавеющие листы
Нержавеющий перфорированный лист
Специальные стали
Автоматная сталь
Биметаллический прокат
Броневая сталь
Черный прокат
Листовой прокат
Металлический сайдинг
Проволока
Трубопроводная арматура
Алюминиевые обечайки
Вентиляционные клапаны
Вентиляционные отводы
Изоляция труб
ВУС-Изоляция
Гофрированная алюминиевая фольга
Заглушка в изоляции
Чугунный прокат
Арматура чугунная
Безраструбная канализация
Воронка водосточная чугунная
Сплавы
Баббиты
Кобальтовые сплавы
Легкоплавкие припои
Сварочные материалы
Графитовые электроды
Кобальтовый наплавочный порошок
Припой
Полимерные изделия
Акриловые стекла
Амортизаторы резиновые
Валы обрезиненные
Композитные материалы
Алюминиевые композитные панели
Композитная арматура
Композитные трубы
Кабель
Автомобильный провод
Бортовой кабель
Взрывной кабель
Метизы
Анкерные плиты
Анкерные тяги
Арматурные каркасы
Закладные детали
Закладные детали ФМ
Закладные изделия МН по серии 1.400-15
Фиксаторы арматуры
Конструкции для трубопроводов
Конструкции для балластировки трубопроводов
Конструкции для защиты изоляционного покрытия трубопроводов
Конструкции для очистки полости трубопроводов
Железобетонные изделия
Железобетонные колодцы (ЖБИ)
Железобетонные плиты
Железобетонные утяжелители для трубопроводов
Электрооборудование
Услуги
Резка металла
Цинкование металла
Сварка металла
Защитное покрытие
Поставщики
Доставка
Компания
Вакансии
Политика конфиденциальности
Новости
Сертификаты
Контакты
...
Каталог товаров
Цветной прокат и сплавы
Алюминиевый прокат
Алюминиевый лист
Лист алюминиевый ПВЛ
Рифленый алюминиевый лист
Алюминиевый перфорированный лист
Алюминиевый профнастил
Алюминиевая плита
Алюминиевая шина
Алюминиевая лента
Алюминиевый рулон
Алюминиевая фольга
Алюминиевая труба
Труба алюминиевая холоднодеформируемая
Труба алюминиевая электросварная
Алюминиевая профильная труба
Алюминиевая прессованная труба
Продольно-оребренные алюминиевые трубы
Алюминиевый круг
Алюминиевый пруток
Сварочный алюминиевый пруток
Алюминиевая проволока
Проволока алюминиевая электротехническая
Проволока алюминиевая для холодной высадки
Проволока алюминиевая для воздушных линий электропередач
Заклепочная алюминиевая проволока
Сварочная алюминиевая проволока
Сварочная порошковая алюминиевая проволока
Катанка алюминиевая
Алюминиевый квадрат
Алюминиевый шестигранник
Алюминиевая декоративная сетка
Алюминиевый тавр
Алюминиевый двутавр
Алюминиевый ш-образный профиль
Алюминиевый швеллер
Алюминиевый прессованный профиль
Бульбопрофиль
Алюминиевый полособульб
Алюминиевый уголок
Анодированный алюминий
Алюминиевая чушка
Переходные пластины АП
Алюминиевые втулки
Алюминиевые уплотнительные прокладки
Алюминиевая керноприемная труба
Алюминиевая полоса
Алюминиевые бульбоугольники
Алюминиевые крышки люков цистерн
Алюминиевый типографский лист
Шары из алюминия
Бронзовый прокат
Бронзовый лист
Бронзовая плита
Бронзовая полоса
Бронзовая шина
Бронзовая лента
Бронзовая фольга
Бронзовый круг
Бронзовый пруток
Бронзовые трубы
Бронзовый квадрат
Бронзовый шестигранник
Бронзовая сетка
Бронзовая проволока
Бронзовая втулка
Бронзовые отливки
Бронзовая чушка
Бронзовые поковки
Бронзовые шайбы
Бронзовый вкладыш
Ванадиевый прокат
Ванадиевый лист
Лента ванадиевая
Плита ванадиевая
Полоса ванадиевая
Фольга ванадиевая
Круг ванадиевый
Ванадиевый пруток
Ванадиевая проволока
Ванадиевый слиток
Ванадий металлический
Вольфрамовый прокат
Вольфрамовый лист
Вольфрамовая полоса
Вольфрамовая фольга
Вольфрамовая лента
Вольфрамовый пруток
Вольфрамовая труба
Вольфрамовые заготовки
Вольфрамовая проволока
Вольфрамовая нить
Вольфрамовый электрод
Вольфрамовые тигли
Вольфрамовая лодочка
Вольфрамовый штабик
Вольфрамовый слиток
Вольфрамовый диск
Вольфрамовая спица
Вольфрамовые контакты
Гафниевый прокат
Гафниевый лист
Гафниевая полоса
Гафниевая фольга
Гафниевый пруток
Гафниевая проволока
Гафниевый слиток
Йодидный гафний
Гафниевая лента
Дюралюминиевый прокат
Дюралевый лист
Дюралевый рифленый лист
Дюралевая полоса
Дюралевая плита
Дюралевая лента
Дюралевая труба
Дюралевый круг
Дюралевый пруток
Дюралевая проволока
Дюралевый квадрат
Дюралевый шестигранник
Дюралевый уголок
Дюралевый швеллер
Дюралевая болванка
Латунный прокат
Латунный круг
Латунный пруток
Латунный лист
Латунная плита
Латунная полоса
Латунные пластины
Латунная лента
Латунная фольга
Латунная проволока
Латунная катанка
Латунный квадрат
Латунный шестигранник
Латунная труба
Волноводная латунная труба
Латунная сетка
Латунная чушка
Латунная втулка
Латунный профиль
Металлокорд
Латунный анод
Латунная шина
Латунная электроэрозионная проволока
Латунные вкладыши
Магниевый прокат
Магниевый лист
Магниевая плита
Магниевые пластины
Магниевый пруток
Магниевая проволока
Магниевая лента
Магниевые поковки
Магниевые слитки
Магниевые штамповки
Медный прокат
Медный лист
Рандоль листовой
Медная плита
Медная полоса
Медная шина
Медная изолированная шина
Медная лента
Медная кровельная лента
Медная лента DEVI
Медный рулон
Фольга медная
Медный круг
Медный пруток
Сварочный медный пруток
Медная труба
Медные трубы в изоляции
Медная труба для кондиционеров
Дюймовые трубы
Медная капиллярная трубка
Труба медная профильная
Волноводная медная труба
Медный квадрат
Медный брусок
Медный шестигранник
Медная сетка
Медная проволока
Сварочная медная проволока
Медная катанка
Катанка медная для электротехнических целей
Электроды для сварки меди
Медь в слитках чушках
Медные аноды
Медь катодная
Медь фосфористая
Переходные пластины МА
Луженые медные переходные пластины
Медная втулка
Медные уплотнительные прокладки
Судовые красномедные прокладки
Бескислородная медь в палочках
Медные наконечники
Медная поковка
Молибденовый прокат
Молибденовый лист
Молибденовая полоса
Молибденовая лента
Молибденовая фольга
Молибденовый пруток
Молибденовая труба
Молибденовая проволока
Молибденовый диск
Молибденовые заготовки
Молибденовый штабик
Молибденовые изделия
Молибденовая лодочка
Молибденовые тигли
Молибденовая нить
Никелевый прокат
Никелевый лист
Никелевая полоса
Никелевая лента
Никелевые трубы
Никелевый круг
Никелевый пруток
Никелевая проволока
Никелевая сетка
Никелевая фольга
Никелевая пластина
Никелевый анод
Никелевый катод
Гранулированный никель
Никелевая дробь карбонильная
Ниобиевый прокат
Ниобиевый лист
Ниобиевая полоса
Ниобиевая лента
Ниобиевая труба
Ниобиевый круг
Ниобиевый пруток
Ниобиевая проволока
Ниобиевая фольга
Ниобиевый штабик
Ниобиевая высечка
Ниобиевые таблетки
Ниобиевая чешуйка
Аноды с алмазным покрытием
Платинированные ниобиевые аноды
Нихромовый прокат
Нихромовый лист
Лента нихромовая
Круг нихромовый
Нихромовый пруток
Сетка нихромовая
Нихромовая проволока
Нить нихромовая
Нихромовый провод
Хромовая мишень
Хромовый брикет
Оловянный прокат
Оловянный лист
Оловянная фольга
Оловянный круг
Оловянный пруток
Оловянная проволока
Оловянный анод
Оловянный баббит
Оловянная лента
Рениевый прокат
Рениевый пруток
Рениевая проволока
Рениевая фольга
Рениевые заготовки
Рениевый штабик
Свинцовый прокат
Свинец в палочках
Свинцовая дробь
Свинцовая проволока
Свинцовая роль
Свинцовые муфты
Свинцовые пломбы
Свинцовые трубы
Свинцовый анод
Свинцовый кирпич
Свинцовый круг
Свинцовый лист
Свинцовый пруток
Танталовый прокат
Танталовый лист
Танталовая полоса
Танталовая лента
Танталовая фольга
Танталовая трубка
Танталовый пруток
Танталовая проволока
Танталовый слиток
Титановый прокат
Титановый лист
Титановая плита
Титановая шина, полоса
Титановая лента
Титановая фольга
Титановая карточка
Титановые пористые пластины
Титановый круг
Титановый пруток
Титановая труба
Титановый профиль
Нитиноловая труба
Заготовка из титана
Титановая поковка
Титановая проволока
Нитиноловая проволока
Титановая сварочная проволока
Нитиноловая пружина
Титановая катушка
Титановые кольца
Титановая мишень
Титановый квадрат
Титановый шестигранник
Титановая сетка
Титановые слитки
Титановые отливки
Титановые емкости
Титановая ёмкость нейтрализации растворов
Анодная корзина из титана
Титановый компенсатор трубы
Титановый блин под фланец
Титановый барботёр
Крепежная стойка из титана
Реактор из титана
Титановый импеллер
Титановая клипса
Титановая губка
Аноды экранирующие
Платинированные титановые аноды
Титановая катанка
Титановый уголок
Цинковый прокат
Цинковый лист
Цинковая полоса
Цинковая фольга
Цинковые пластины
Цинковая проволока
Цинковый анод
Циркониевый прокат
Циркониевый лист
Циркониевая лента
Циркониевая фольга
Циркониевая труба
Циркониевый пруток
Циркониевая проволока
Нержавеющий прокат
Нержавеющий лист
Цветные нержавеющие листы
Бирюзовый нержавеющий лист
Золотой нержавеющий лист
Розовый нержавеющий лист
Синий нержавеющий лист
Черный нержавеющий лист
Нержавеющий перфорированный лист
Нержавеющий перфорированный лист Qg 1х2 м
Нержавеющий перфорированный лист Rv 1х2 м
Нержавеющие декоративные листы
Нержавеющий объемный лист
Нержавеющий текстурированный лист
Нержавеющий узорный лист
Нержавеющий шлифованный лист
Нержавеющий рифленый лист
Нержавеющая плита
Нержавеющая полоса
Нержавеющие карточки
Нержавеющий рулон
Рулонный подкат
Нержавеющая лента
Нержавеющая сварочная лента
Нержавеющий круг
Круг декоративный
Пруток нержавеющий
Сварочный нержавеющий пруток
Нержавеющие трубы
Трубы теплодеформированные из коррозионностойкой стали
Нержавеющая капиллярная трубка
Нержавеющие перфорированные трубы
Труба декоративная
Нержавеющая трубопроводная арматура
Запорно-регулирующая арматура из нержавеющей стали
Нержавеющие детали
Нержавеющие фитинги
Фасонные части трубопроводов из нержавеющей стали
Нержавеющая проволока
Нержавеющая сварочная проволока
Нержавеющий трос
Нержавеющая сетка
Нержавеющая просечно-вытяжная сетка
Рифленая нержавеющая сетка
Нержавеющий квадрат
Нержавеющий шестигранник
Нержавеющая поковка
Нержавеющий швеллер
Нержавеющий уголок
Нержавеющие трапы
Нержавеющие трапы с вертикальным выпуском
Нержавеющие трапы с горизонтальным выпуском
Дробь нержавеющая колотая
Дробь нержавеющая литая
Коррозионностойкие отливки
Нержавеющее кольцо
Шпоночный прокат нержавеющий
Нержавеющая дробь
Пористые материалы
Пористая лента
Пористый лист
Люки Manhole Covers
Люки Manhole Covers квадратные
Люки Manhole Covers круглые
Нержавеющая заготовка
Нержавеющая фильтровая сетка
Нержавеющие втулки
Нержавеющие втулки резьбовые
Нержавеющие втулки резьбовые шестигранные
Нержавеющие листы с покрытием нитрид титана
Голубой нержавеющий лист с покрытием оксид титана
Золотой нержавеющий лист с покрытием нитрид титана
Медный нержавеющий лист с покрытием карбонитрид титана
Нержавеющие водоотводы
Нержавеющие линейные водоотводы
Нержавеющие точечные водоотводы
Нержавеющие уловители водоотвода
Нержавеющие профильные трубы
Нержавеющие профильные квадратные трубы
Нержавеющие профильные прямоугольные трубы
Нержавеющие электросварные трубы
Нержавеющий просечно-вытяжной лист
Специальные стали
Автоматная сталь
Автоматная плита
Автоматный квадрат
Автоматный круг
Автоматный лист
Автоматный шестигранник
Биметаллический прокат
Биметаллическая лента
Биметаллическая полоса
Биметаллическая проволока
Биметаллические листы
Биметаллические оребренные трубы
Биметаллические плиты
Термобиметаллическая лента
Броневая сталь
Бронелист
Быстрорежущая сталь
Брусок из быстрорежущей стали
Быстрорежущий круг
Квадрат быстрорез
Лист быстрорез
Полоса быстрорез
Проволока быстрорез
Труба быстрорез
Жаропрочные стали
Жаропрочная заготовка
Жаропрочная карточка
Жаропрочная плита
Жаропрочная поковка
Жаропрочная полоса
Жаропрочная проволока
Жаропрочная сутунка
Жаропрочные трубы
Жаропрочный квадрат
Жаропрочный круг
Жаропрочный лист
Жаропрочный пруток
Жаропрочный шестигранник
Лента жаропрочная
Отливки из жаропрочной стали
Стальной башмак порога печи
Инструментальная сталь
Валковая сталь
Инструментальная лента
Инструментальная плита
Инструментальная поковка
Инструментальная полоса
Инструментальная проволока
Инструментальный квадрат
Инструментальный круг
Инструментальный лист
Конструкционная сталь
Конструкционная стальная плита
Конструкционный стальной круг
Конструкционный стальной лист
Поковка круглая
Прямоугольная поковка
Стальная лента
Стальная полоса
Стальная проволока
Стальная труба
Стальной легированный шестигранник
Стальной уголок
Стальные квадраты
Криогенный прокат
Криогенная плита
Криогенная полоса
Криогенные трубы
Криогенный квадрат
Криогенный круг
Криогенный лист
Мостовая сталь
Мостостроительный лист
Никельсодержащая сталь
Никельсодержащая полоса
Никельсодержащий квадрат
Никельсодержащий круг
Никельсодержащий лист
Никельсодержащий уголок
Никельсодержащий неравнополочный уголок
Никельсодержащий равнополочный уголок
Никельсодержащий шестигранник
Пищевая сталь
Пищевая плита
Пищевая полоса
Пищевая сетка
Пищевая труба
Пищевой квадрат
Пищевой круг
Пищевой лист
Подшипниковая сталь
Подшипниковая полоса
Подшипниковые трубы
Подшипниковый квадрат
Подшипниковый круг
Подшипниковый шестигранник
Рессорно-пружинные стали
Рессорно-пружинная плита
Рессорно-пружинная полоса
Рессорно-пружинный квадрат
Рессорно-пружинный круг
Рессорно-пружинный лист
Рессорно-пружинный шестигранник
Трубы из рессорно-пружинной стали
Судостроительная сталь
Зажим для стального троса
Киповая планка с роульсом
Колонна роликовых направляющих
Морская скоба
Морская фанера
Морской клюз
Панамский клюз
Полособульб
Роликовые клюзы для якорных цепей
Стопор якорной цепи
Судовая полоса
Судовой лист
Талреп
Талреп вилка-вилка
Талреп кольцо-кольцо
Талреп крюк-кольцо
Талреп крюк-крюк
Уголок для судостроения
Неравнополочный уголок для судостроения
Равнополочный уголок для судостроения
Якоря
U.S.N бесштоковый якорь
Якорь HHP
Якорь Spek
Якорь Матросова
Якорь повышенной держащей силы
Якоря Холла
Японский бесштоковый якорь
Штамповая сталь
Штамповая полоса
Штамповой квадрат
Штамповой круг
Штамповые трубы
Электротехническая сталь
Электротехническая анизотропная лента
Электротехническая изотропная лента
Электротехнические заготовки
Электротехнический круг
Электротехнический лист
Черный прокат
Листовой прокат
Асбестоцементные плиты
Асбоцементный лист
Горячекатаные пластины
Горячекатаный лист
Жесть
Износостойкий лист
Кованая плита
Котельный лист
Легированный лист
Лист оцинкованный
Лист просечно-вытяжной ПВЛ
Лист рифленый ромбический
Лист рифленый стальной
Лист стальной повышенной прочности
Лист холоднокатаный
Металлошифер простой, оцинкованный
Металлошифер
Металлошифер оцинкованный
Низколегированный лист
Окрашенный лист
Окрашенный оцинкованный лист
Омедненная просечка
Оцинкованный рулон
Перфорированный лист
Лист перфорированный MV
Лист перфорированный Qd 8x14
Лист перфорированный Qg 10x14
Лист перфорированный Qg 3x5
Лист перфорированный Qg 5x14
Лист перфорированный Qg 5x7
Лист перфорированный Qg 5x8
Лист перфорированный Qg 6x9
Лист перфорированный Qg 8x10
Лист перфорированный Qg 8x12
Лист перфорированный Qg Rv 6x8
Лист перфорированный Rg 5x12
Лист перфорированный Rg 8x17.32
Лист перфорированный Rv 1.5x3
Лист перфорированный Rv 1.75x2.5
Лист перфорированный Rv 10x15
Лист перфорированный Rv 2.5x4
Лист перфорированный Rv 2.5x5
Лист перфорированный Rv 2x2.5
Лист перфорированный Rv 2x3.5
Лист перфорированный Rv 3-5
Лист перфорированный Rv 3x4
Лист перфорированный Rv 3x5
Лист перфорированный Rv 4x6
Лист перфорированный Rv 5x6
Лист перфорированный Rv 5x7
Лист перфорированный Rv 5x8
Лист перфорированный Rv 6x10
Лист перфорированный Rv 6x9
Лист перфорированный Rv 8x10
Лист перфорированный Rv 8x12
Оцинкованный перфорированный лист Rv 1,25х2,5 м
Оцинкованный перфорированный лист Rv 1х2 м
Перфорированный лист Lv
Перфорированный лист Qg 1,25х2,5 м
Перфорированный лист Qg с квадратными отверстиями 1х2м
Перфорированный лист Qv 1х2 м
Перфорированный лист Rg 1х2 м
Перфорированный лист Rv 1,25х2,5 м
Перфорированный лист RV с круглыми отверстиями 1х2 м
Полоса высечка
Рулон с полимерным покрытием
Стальные тонкие листы
Углеродистый лист
Металлический сайдинг
Проволока
Калиброванная проволока
Канатная скребковая проволока
Нержавеющая канатная скребковая проволока
Оцинкованная канатная скребковая проволока
Светлая канатная скребковая проволока
Катанка
Низколегированная проволока
Пломбировочная проволока
Проволока ВР, ВР оцинкованная
Проволока ВР
Проволока оцинкованная ВР
Проволока вязальная
Проволока для бронирования кабеля
Проволока для холодной высадки
Проволока канатная ГОСТ 7372-79
Проволока качественная КС, КО
Проволока качественная КС
Проволока оцинкованная КО
Проволока колючая
Проволока Егоза
Проволока Репейник (Гюрза)
Проволока наплавочная
Проволока нихром
Проволока общего назначения
Проволока оцинкованная
Проволока полиграфическая простая, оцинкованная
Проволока пружинная
Проволока с полимерным покрытием
Проволока сварочная СВ
Проволока стальная оцинкованная для сердечников проводов
Проволока телеграфная
Проволока торговая, гвоздильная
Проволока углеродистая
Рояльная проволока
Сварочная омедненная проволока
Шплинтовая проволока
Профнастил
Металлочерепица
Оцинкованная кровельная сталь
Оцинкованная панель
Оцинкованный профилированный лист
Поликарбонатный профилированный лист
Прессованные оцинкованные ступени
Прессованный решетчатый настил
Профилированный лист с полимерным покрытием
Кровельный профилированный лист
Стеновой профилированный лист
Универсальный профилированный лист
Сварные оцинкованные ступени из решетчатого настила
Элементы отделки для кровельных материалов
Карнизная планка
Конек для металлочерепицы
Планка ендовы
Планка примыкания
Снегодержатель
Торцевая планка
Сетка стальная
Высечка
Высечка биметаллическая
Высечка из черной стали
Габионы
Габион с армирующей панелью
Габионные сетки двойного кручения
Коробчатый габион
Матрацы-габионы
Цилиндрический габион
Крученая шестигранная сетка (Манье)
Мельничная сетка
Оцинкованная просечно-вытяжная сетка
Просечно-вытяжная сетка
Рабица
Сетка рабица
Сетка рабица оцинкованная
Сетка рабица с полимерным покрытием
Сварная сетка
Противоподкопная сетка
Сетка арматурная
Сетка дорожная
Сетка кладочная
Сетка Армсеть
Сетка гиттер
Сетка плетеная
Галунная фильтровая сетка (полотняная)
Рукавная сетка
Саржевая сетка
Сетка канилированная (рифленая)
Транспортерная сетка (конвейерная)
Сетки тканые
Сетка тканая
Сетка тканая оцинкованная
Сетки штукатурные
Сетка штукатурная
Сетка штукатурная, армирующая оцинкованная
Тросиковая сетка
Шарнирная узловая сетка
Щелевая сетка
Сортовой прокат
Арматура
Арматура А1 (А240)
Арматура А2 (А300)
Арматура А3
Арматура А4 (А600)
Арматура А400
Арматура А5 (А800)
Арматура А500с
Арматура А6 (А1000)
Арматура АС2 (АС300)
Арматура Ат1000 (Ат-VI)
Арматура Ат1000К (Ат-VIК)
Арматура Ат1200 (Ат-VII)
Арматура Ат600К (Ат-IVК)
Арматура Ат600С (Ат-IVС)
Арматура АТ800
Арматура АТ800К (Ат-VK)
Арматура В500С
Стальная арматура
Пруток с твердым хромовым покрытием
Стальная дробь
Дробь стальная колотая
Дробь стальная литая
Стальной блюм
Стальной квадрат
Высоколегированный квадрат
Горячекатаный квадрат
Калиброванный квадрат
Кованый квадрат
Низколегированный квадрат
Оцинкованный квадрат
Стальной круг
Буровой пустотелый круг
Горячекатаный круг
Калиброванный круг
Кованый круг
Круг серебрянка
Низколегированный круг
Оцинкованный круг
Стальной пруток
Горячекатаный круглый пруток
Калиброванный круглый пруток
Квадратный пруток
Оцинкованный пруток
Сварочный омедненный пруток
Стальной шестигранник
Буровой шестигранник
Горячекатанный шестигранник
Калиброванный шестигранник
Стальные заготовки
Стальные кольца
Стальные круглые заготовки
Стальные прямоугольные заготовки
Стальные ленты
Горячекатаная лента
Лента для бронирования кабелей
Лента для щелочных аккумуляторов
Лента монтажная
Лента оцинкованная
Лента перфорированная
Лента пружинная
Лента стальная плющенная
Лента стальная повышенной прочности
Лента стальная термообработанная
Лента упаковочная
Лента штамповальная
Низкоуглеродистая лента
Холоднокатаная конструкционная лента
Стальные полосы
Горячекатаная полоса
Кованая полоса
Легированная полоса
Низколегированная полоса
Оцинкованная полоса
Фибра стальная
Шары помольные, мелющие
Стальные отливки VAUTID
Стальные сваи
Винтовые сваи
Конические стальные забивные сваи
Трубный прокат
Безнапорные асбестоцементные трубы
Бесшовные горячекатаные трубы
Бесшовные трубы
Гибкие насосно-компрессорные трубы
Гидравлическая фосфатированная трубка
Дренажные керамические трубы
Змеевики для резервуаров
Коррозионностойкие трубы
Котельные трубы
Легированные трубы
Напорные асбоцементные трубы
Низколегированная труба
Оцинкованные трубы
Панцирные трубы
Полипропиленовые гофрированные трубы
Полиэтиленовые гофрированные трубы
Спиралешовные трубы
Труба API 5L
Труба бесшовная холоднокатаная
Труба бетонная
Труба восстановленная
Труба колонковая
Труба крекинговая
Труба насосно-компрессорная НКТ
Труба обсадная
Трубы ASTM
Трубы БУ
Трубы бурильные
Трубы в изоляции
Трубы водогазопроводные ВГП
Трубы для карданных валов
Трубы для подводных морских трубопроводов
Трубы из обечаек
Трубы из углеродистой стали
Трубы магистральные
Трубы оцинкованные ВГП
Трубы профильные
Трубы стальные свертные паяные двухслойные
Трубы толстостенные
Трубы электросварные
Трубы электросварные оцинкованные
Футерованные трубы
Хонингованные трубы
Цельнотянутые трубы
Шамотные трубы
Фасонный прокат стали
Футеровочные плиты VAUTID
Элементы отделки для линеарных панелей
Нестандартные фасонные элементы
Отлив оцинкованный
Планка Z-образная
Планка аквилона ПА
Планка вертикального стыка
Планка оконного откоса
Планка отлива оконного
Планка отлива цокольного
Планка стыковочная универсальная
Планка угла внутреннего линеарного
Планка угла наружного линеарного
Полоса декоративная ПД
Элементы отделки для сайдинга
Акриловый сайдинг
Виниловый сайдинг
Отливы для сайдинга
Софиты
Фиброцементные фасадные панели
Фиброцементный сайдинг
Цокольный сайдинг
Трубопроводная арматура
Алюминиевые обечайки
Вентиляционные клапаны
Клапан инфильтрации воздуха
Многостворчатый вентиляционный клапан
Обратный вентиляционный клапан
Обратный вентиляционный клапан "бабочка"
Обратный вентиляционный клапан прямоугольный
Вентиляционные отводы
Вентиляционный отвод круглый 45гр
Вентиляционный отвод круглый 90гр
Вентиляционный отвод прямоугольный 45гр
Вентиляционный отвод прямоугольный 90гр
Водосточные системы
S-обвод
Водосборник
Водосточная воронка
Водосточная труба
Водосточный желоб
Водосточный отвод
Заглушка водосточной воронки
Заглушка желоба
Колено водосточной трубы
Комплекты водосточной системы
Сетка воронки
Соединитель желоба
Соединитель трубы
Тройник трубы
Угол желоба
Хомут трубы
Воздуховод оцинкованный
Воздуховод оцинкованный круглый
Воздуховод оцинкованный прямоугольный
Гидравлические соединения
Адаптеры
Ввертные адаптеры
Ввертные регулируемые штуцера
Комплектующие для адаптеров
Переборочные адаптеры
Приварные адаптеры
Соединения для подключения измерительных устройств
Соединения проходные
Соединения проходные с накидной гайкой
Штуцера ввертные с накидной гайкой
Быстроразъемные соединения
Быстроразъемные соединения FLAT FACE CPR
Быстроразъемные соединения ISO-A
Быстроразъемные соединения STG
Быстроразъемные соединения TGW
Заглушки для БРС
Заглушки для БРС
Заглушки для БРС (пластиковые)
Заглушки для БРС (стальные)
Обжимные муфты
Муфта обжимная 1SN
Муфта обжимная 1SN-2SN
Муфта обжимная 1SС-1SN-2SC
Муфта обжимная 4SH
Муфта обжимная 4SP-4SH
Муфта обжимная R13
Муфта обжимная R7
Фитинги для РВД
Фитинг BSP
Фитинг DKL
Фитинг DKO
Фитинг JIC
Фитинг NPTF
Фитинг ORFS
Фитинг метрический BANJO
Фитинг фланец SF
Запорно-регулирующая арматура
Дисковые затворы
Дисковые затворы с редуктором
Дисковые затворы с рукояткой
Затворы дисковые с пневмоприводом
Затворы дисковые с электроприводом
Привод воздух-пружина для дискового затвора
Штампосварные поворотные затворы с резиновым уплотнителем
Дисковые краны
Дисковый кран AWH резьба
Дисковый кран бабочка резьба-сварка
Дисковый кран сварка-сварка
Дисковый межфланцевый кран
Плавно переставляемая рукоятка для дискового крана
Стандартная рукоятка с шариком для дискового крана
Дроссели
Дроссели высокого давления
Дроссели редукционно-охладительных установок
Дроссели технологических линий под приварку
Титановые дроссели
Фланцевые дроссели с ручным управлением
Фланцевые дроссели технологических линий
Дроссельный вентиль
Задвижки из цветных металлов
Задвижки алюминиевые
Задвижки бронзовые
Задвижки латунные
Клапан
Балансировочный клапан
Запорные вентили-клапаны
Обратные поворотные клапаны
Обратный межфланцевый клапан
Обратный муфтовый клапан
Предохранительный клапан
Регулирующий вентиль-клапан
Тарельчатый обратный клапан резьба-сварка
Тарельчатый обратный клапан сварка-сварка
Шариковый обратный клапан
Стальные задвижки
Задвижка ЗМС
Задвижка с электроприводом
Задвижка шиберная со штурвалом
Клиновые задвижки
Нержавеющие задвижки
Шиберные задвижки
Фильтры
Грязевики
Муфтовый фильтр
Угловой трубчатый фильтр
Фланцевый фильтр
Шаровые краны
Двухкамерный шаровой кран резьба-резьба
Трехкамерный кран шаровой сварка-сварка
Трехкамерный кран шаровый резьба-резьба
Шаровые краны из цветных металлов
Шаровые краны с приводом
Шаровые краны с ручным управлением
Коаксиальные трубы и комплектующие
Коаксиальные опоры
Коаксиальные отводы 45 градусов
Коаксиальные отводы 90 градусов
Коаксиальные тройники
Коаксиальные трубы
Коаксиальные трубы с зонтом
Компенсаторы
Компенсатор для систем отопления
Компенсатор резиновый муфтовый
Компенсатор резиновый фланцевый
Компенсатор сильфонный осевой
Конические обечайки
Крепления трубопроводов
Закладные детали для трубопроводов
Крепежные изделия для трубопроводов
Крепление двух трубопроводов к колонне
Крепление двух трубопроводов к перекрытию
Крепление двух трубопроводов к стене
Крепление нескольких трубопроводов к перекрытию
Крепление одного трубопровода к железобетонной балке
Крепление одного трубопровода к перекрытию
Крепление трех и более трубопроводов
Крепление трех трубопроводов к перекрытию
Крепление трубопроводов к полу
Крепление четырех трубопроводов к железобетонной колонне
Крепления к балкам перекрытия на подвесках
Крепления к железобетонным колоннам
Крепления к кирпичным стенам
Крепления к металлическим площадкам
Крепления к ригелям на подвесках
Крепления к стеновым панелям
Крепления трубопроводов к металлическим колоннам
Крепления трубопроводов к плитам перекрытия
Опорные узлы для катковых блоков
Траверса металлическая подвесная
Траверса-балка металлическая подвесная
Шпильки для трубопроводов
Медные фитинги
Клапан Шредера
Медные заглушки под пайку
Медные крестовины
Медные крестовины под пайку
Медные муфты
Медные прямые муфты
Переходные двухраструбные муфты
Переходные однораструбные муфты
Медные отводы
Медное колено 180
Медное колено 45
Медный отвод 90
Медные переходы
Медные переходы с внутренней резьбой
Медные переходы с наружной резьбой
Медные угловые переходы с внутренней резьбой
Медные угловые переходы с наружной резьбой
Медные тройники
Медные обжимные тройники
Медные пресс тройники
Медные резьбовые тройники
Медные тройники под пайку
Медные фитинги для холодильного оборудования
Медная муфта
Медная переходная муфта
Медный тройник
Медный угольник
Медный угол
Обечайка чугунного люка
Оцинкованные обечайки
Полиэтиленовые фитинги
Полиэтиленовые втулки
Полиэтиленовые втулки ПЭ 100
Полиэтиленовые втулки ПЭ 80
Полиэтиленовые отводы
Полиэтиленовые отводы 45 градусов
Полиэтиленовые отводы 90 градусов
Полиэтиленовые переходы
Полиэтиленовые переходы ПЭ 100
Полиэтиленовые переходы ПЭ 80
Полиэтиленовые тройники
Полиэтиленовые переходные тройники
Полиэтиленовые равнопроходные тройники
Распылительные головки
Распылительная головка зажим
Распылительная головка резьба
Резьбовые предохранители для обсадных труб и муфт
Соединительные части
Соединительная часть GG
Соединительная часть GK
Стальные фитинги
Муфты
Боковые соединения
Кольцо Спейсер
Молочная муфта DIN
Молочная муфта SMS
Муфты для обсадных труб
Муфты для труб НКВ
Муфты хризотилцементные
Приварная муфта G3
Уплотнения для труб
Уплотнительные манжеты и переходники
Ниппель
Двойной ниппель для соединения труб
Приварной ниппель G2
Сварной ниппель с трубной резьбой
Переводники
Переводник переходный НКВ
Переходник нержавеющий H-SHB
Переходные футорки
Резьбовые угольники
Резьбовые угольники ВР/ВР
Резьбовые угольники ВР/НР
Сгоны для труб ВГП
Соединитель нержавеющий с внутренними резьбами H-SSA
Соединитель нержавеющий с наружными резьбами H-SNR
Стальной полусгон
Стальные американки
Американка ВР-ВР
Американка ВР-НР
Американка ВР-С
Американка НР-НР
Американка НР-С
Американка С-С
Американка угловая ВР-ВР
Американка угловая ВР-НР
Стальные патрубки
Конический патрубок
Приварной патрубок зажимного соединения CLAMP
Резьбовой патрубок
Штуцер нержавеющий CFC
Штуцер нержавеющий COM
Стальные цилиндрические обечайки
Судовые пружинные подвески
Тяга пружинная 1А
Тяга пружинная 2А
Сэндвич трубы и комплектующие
Оголовок
Оголовок с дефлектором
Оголовок-зонт
Одноконтурные дымоходы
Старт-сэндвич
Сэндвич трубы
Сэндвич-отводы 45 градусов
Сэндвич-отводы 90 градусов
Сэндвич-пластины опорные
Сэндвич-пластины опорные на перекрытие
Сэндвич-тройники 45 градусов
Сэндвич-тройники 90 градусов
Титановые воздуховоды
Титановые бандажи
Титановые дефлекторы
Титановые зонты
Титановые неравнопроходные Y-тройники
Титановые неравнопроходные косые тройники
Титановые односторонние переходы
Титановые патрубки присоединительные
Титановые переходы с круглого на прямоугольное сечение
Титановые переходы с круглого на прямоугольное сечение односторонние
Титановые продувочные трубы
Титановые проходы через перекрытия
Титановые равнопроходные Y-тройники
Титановые утки
Титановые утки переходы
Титановые фланцы
Титановые прямые участки
Титановые фитинги
Концентрический титановый переход
Сварной отвод из титана
Титановая поворотная заглушка
Титановые отводы
Титановый поплавок
Титановый тройник
Трубные опоры
Катковые опоры
Двухкатковая опора
Катковая двухъярусная опора
Катковая направляющая опора
Катковая опора трубопроводов ТЭС и АЭС
Катковая пружинная опора трубопроводов ТЭС и АЭС
Катковые обоймы для опор трубопроводов ТЭС и АЭС
Однокатковая опора
Стальная катковая опора
Корпусные опоры
Корпус на опорной балке для пружин
Корпус на опорной балке с проушинами
Корпусная приварная опора
Корпусная хомутовая неподвижная опора
Корпусная хомутовая подвижная опора
Неподвижные опоры
Мертвая опора
Неподвижная боковая опора
Неподвижная бугельная опора
Неподвижная бугельная хомутовая опора с корпусом
Неподвижная двухупорная опора
Неподвижная двухупорная усиленная опора
Неподвижная лобовая опора сальниковых компенсаторов
Неподвижная опора для вертикальных коробов
Неподвижная опора с плоским хомутом
Неподвижная опора трубопроводов ТЭС и АЭС
Неподвижная четырехупорная опора
Неподвижная четырехупорная усиленная опора
Неподвижная щитовая опора
Неподвижная щитовая усиленная опора
Неподвижные опоры для труб в ППУ
Сварные неподвижные опоры
Однорядные опоры
Однорядная опора с прерывистым основанием
Однорядная опора со сплошным основанием
Однорядная отдельная опора
Опора вертикальных трубопроводов
Опора для крепления арматуры
Опора крутоизогнутых отводов
Опора с сопровождением
Опора сварных отводов
Опоры ТПР
Опоры ТПР.04.01(2).00.000
Опоры ТПР.05.06(3).00.000
Опоры ТПР.05.11(4).00.000
Опоры ТПР.05.15(1).00.000
Опоры ТПР.05.18(1).00.000
Опоры ТПР.05.19(2).00.000
Опоры ТПР.05.21(1).00.000
Опоры ТПР.05.24(3).00.000
Опоры ТПР.05.29.00.000
Опоры ТПР.06.34(4).00.000
Опоры ТПР.07.35.00.000
Опоры ТПР.08.13.00.000
Опоры ТПР.08.17(2).00.000
Опоры ТПР.08.38.00.000
Опоры ТПР.08.71(1).00.000
Опоры ТПР.08.73(1).00.000
Опоры ТПР.10.14(1).00.000
Опоры ТПР.13.53(1).00.000
Опоры ТПР.14.05.00.000
Опоры ТПР.14.45.00.000
Подвижные опоры
Подвижная и направляющая опора в ППУ изоляции
Подвижная хомутовая опора
Стальная подвижная опора
Подпятники для трубопроводов
Приварные опоры
Приварная скользящая и неподвижная опора
Приварная скользящая направляющая опора
Приварная стальная опора
Приварная уголковая опора
Приварные неподвижные опоры
Приварные подвески на опорной балке с проушинами
Приварные скользящие опоры
Приварные скользящие-направляющие опоры
Разгрузочная опора
Регулируемые опоры трубопроводов
Сварные направляющие опоры
Скользящие опоры
Корпуса скользящих опор трубопроводов ТЭС и АЭС
Сварные скользящие опоры
Скользящая бескорпусная опора
Скользящая бугельная опора
Скользящая диэлектрическая опора
Скользящая и неподвижная опора
Скользящая и неподвижная опора с направляющим хомутом
Скользящая направляющая опора
Скользящая неподвижная опора
Скользящая опора без изоляции
Скользящая опора с направляющей скобой
Скользящая опора с плоским хомутом
Скользящая опора трубопроводов ТЭС и АЭС
Скользящая подкладная опора в футляре для труб в ППУ
Скользящая подкладная опора для труб в ППУ
Скользящая приварная опора
Скользящие опоры для трубы в ППУ
Стальная скользящая опора
Тавровые опоры
Тавровая приварная опора
Тавровая хомутовая неподвижная опора
Тавровая хомутовая подвижная опора
Трубчатые опоры
Стальная трубчатая опора
Трубчатая опора крутоизогнутых отводов
Хомутовые опоры
Двуххомутовые неподвижные опоры
Двуххомутовые скользящие опоры
Неподвижная хомутовая опора с корпусом
Однохомутовые неподвижные опоры
Однохомутовые скользящие опоры
Опора без изоляции с направляющим хомутом
Скользящая направляющая двуххомутовая опора
Скользящая направляющая хомутовая опора трубопроводов ТЭС и АЭС
Хомутовая бескорпусная неподвижная опора
Хомутовая бескорпусная подвижная опора
Хомутовые направляющие опоры
Хомутовые неподвижные опоры
Хомутовые опоры для трубопроводов
Хомутовые скользящие опоры
Шариковая опора
Швеллерные опоры
Швеллерная приварная опора
Швеллерные скользящие и неподвижные опоры
Элементы трубопроводных систем
Блоки для опор
Блоки приварные с накладкой подвесок горизонтальных стальных трубопроводов
Вилки для подвесок трубопроводов ТЭС и АЭС
Втулки для опор
Коромысла с тягами подвесок стальных трубопроводов
Лапа для вертикальных трубопроводов
Лапа с накладкой для вертикальных трубопроводов
Муфты для блоков подвесок вертикальных и горизонтальных трубопроводов
Муфты подвесок стальных трубопроводов
Накладки блоков приварных подвесок стальных трубопроводов
Накладки для подвесок трубопроводов
Опорные балки
Опорные плиты
Плавник с накладкой
Плавники для подвесок трубопроводов
Плавники приварные с накладкой
Планки для блоков подвесок горизонтальных трубопроводов
Плиты для блоков подвесок трубопроводов
Подвески для трубопроводов
Подвесная пружинная опора
Полухомуты для трубопроводов
Прокладки для трубопроводов
Прокладки для хомутовых блоков подвесок вертикальных трубопроводов
Прокладки для хомутовых блоков подвесок горизонтальных трубопроводов
Проушина с накладкой
Проушины для подвесок трубопроводов
Проушины подвесок стальных трубопроводов
Проушины с тягой подвесок стальных трубопроводов
Пружины винтовые цилиндрические для подвесок трубопроводов ТЭС и АЭС
Разгружающее устройство для блоков пружин
Серьги для подвесок трубопроводов
Серьги подвесок стальных трубопроводов
Скоба
Стаканы для установки пружин подвесок стальных трубопроводов
Талрепы для подвесок трубопроводов
Траверсы для подвесок трубопроводов
Тяги для опор
Упоры для блоков подвесок вертикальных трубопроводов
Упоры подвесок стальных трубопроводов
Ушки для подвесок трубопроводов
Хомуты для трубопроводов
Фасонные изделия в ППУ
Z-образный элемент в ППУ
Отводы в ППУ
Тройник в ППУ
Эксцентрический переход в ППУ
Фасонные части трубопроводов
Заглушки
Днища
Заглушка коническая TN192
Заглушка коническая с уплотнительным кольцом TN324
Заглушка с рукояткой
Заглушка с торцевым уплотнением под шестигранник в тело TN185GG M
Заглушка трубы и РВД с фитингами DKOL-S TN296
Заглушки эллиптические
Поворотные заглушки
Фланцевая заглушка
Отводы стальные
Крутоизогнутые отводы из черной и нержавеющей стали
Нержавеющие отводы
Оснащенные отводы
Отвод двойной T-образный
Отводы в ВУС изоляции
Отводы гнутые
Отводы сварные секторные
Стальной фланцевый отвод
Точеные отводы
Штампосварные отводы
Переходы
Концентрические переходы
Нержавеющие переходы
Переходы сварные
Стальной фланцевый переход
Точеный переход
Штампосварной переход ШПС
Эксцентрические переходы
Стальные кресты
Кресты фланцевые с пожарной подставкой ППКФ
Стальные фланцевые кресты
Тройник оцинкованный
Тройники
Нержавеющий равнопроходной тройник СТА
Оснащенные тройники
Стальной фланцевый тройник
Тройники бесшовные
Тройники сварные
Тройники точеные
Штампосварной тройник ТШС
Фланцы и фланцевые соединения
Заготовки для фланцев
Изолирующие фланцевые соединения
Отбортовка
Стальные прокладки для фланцев
Кольца Армко восьмиугольного сечения
Кольцо АРМКО овальное
Фланцы
Алюминиевый свободный фланец
Воротниковые фланцы
Глухой фланец
Переходный сварной фланец
Плоские фланцы
Резьбовой фланец
Свободные фланцы
Щелевая труба для углового фильтра
Элеваторы и комплектующие
Водоструйные элеваторы
Сопло для стакана чугунного элеватора
Стаканы для чугунного элеватора
Изоляция труб
ВУС-Изоляция
Гофрированная алюминиевая фольга
Заглушка в изоляции
Изоляция K-Flex трубчатая
Каучуковая синтетическая вспененная изоляция
Изоляция с алюминиевым покрытием
Самоклеющаяся рулонная изоляция
Самоклеющаяся с алюминиевым покрытием изоляция
Стандартная рулонная изоляция
Трубчатая изоляция
Кожухи для изоляции
Оболочки защитные съемные на врезки
Оболочки защитные съемные на теплоизоляционные плоские и эллиптические заглушки
Оболочки защитные съемные на теплоизоляционные фланцевые заглушки
Оболочки защитные съемные на теплоизоляционные фланцы
Оболочки конусные на емкости
Оболочки на теплоизоляционные отводы
Оболочки на теплоизоляционные отводы 30 градусов
Оболочки на теплоизоляционные отводы 45 градусов
Оболочки на теплоизоляционные отводы 60 градусов
Оболочки на теплоизоляционные отводы 90 градусов
Оболочки на теплоизоляционные переходы
Оболочки на теплоизоляционные тройники
Большие оболочки на теплоизоляционные переходные тройники
Большие оболочки на теплоизоляционные равнопроходные тройники
Оболочки на теплоизоляционные переходные тройники
Оболочки на теплоизоляционные равнопроходные тройники
Оболочки на теплоизоляционные цилиндры
Оболочки цеппелиновые на емкости
Композитные защитные футляры
Концевой элемент в ППУ-ОЦ, -ПЭ, -ПЭ-Б
Лента Лиам
Отводы теплоизоляционные
Теплоизоляционные отводы 30 градусов
Теплоизоляционные отводы 45 градусов
Теплоизоляционные отводы 60 градусов
Теплоизоляционные отводы 90 градусов
ППМ-Изоляция
ППУ - Изоляция
Скорлупа ППУ
рулоны K-Flex
Скорлупа ППС
Стекловолокно
Теплоизоляционные врезки
Теплоизоляционные переходы конические, концентрические
Теплоизоляционные тройники
Большие теплоизоляционные переходные тройники
Большие теплоизоляционные равнопроходные тройники
Теплоизоляционные переходные тройники
Теплоизоляционные равнопроходные тройники
Теплоизоляционные цилиндры
Кашированные цилиндры
Некашированные полуцилиндры
Некашированные цилиндры
Некашированные четверть цилиндры
Плоские цилиндры
Теплоизоляционный фланец
ЭП-Изоляция
Чугунный прокат
Арматура чугунная
Заглушка фланцевая чугунная
Колено чугунное
Колено раструб - гладкий конец чугунное
Колено раструб - фланец чугунное
Колено раструбное чугунное
Колено фланец - гладкий конец чугунное
Колено фланцевое чугунное
Контргайка из ковкого чугуна
Кресты чугунные
Кресты раструб-фланец чугунные
Кресты раструбные чугунные
Кресты фланец-раструб с пожарной подставкой чугунные
Кресты фланцевые с пожарной подставкой чугунные
Кресты фланцевые чугунные
Муфта чугунная
Ниппель из ковкого чугуна
Отводы чугунные
Отвод канализационный
Отвод раструб - гладкий конец чугунный
Отвод раструбный чугунный
Патрубки чугунные
Патрубки фланец - гладкий чугунные
Патрубки фланец - раструб чугунный
Патрубок компенсационный
Патрубок раструб с переходом на сталь чугунный
Переходы чугунные
Переходы раструб-фланец чугунные
Переходы раструбные чугунные
Переходы фланцевые чугунные
Пожарные подставки чугунные
Пожарные подставки раструбные чугунные
Пожарные подставки фланцевые чугунные
Раструб чугунный
Двойной раструб чугунный
Ревизия канализационная чугунная
Трап чугунный
Тройники чугунные
Косые чугунные тройники
Тройники раструб-фланец с пожарной подставкой чугунные
Тройники раструб-фланец чугунные
Тройники раструбные чугунные
Тройники фланцевые с пожарной подставкой чугунные
Тройники фланцевые чугунные
Чугунная канализационная заглушка
Чугунная канализационная прочистка-заглушка
Чугунная надвижная муфта
Чугунные задвижки
Задвижка клиновая чугунная с невыдвижным шпинделем
Задвижка клиновая чугунная фланцевая с невыдвижным шпинделем под электропривод
Задвижка клиновая чугунная фланцевая с невыдвижным шпинделем с редуктором
Задвижка с обрезиненным клином с невыдвижным шпинделем
Задвижки
Задвижки чугунные клиновые с выдвижным шпинделем
Чугунная параллельная двухдисковая задвижка с выдвижным шпинделем
Чугунные затворы
Затвор поворотный чугунный
Чугунные магнитные фильтры
Чугунные обратные двухстворчатые межфланцевые клапаны
Чугунные сетчатые фильтры
Чугунные шаровые краны
Чугунный отступ
Безраструбная канализация
Безраструбная заглушка
Безраструбная заглушка с прижимными скобами
Безраструбная чугунная заглушка
Безраструбная крестовина
Безраструбная крестовина двухплоскостная 88 гр
Безраструбная крестовина одноплоскостная 45 гр
Безраструбная крестовина одноплоскостная 70 гр
Безраструбная крестовина одноплоскостная 88 гр
Безраструбная опорная труба
Безраструбная пресс-заглушка
Безраструбная ревизия
Безраструбная ревизия с круглым отверстием
Безраструбная ревизия с прямоугольным отверстием
Безраструбная труба
Безраструбное опорное кольцо
Безраструбный отвод
Безраструбный короткий отвод 15 гр
Безраструбный короткий отвод 30 гр
Безраструбный короткий отвод 45 гр
Безраструбный короткий отвод 69 гр
Безраструбный короткий отвод 88 гр
Отвод 45 гр с удлиненной стороной
Отвод 88 гр из двух колен
Отвод 88 гр с удлиненной стороной
Отвод 88 гр с успокоительным участком
Безраструбный переход
Безраструбный переход на другие материалы konfix
Безраструбный чугунный переход
Безраструбный сифон
Безраструбный сифон ливневый
Безраструбный сифон универсальный
Безраструбный тройник
Безраструбный тройник 45 гр
Безраструбный тройник 69 гр
Безраструбный тройник 88 гр
Безраструбный фланец переходной
Безраструбный хомут высокой нагрузки HD
Воронка водосточная чугунная
Демонтажная вставка
Дождеприемники чугунные
Дробь чугунная
Дробь чугунная колотая
Дробь чугунная колотая улучшенная
Дробь чугунная литая
Дробь чугунная литая улучшенная
Колосниковые решетки
Крестовина чугунная раструбная
Лоток водоотводный с решёткой
Люки чугунные
Манжета к трубе чугунной
Решетка водоотводная
Трубы чугунные С (ЦПП, Без ЦПП)
Утяжелитель чугунный
Чугун
Чугун литейный
Чугун передельный
Чугунная труба ЧК
Чугунная чушка
Чугунные втулки
Чугунные колосники для котлов
Чугунные отливки
Чугунные радиаторы
10-секционный чугунный радиатор
12-секционный чугунный радиатор
3-секционный чугунный радиатор
4-секционный чугунный радиатор
7-секционный чугунный радиатор
Регистры отопления
Чугунный круг
Чугунный фланцевый патрубок под манометр
Сплавы
Баббиты
Кобальтовые сплавы
Кобальтовая проволока
Лист из кобальтового сплава
Магниты из кобальтового сплава
Полоса из кобальтового сплава
Пруток из кобальтового сплава
Фольга из кобальтового сплава
Легкоплавкие припои
Сплав Вуда
Сплав Гутри
Сплав Д'Арсе
Сплав Деварда
Сплав Липовитца
Сплав Ньютона
Сплав Розе
Лигатура
Лигатура алюминий
Лигатура алюминобариевая
Лигатура бор
Лигатура ванадий
Лигатура железо
Лигатура иттрий
Лигатура кобальт
Лигатура магний-неодим
Лигатура медь
Лигатура молибден
Лигатура никель
Лигатура ниобий-алюминий
Лигатура свинец
Лигатура ферроалюмоциркониевая
Лигатура хром-железо-никелевая
Лигатура хромалюминиевая
Лигатура цинк
Лигатура цирконий
Медно-никелевые сплавы
Алюмель
Лента алюмель
Лист алюмель
Проволока алюмель
Камелин
Лента камелин
Пруток камелин
Фольга камелин
Константан
Лента константан
Проволока константан
Пруток константан
Копель
Проволока копель
Пруток копель
Куниаль
Куниаль лента
Куниаль лист
Куниаль полоса
Куниаль пруток
Манганин
Лента манганин
Манганиновая фольга
Проволока манганин
Медно-никелевые изделия
Медно-никелевая лента
Медно-никелевая полоса
Медно-никелевая проволока
Медно-никелевая стружка
Медно-никелевые детали трубопроводов
Медно-никелевые трубы
Медно-никелевые фланцы
Медно-никелевый перфорированный лист
Медно-никелевый пруток
Мельхиор
Мельхиоровая лента
Мельхиоровая пластина
Мельхиоровая проволока
Мельхиоровая труба
Мельхиоровый лист
Мельхиоровый пруток
Монель
Круг Монель
Лента Монель
Монелевая труба
Монелевый лист
Проволока Монель
Пруток монель
Слиток Монель
Нейзильбер
Проволока нейзильбер
Проволока МНЖКТ5-1-0,2-0,2
Сплав МНЖ5-1
Лист МНЖ5-1
Полоса МНЖ5-1
Труба МНЖ5-1
Труба МНЖМц11-11-0.6
Хромель
Лента хромель
Проволока хромель
Платинитовая проволока
Прецизионные сплавы
Виброгасящие сплавы (демпфирующие)
Виброгасящий круг
Лента для каталитических нейтрализаторов
Лента для магнитной записи
Лента для нагревателей
Лента для постоянных магнитов
Лента для резисторов и деталей полупроводниковых изделий
Магнитная проволока
Магнитно-мягкие сплавы
Лента из магнитно-мягких сплавов
Лист из магнитно-мягких сплавов
Пермаллой
Пермендюр
Перменорм
Перминвар
Полоса из магнитно-мягких сплавов
Проволока из магнитно-мягких сплавов
Пруток из магнитно-мягких сплавов
Слиток из магнитно-мягких сплавов
Магнитно-твердые сплавы
Викаллой
Лента из магнитно-твердых сплавов
Лист из магнитно-твердых сплавов
Магнитно-твердая полоса
Проволока из магнитно-твердых сплавов
Пруток из магнитно-твердых сплавов
Слиток из магнитно-твердых сплавов
Немагнитные сплавы
Немагнитная лента
Немагнитная проволока
Немагнитный круг
Немагнитный лист
Постоянные магниты
Прецизионная труба
Прецизионная фольга
Прецизионные прочие сплавы
Проволока магнитная для записи гармонических сигналов
Сверхпроводящие сплавы
Слябы из прецизионных сплавов
Сплав с заданным ТКЛР
Инвар
Квадрат ТКЛР
Ковар
Лента ТКЛР
Лист ТКЛР
Платинит
Полоса ТКЛР
Проволока ТКЛР
Пруток ТКЛР
Слиток ТКЛР
Суперинвар
Труба ТКЛР
Сплавы с высоким электрическим сопротивлением
Квадрат из сплава с высоким электрическим сопротивлением
Ленты из сплава с высоким электрическим сопротивлением
Проволока из сплава с высоким электрическим сопротивлением
Пруток из сплава с высоким электрическим сопротивлением
Сплавы с высокой степенью проводимости при низких температурах
Сплавы с заданными свойствами упругости
Лента с заданными свойствами упругости
Лист с заданными свойствами упругости
Полоса с заданными свойствами упругости
Проволока с заданными свойствами упругости
Пруток с заданными свойствами упругости
Слиток с заданными свойствами упругости
Труба с заданными свойствами упругости
Элинвар
Проволока термопарная вольфрам-рениевая
Резистивные сплавы
Силумин
Силумин гранулы
Силумин чушка
Твердые сплавы
Вольфрамовые пластины
Пластины из сплавов с износостойким покрытием
Победитовые пластины
Титановольфрамовые пластины
Титанотанталовольфрамовые пластины
Ферросплавы
Мишметалл (Ферроцерий)
Силикокальций
Силикомарганец
Ферроалюминий
Ферроалюмониобий
Ферробор
Феррованадий
Ферровольфрам
Ферромарганец
Ферромолибден
Ферроникель
Феррониобий
Ферросера
Ферросиликованадий с марганцем
Ферросиликомагний
Ферросиликомарганец
Ферросиликотитан
Ферросиликохром
Ферросиликоцирконий
Ферросилиций
Ферротитан
Феррофосфор
Феррохром
Ферроцерий в стержнях
Фехраль
Резистивные сплавы(Фехраль)
Фехралевая проволока
Фехралевая сетка
Фехралевый пруток
ЦАМ
Сварочные материалы
Графитовые электроды
Кобальтовый наплавочный порошок
Припой
Присадочная проволока
Присадочный пруток
Проволока для металлизации
Проволока для сварки чугуна
Пруток для наплавки
Сварной кобальтовый пруток
Сварочная порошковая проволока VAUTID
Сварочная проволока из высоколегированной стали
Сварочная проволока из кобальтового сплава
Сварочная проволока из легированной стали
Сварочная проволока из низкоуглеродистой стали
Угольные электроды
Флюсовая паста
Флюсы
Электрод из кобальтового сплава
Электродная лента
Электроды для ответственных конструкций
Электроды для подводной сварки
Электроды для резки металла
Электроды для сварки алюминия
Электроды для сварки бронзы
Электроды для сварки высоколегированных сталей
Электроды для сварки жаропрочных сталей
Электроды для сварки нержавеющей стали
Электроды для сварки низколегированных сталей
Электроды для сварки разнородных сталей
Электроды для сварки углеродистых сталей
Электроды для сварки чугуна
Электроды для теплоустойчивых сталей
Электроды наплавочные
Электроды сварочные
Полимерные изделия
Акриловые стекла
Cатинированные литые акриловые листы
Акриловые листы для торцевой подсветки
Зеркальные экструзионные акриловые листы
Литые акриловые листы
Экструзионные акриловые листы
Амортизаторы резиновые
Амортизаторы приборные
Амортизаторы приборные резинометаллические пластинчатые
Амортизаторы приборные резинометаллические чашечные
Амортизаторы резиновые NRE
Амортизаторы резинометаллические двухпластинчатые
Виброизоляторы резиновые вентиляторные взрывозащищенные
Корабельные амортизаторы
Корабельные амортизаторы АКСС-И
Корабельные амортизаторы АКСС-М
Корабельные амортизаторы АКСС-МХ
Валы обрезиненные
Валы с резиновой обкладкой для текстильных машин
Валы с резиновым массивом для ленторазрывных машин
Обрезиненные валы
Винипласт
Герметик резиновый
Герметик анаэробный
Герметик битумно-полимерный аэродромный
Герметик битумно-резиновый аэродромный
Герметик битумный аэродромный
Герметик для приборов
Герметик кремнийорганический
Герметик полимерный аэродромный
Герметик полисульфидный
Герметик РТИ
Герметик тиоколовый
Герметик фторсилоксановый
Гетинакс лист
Гидроизолирующие материалы
Бризол
Изол
Грязесъемники для штоков
Диафрагмы и мембраны резиновые
Диафрагма резино-фторопластовая
Диафрагма резиновая
Мембрана резиновая для фильтр-прессов типа ФПАКМ
Мембрана резинотканевая тарельчатая для тормозной камеры
Капролон
Капролон блочный
Капролон круг
Капролоновая втулка
Капролоновый стержень
Капролон (полиамид 6) графитонаполненный стержень (черный)
Капролон (полиамид 6) маслонаполненный стержень (черный)
Капролон стержень
Листы и пластины капролона
Клеи резиновые
Кремнийорганический клей
Нитрильный клей
Перхлорвиниловый клей
Полимерный клей
Резиновый клей
Фенольно-каучуковый клей
Хлоропреновый клей
Эпоксидный клей
Кольца и втулки
Втулка МУВП
Кабельные проходные втулки
Кольца для баллонов
Кольца для фляг
Кольца резиновые для пожарной арматуры
Кольца уплотнительные
Кольцо МУВП
Кольцо резиновое для асбоцементных труб
Кольцо резиновое уплотнительное для бетонных труб
Кольцо резиновое уплотнительное для чугунных труб
Кольцо резиновое уплотнительное прямоугольного сечения
Кольцо резинотканевое нажимное
Кольцо резинотканевое опорное
Кольцо уплотнительное для труб ПВХ
Комплектующие для водопроводной арматуры и сантехники
Кольца силиконовые
Сантехнические прокладки прямоугольного сечения
Сантехнические профили
Комплектующие для горнодобывающей отрасли
Габаритные износостойкие плиты
Лифтер для рудоразмольных мельниц
Плита вагоноопрокидователя
Резиновая футеровка спирального классификатора
Резиновые пластины с металлической подложкой
Резиновые сита для грохотов
Футеровка мельницы ММС
Комплектующие для нефтегазовой промышленности
Обтираторы скважинные
Уплотнительные манжеты пакера
Шайбы ТПР
Комплектующие для сельского хозяйства
Бильные пальцы
Муфта МВА
Сосковая резина для доильных аппаратов
Тройник молочный
Трубка молочная
Угольник МВА
Шланг поливочный
Конвейерные ленты
Антистатические конвейерные ленты
Бесконечные конвейерные ленты
Износостойкие конвейерные ленты
Конвейерные ленты общего назначения
Ленты транспортера
Маслостойкие конвейерные ленты
Морозостойкие конвейерные ленты
Пищевые конвейерные ленты
Резинотканевые конвейерные ленты
Рифленые конвейерные ленты
Сборные конвейерные ленты
Специальные конвейерные ленты
Теплостойкие конвейерные ленты
Трудновоспламеняющиеся конвейерные ленты
Трудносгораемые конвейерные ленты
Электропроводящие конвейерные ленты
Ленты резиновые
Лента ЛЭТСАР
Резиновая лента изоляционная
Резиновая лента уплотнительнаяРезиновая лента уплотнительная
Резинотканевая лента
Тиоколовая лента
Листовой ПВХ
Вспененный листовой ПВХ
Белый вспененный листовой ПВХ
Цветной вспененный листовой ПВХ
Сплошной листовой ПВХ
Белый сплошной листовой ПВХ
Прозрачный сплошной листовой ПВХ
Листовой пластик АБС
Листовой полистирол
Декоративный листовой полистирол
Зеркальный листовой полистирол
Прозрачный листовой полистирол
Ударопрочный листовой полистирол
Листовой ПЭТ
Листовой САН
Манжеты РТИ
Резиновые манжеты
Резиновые армированные манжеты
Резиновые торцевые уплотнения
Резиновые уплотнительные манжеты
Резинотканевые манжеты
Резинотканевые армированные манжеты
Резинотканевые уплотнительные манжеты
Резинотканевые шевронные манжеты
Мастика РТИ
Замазка уплотнительная
Компаунд
Масса уплотнительная
Мастика битумно-резиновая
Мастика каучуковая
Мастика полиизобутиленовая
Мастика полимерно-битумная
Мастика тиоколовая
Паста герметизирующая
Оргстекло
Пенокартон
Белый и цветной пенокартон
Самоклеящийся пенокартон
Пенополистирольные плиты
Пластики для гравировки
Пластики для лазерной гравировки
Пластики для механической гравировки
Пластина эбонитовая
Плиты резиновые
Гидроплиты резиновые
Маты животноводческие
Плита железнодорожного переезда
Плита трамвайного переезда
Плиты Рездор
Покрытия резиновые
Брусчатка резиновая
Дорожка резиновая
Коврик резиновый грязезащитный
Коврик резиновый диэлектрический
Накладки противоскользящие
Плитка резиновая
Покрытие резинотканевое
Проступь резиновая
Полиамид
Полиамид гранулированный
Полиамид литьевой
Полиамид матированный
Полиамид спирторастворимый
Полиамид стеклонаполненный
Полиамид тальконаполненный
Полиамид угленаполненный
Сополимер полиамида
Экструзионный полиамид стержень рецикл
Экструзионный полиамид
Экструзионный полиамид стержень
Полиацеталь
Полиацеталь втулки
Полиацеталь пластина
Полиацеталь стержень
Полибутилен
Полиизобутилен в брикетах
Поликарбонаты
Сотовые поликарбонаты
Сплошные поликарбонаты
Полимерно-песчаные изделия
Арычный лоток полимерно-песчаный
Бордюр полимерно-песчаный
Полимерпесчаные колодцы
Люк полимерно-песчаный
Полимерно-песчаное днище для колодцев
Полимерно-песчаное кольцо для колодцев
Полимерпесчаный конус для колодца
Полимерные трубы
Полипропилен
Полипропиленовый ворс
Полипропиленовый лист
Полиуретан
Полиуретан пластины
Полиуретан стержень
Полиэтилен
Высокомолекулярный полиэтилен
Линейный полиэтилен
Металлоценовый полиэтилен
Полиэтилен высокой плотности
Полиэтилен низкой плотности
Полиэтилен очень низкой плотности
Полиэтилен сверхнизкой плотности
Сверхвысокомолекулярный полиэтилен
Сшитый полиэтилен
Полиэтиленовые трубы
Напорные полиэтиленовые трубы Протект 1075 ПЭ 100 КС
Напорные полиэтиленовые трубы Протект 1075 ПЭ 100 КС для газопроводов
Обсадная труба ПВХ для скважин
Термостойкие полиэтиленовые трубы
Трубы напорные для водоснабжения и канализации ПЭ 100
Трубы ПВД
Трубы ПНД технические полиэтиленовые
Трубы полиэтиленовые газовые ПЭ80, ПЭ100
Трубы полиэтиленовые напорные ПЭ80 для водоснабжения и канализации
Полоса силиконовая для сквиджа
Прокладки резиновые железнодорожные
Подрельсовые и нашпальные прокладки прочие
Подрельсовые и нашпальные прокладки тип ЦП
Резиновая крошка
Резиновые прокладки
Резиновые прокладки кольцевые
Резиновые прокладки круглого сечения
Резиновые прокладки круглые
Резиновые прокладки плоские
Резиновые прокладки прямоугольного сечения
Резиновые прокладки прямоугольные
Резинотканевые прокладки полые круглого сечения
Резиновые технические пластины
Авиационные пластины
Атмосферомаслостойкая пластина
Вакуумные пластины
Вакуумная листовая пластина
Вакуумная рулонная пластина
Вибродемпфирующие пластины
Диэлектрические силиконовые пластины
Маслобензостойкие пластины
Маслобензостойкая листовая пластина
Маслобензостойкая рулонная пластина
Пищевые пластины
Пищевая листовая пластина
Пищевая рулонная пластина
Силиконовый коврик для мармелада
Пластины для использования в агрессивной среде
Пластины для штампов
Пластины ДСТ
Полиизобутиленовые пластины
Тепломорозокислотощелочестойкие пластины
Тепломорозокислотощелочестойкая листовая пластина
Тепломорозокислотощелочестойкая рулонная пластина
Термостойкие силиконовые пластины
Технические губчатые пластины
Технические пористые пластины
Фторсиликоновая пластина
Резиновый порошок
Резиноткани
Мембранное полотно
Прорезиненная ткань
Резиностеклоткань
Резиностеклоткань РЭТСАР
Ремни резиновые
Ремень вариаторный клиновой
Ремень вентиляторный клиновой
Ремень приводной клиновой
Ремень приводной многоручьевой
Ремень приводной плоский
Ремень приводной поликлиновой
Ремень приводной с металлокордом
Ремень транспортера
Ремень элеватора
РТИ для электроэнергетической промышленности
Втулки уплотнительные кабельного ввода ВКУ
Масляные прокладки и уплотнители для силовых трансформаторов
Пластина трансформаторная листовая
Пластина трансформаторная рулонная
Полосы и шнуры трансформаторные
Трубки электроизоляционные ТКР
Уплотнения для гидротехнических сооружений
Шайбы уплотнительные для масляных трансформаторов
Рукава резиновые
Рукав для сварки
Рукав для систем охлаждения
Рукав резиновый армированный
Рукав резиновый класс А
Рукав резиновый класс В
Рукав резиновый напорно-всасывающий
Рукав резиновый общего назначения
Рукав резиновый с металлической оплеткой
Рукав резиновый с нитяной оплеткой
Рукав резиновый с нитяным каркасом
Рукав резиновый с нитяным усилением
Рукав резиновый с присоединительной арматурой
Рукав резиновый с текстильным каркасом
Рукав резинотканевый
Рукав с текстильным усилением
Силиконовые профили
Катодная планка
Профили бытового назначения
Профили для строительных конструкций
Профили уплотнительные
Термостойкие силиконовые профили
Силиконовые резиновые смеси
Кабельные силиконовые резиновые смеси
Маслобензостойкие силиконовые резиновые смеси
Маслостойкие cиликоновые резиновые смеси
Силиконовые резиновые смеси общего назначения
Силиконовые резины с повышенной термостойкостью
Силиконовые резины с повышенными прочностными характеристиками и высоким раздиром
Силиконовые смеси для прессовых изделий
Силиконовые смеси для экструзионных изделий
Смеси резиновые невулканизированные товарные
Токопроводящие силиконовые смеси
Смеси резиновые
Сотовый полипропилен
Стекломагниевый лист
Стеклотекстолит
Стержень эбонитовый
Термоусадочная трубка
Тормозная лента
Трубки резиновые
Вакуумные трубки
Резиновые трубки
Силиконовые трубки
Трубка резиновая армированная латунной сеткой
Трубка резиновая вакуумная
Трубка резиновая диэлектрическая
Трубка резиновая для велосипедных насосов
Трубка резиновая для двигателей
Трубка резиновая для защиты кабелей
Трубка резиновая кислотощелочестойкая
Трубка резиновая маслобензостойкая
Трубка резиновая морозостойкая
Трубка резиновая пищевая
Трубка резиновая теплостойкая
Трубка резиновая техническая
Трубка резиновая унифицированная
Трубка резиновая экранирующая
Трубка резиновая электроизоляционная
Трубка эластомерная электроизоляционная
Трубки резиновые медицинские
Трубка резиновая медицинская вакуумная
Трубка резиновая медицинская для кислородных подушек
Трубка резиновая медицинская дренажная
Трубка резиновая медицинская слуховая
Трубка резиновая медицинская соединительная
Трубка силиконовая медицинская нестерильная
Фторопласт
Листы фторопласта
Фторопласт стержень
Фторопластовая лента
ФУМ жгут
ФУМ жгут круглого сечения
ФУМ жгут прямоугольного сечения
Шланги резиновые
Шланг резиновый армированный напорно-всасывающий
Шланг резиновый армированный подающий
Шланг резиновый армированный с крышкой
Шланг резиновый армированный с резиновым чехлом
Шланг резиновый двойной для газовой сварки
Шланг резиновый с накидными гайками
Шнуры резиновые
Вакуумные шнуры
Гернитовые шнуры
Круглые резиновые шнуры
Прямоугольные резиновые шнуры
Резиновые вакуумные шнуры
Резиновые вакуумные квадратные шнуры
Резиновые вакуумные круглые шнуры
Резиновые вакуумные прямоугольные шнуры
Резиновые кислотощелочестойкие шнуры
Резиновые кислотощелочестойкие квадратные шнуры
Резиновые кислотощелочестойкие круглые шнуры
Резиновые кислотощелочестойкие прямоугольные шнуры
Резиновые маслобензостойкие шнуры
Резиновые маслобензостойкие квадратные шнуры
Резиновые маслобензостойкие круглые шнуры
Резиновые маслобензостойкие прямоугольные шнуры
Резиновые морозостойкие шнуры
Резиновые морозостойкие квадратные шнуры
Резиновые морозостойкие круглые шнуры
Резиновые морозостойкие прямоугольные шнуры
Резиновые особо мягкие шнуры
Резиновые особо мягкие квадратные шнуры
Резиновые особо мягкие прямоугольные шнуры
Резиновые особо мягкие трапециевидные шнуры
Резиновые пищевые шнуры
Резиновые пищевые квадратные шнуры
Резиновые пищевые круглые шнуры
Резиновые пищевые прямоугольные шнуры
Резиновые самолетные круглые шнуры
Резиновые теплостойкие шнуры
Резиновые теплостойкие квадратные шнуры
Резиновые теплостойкие круглые шнуры
Резиновые теплостойкие прямоугольные шнуры
Резиновые унифицированные шнуры
Резиновые унифицированные квадратные шнуры
Резиновые унифицированные круглые шнуры
Резиновые унифицированные прямоугольные шнуры
Резиновые уплотнительные шнуры
Резиновые уплотнительные квадратные шнуры
Резиновые уплотнительные круглые шнуры
Резиновые уплотнительные прямоугольные шнуры
Силиконовые шнуры
Круглые силиконовые шнуры
Прямоугольные силиконовые шнуры
Силиконовые шнуры для светильников LED
Уплотнительные шнуры из особо мягкой резины
Композитные материалы
Алюминиевые композитные панели
Композитная арматура
Композитные трубы
Стеклопластиковые трубы
Трубы из базальтового волокна
Трубы из углеродного волокна
Контактная пластина
Текстолит
Листовой текстолит
Текстолит стержень
Электротехнический листовой текстолит
Уплотнительная спеченная лента
Эбонит
Эбонит лист
Эбонит стержень
Эбонит трубка
Кабель
Автомобильный провод
Бортовой кабель
Взрывной кабель
Водопогружной кабель
Высокочастотный кабель
Грозотрос
Жилы токопроводящие
Гибкие жилы
Многопроволочные гибкие жилы
Многопроволочные жилы
Однопроволочные жилы для больших сечений
Изоляция кабелей
Алюмофлекс
Оцинкованный металлорукав
Кабель дальней связи
Кабель для компьютерных сетей
Кабель для щеток электрических машин
Кабель управления
Контрольный кабель
Монтажный кабель
Нефтепогружной кабель
Обмоточные провода
Обмоточный круглый медный провод с эмалевой изоляцией
Провод обмоточный алюминиевый круглый
Провод обмоточный алюминиевый прямоугольный
Провод обмоточный прямоугольный медный
Провод обмоточный с бумажной изоляцией
Провод обмоточный с уплотненной бумагой
Провод для подвижного состава
Провод для радиоустановок
Провод контактный
Провод неизолированный
Противопожарный кабель
Радиочастотный кабель
Самонесущий изолированный провод
Сигнализационный кабель
Силовой кабель
Силовые гибкие кабели
Силовые кабели с бумажной изоляцией
Силовые кабели с пластмассовой изоляцией
Соединительный кабель
Станционный кабель
Стационарный кабель
Судовой кабель
Телефонный кабель
Теплостойкий монтажный провод
Термостойкий кабель
Термоэлектродный кабель
Универсальный кабель
Установочный провод
Шахтный кабель
Электроды анодного заземления
Метизы
Анкерные плиты
Литая анкерная плита
Сварные анкерные плиты
Составные анкерные плиты
Стальные анкерные плиты
Анкерные тяги
Анкерная тяга резьбовая с муфтой
Анкерная тяга с накладками
Анкерная тяга с проушиной
Плоская анкерная тяга
Арматурные каркасы
Арматурные каркасы для свай
Объемные арматурные каркасы (пространственные)
Плоские арматурные каркасы для фундамента
Фиксаторы "Змейка" для арматуры и сеток
Высокопрочный крепеж
Алюминиевые шайбы
Высокопрочная гайка
Высокопрочная шайба
Высокопрочные шпильки
Высокопрочный болт
Медные шайбы
Зажимы для стальных канатов
Латунные заклепки
Латунные заклепки с полукруглой головкой
Латунные заклепки с потайной головкой
Медные гвозди
Медные заклепки
Медная вытяжная заклепка
Медные заклепки с плоской головкой
Медные заклепки с полукруглой головкой
Медные заклепки с потайной головкой
Нержавеющие вытяжные заклепки
Стальные гайки
Глухая гайка
Глухая гайка в сборе
Шлицевая гайка
Стальные оцинкованные шпильки
Фундаментные анкерные блоки
Фундаментные болты
Болт фундаментный прямой тип 5.1
Болт фундаментный с коническим концом тип 6.1
Болт фундаментный с коническим концом тип 6.2
Болт фундаментный с коническим концом тип 6.3
Болты фундаментные изогнутые тип 1.1
Болты фундаментные изогнутые тип 1.2
Болты фундаментные с анкерной плитой тип 2.1
Болты фундаментные составные тип 3.1
Болты фундаментные составные тип 3.2
Болты фундаментные составные тип 4.1
Болты фундаментные составные тип 4.2
Болты фундаментные составные тип 4.3
Болты фундаментные тип 2.2
Болты фундаментные тип 2.3
Футеровочные болты (бронеболты)
Шпильки фланцевые
Закладные детали
Закладные детали ФМ
Закладные изделия МН по серии 1.400-15
МН 101-164 изделие
МН 201-228 изделие
МН 301-325 изделие
МН 401-418 изделие
МН 501-522 изделие
МН 523-538 изделие
МН 539-540 изделия
МН 541-554 изделие
МН 555-557 изделие
МН 558-565 изделия
МН 566-571 изделие
МН 601-615 изделие
МН 616-617 изделие
МН 701-775 изделие
МН 776-795 изделие
МН 801 изделие
МН 802-834 изделие
Фиксаторы арматуры
Защитная крышка для арматуры
Фиксаторы арматуры звездочка
Фиксаторы арматуры кольцо
Фиксаторы арматуры кубик
Фиксаторы арматуры многоуровневые
Фиксаторы арматуры настил
Фиксаторы арматуры стойка турецкая
Фиксаторы арматуры стульчик
Фиксаторы арматуры треугольник
Конструкции для трубопроводов
Конструкции для балластировки трубопроводов
Бункерное устройство для заполнения текстильных контейнеров
Мягкие соединительные пояса
Пластиковые балластировочные утяжелители УБП, ПКУ
Полимерно-контейнерное балластирующее устройство
Текстильный контейнер из технической ткани
Конструкции для защиты изоляционного покрытия трубопроводов
Защитные коврики для УБО и УБКМ
Скальный лист
Уплотнительный коврик из скального листа для УТК и ЧГ
Футеровочные маты для УБО
Футеровочные полотенца
Конструкции для очистки полости трубопроводов
Поршень полиуретановый дисковый
Поршень полиуретановый манжетно-дисковый
Поршень полиуретановый манжетный
Поршни пенополиуретановые литые ППЛ, ППЛ-М
Конструкции для сварки трубопроводов
Подогреватели стыков трубопроводов
Термозащитные пояса для защиты трубы от сварочных брызг
Термоизолирующие пояса для предотвращения преждевременного охлаждения сварочного шва
Конструкции для строительства переходов трубопроводов
Герметизирующие манжеты ГМР и ГМНР
Герметизирующие резинотканевые манжеты
Защитные прокладки из скального листа под ОНК
Защитные резинотканевые прокладки под ОНК
Опорно - направляющие кольца
Опорно - центрирующие кольца
Укрытие защитное герметизирующей манжеты
Противоэрозионные конструкции
Противоэрозионные полотенца
Противоэрозионный контейнер
Железобетонные изделия
Железобетонные колодцы (ЖБИ)
Бетонные кольца для колодцев
Кольца ЖБИ
Кольца конические колодцев
Кольцо опорное для колодцев
Дорожные плиты колодцев
Круглые плиты перекрытий колодцев
Опорные плиты колодцев
Плиты днища колодцев
Железобетонные плиты
Анкерно-опорные плиты
Железобетонные анкерные плиты
Железобетонные плиты перекрытий
Железобетонные утяжелители для трубопроводов
Железобетонные утяжелители УБГ
Железобетонные утяжелители УБКм
Железобетонные утяжелители УБО
Железобетонные утяжелители УБП
Железобетонные утяжелители УБТ
Железобетонные утяжелители УТК
Лотки ЖБИ
Трубы железобетонные
Труба железобетонная безнапорная
Труба железобетонная напорная
Электрооборудование
Услуги
Резка металла
Цинкование металла
Сварка металла
Защитное покрытие
Поставщики
Доставка
Компания
Вакансии
Политика конфиденциальности
Новости
Сертификаты
Контакты
Доставка
Доставка
Поставщики
Поиск
Каталог товаров
Назад
Каталог товаров
Цветной прокат и сплавы
Назад
Цветной прокат и сплавы
Алюминиевый прокат
Назад
Алюминиевый прокат
Алюминиевый лист
Лист алюминиевый ПВЛ
Рифленый алюминиевый лист
Алюминиевый перфорированный лист
Алюминиевый профнастил
Алюминиевая плита
Алюминиевая шина
Алюминиевая лента
Алюминиевый рулон
Алюминиевая фольга
Алюминиевая труба
Труба алюминиевая холоднодеформируемая
Труба алюминиевая электросварная
Алюминиевая профильная труба
Алюминиевая прессованная труба
Продольно-оребренные алюминиевые трубы
Алюминиевый круг
Алюминиевый пруток
Сварочный алюминиевый пруток
Алюминиевая проволока
Проволока алюминиевая электротехническая
Проволока алюминиевая для холодной высадки
Проволока алюминиевая для воздушных линий электропередач
Заклепочная алюминиевая проволока
Сварочная алюминиевая проволока
Сварочная порошковая алюминиевая проволока
Катанка алюминиевая
Алюминиевый квадрат
Алюминиевый шестигранник
Алюминиевая декоративная сетка
Алюминиевый тавр
Алюминиевый двутавр
Алюминиевый ш-образный профиль
Алюминиевый швеллер
Алюминиевый прессованный профиль
Бульбопрофиль
Алюминиевый полособульб
Алюминиевый уголок
Анодированный алюминий
Алюминиевая чушка
Переходные пластины АП
Алюминиевые втулки
Алюминиевые уплотнительные прокладки
Алюминиевая керноприемная труба
Алюминиевая полоса
Алюминиевые бульбоугольники
Алюминиевые крышки люков цистерн
Алюминиевый типографский лист
Шары из алюминия
Бронзовый прокат
Назад
Бронзовый прокат
Бронзовый лист
Бронзовая плита
Бронзовая полоса
Бронзовая шина
Бронзовая лента
Бронзовая фольга
Бронзовый круг
Бронзовый пруток
Бронзовые трубы
Бронзовый квадрат
Бронзовый шестигранник
Бронзовая сетка
Бронзовая проволока
Бронзовая втулка
Бронзовые отливки
Бронзовая чушка
Бронзовые поковки
Бронзовые шайбы
Бронзовый вкладыш
Ванадиевый прокат
Назад
Ванадиевый прокат
Ванадиевый лист
Лента ванадиевая
Плита ванадиевая
Полоса ванадиевая
Фольга ванадиевая
Круг ванадиевый
Ванадиевый пруток
Ванадиевая проволока
Ванадиевый слиток
Ванадий металлический
Вольфрамовый прокат
Назад
Вольфрамовый прокат
Вольфрамовый лист
Вольфрамовая полоса
Вольфрамовая фольга
Вольфрамовая лента
Вольфрамовый пруток
Вольфрамовая труба
Вольфрамовые заготовки
Вольфрамовая проволока
Вольфрамовая нить
Вольфрамовый электрод
Вольфрамовые тигли
Вольфрамовая лодочка
Вольфрамовый штабик
Вольфрамовый слиток
Вольфрамовый диск
Вольфрамовая спица
Вольфрамовые контакты
Гафниевый прокат
Назад
Гафниевый прокат
Гафниевый лист
Гафниевая полоса
Гафниевая фольга
Гафниевый пруток
Гафниевая проволока
Гафниевый слиток
Йодидный гафний
Гафниевая лента
Дюралюминиевый прокат
Назад
Дюралюминиевый прокат
Дюралевый лист
Дюралевый рифленый лист
Дюралевая полоса
Дюралевая плита
Дюралевая лента
Дюралевая труба
Дюралевый круг
Дюралевый пруток
Дюралевая проволока
Дюралевый квадрат
Дюралевый шестигранник
Дюралевый уголок
Дюралевый швеллер
Дюралевая болванка
Латунный прокат
Назад
Латунный прокат
Латунный круг
Латунный пруток
Латунный лист
Латунная плита
Латунная полоса
Латунные пластины
Латунная лента
Латунная фольга
Латунная проволока
Латунная катанка
Латунный квадрат
Латунный шестигранник
Латунная труба
Волноводная латунная труба
Латунная сетка
Латунная чушка
Латунная втулка
Латунный профиль
Металлокорд
Латунный анод
Латунная шина
Латунная электроэрозионная проволока
Латунные вкладыши
Магниевый прокат
Назад
Магниевый прокат
Магниевый лист
Магниевая плита
Магниевые пластины
Магниевый пруток
Магниевая проволока
Магниевая лента
Магниевые поковки
Магниевые слитки
Магниевые штамповки
Медный прокат
Назад
Медный прокат
Медный лист
Рандоль листовой
Медная плита
Медная полоса
Медная шина
Медная изолированная шина
Медная лента
Медная кровельная лента
Медная лента DEVI
Медный рулон
Фольга медная
Медный круг
Медный пруток
Сварочный медный пруток
Медная труба
Медные трубы в изоляции
Медная труба для кондиционеров
Дюймовые трубы
Медная капиллярная трубка
Труба медная профильная
Волноводная медная труба
Медный квадрат
Медный брусок
Медный шестигранник
Медная сетка
Медная проволока
Сварочная медная проволока
Медная катанка
Катанка медная для электротехнических целей
Электроды для сварки меди
Медь в слитках чушках
Медные аноды
Медь катодная
Медь фосфористая
Переходные пластины МА
Луженые медные переходные пластины
Медная втулка
Медные уплотнительные прокладки
Судовые красномедные прокладки
Бескислородная медь в палочках
Медные наконечники
Медная поковка
Молибденовый прокат
Назад
Молибденовый прокат
Молибденовый лист
Молибденовая полоса
Молибденовая лента
Молибденовая фольга
Молибденовый пруток
Молибденовая труба
Молибденовая проволока
Молибденовый диск
Молибденовые заготовки
Молибденовый штабик
Молибденовые изделия
Молибденовая лодочка
Молибденовые тигли
Молибденовая нить
Никелевый прокат
Назад
Никелевый прокат
Никелевый лист
Никелевая полоса
Никелевая лента
Никелевые трубы
Никелевый круг
Никелевый пруток
Никелевая проволока
Никелевая сетка
Никелевая фольга
Никелевая пластина
Никелевый анод
Никелевый катод
Гранулированный никель
Никелевая дробь карбонильная
Ниобиевый прокат
Назад
Ниобиевый прокат
Ниобиевый лист
Ниобиевая полоса
Ниобиевая лента
Ниобиевая труба
Ниобиевый круг
Ниобиевый пруток
Ниобиевая проволока
Ниобиевая фольга
Ниобиевый штабик
Ниобиевая высечка
Ниобиевые таблетки
Ниобиевая чешуйка
Аноды с алмазным покрытием
Платинированные ниобиевые аноды
Нихромовый прокат
Назад
Нихромовый прокат
Нихромовый лист
Лента нихромовая
Круг нихромовый
Нихромовый пруток
Сетка нихромовая
Нихромовая проволока
Нить нихромовая
Нихромовый провод
Хромовая мишень
Хромовый брикет
Оловянный прокат
Назад
Оловянный прокат
Оловянный лист
Оловянная фольга
Оловянный круг
Оловянный пруток
Оловянная проволока
Оловянный анод
Оловянный баббит
Оловянная лента
Рениевый прокат
Назад
Рениевый прокат
Рениевый пруток
Рениевая проволока
Рениевая фольга
Рениевые заготовки
Рениевый штабик
Свинцовый прокат
Назад
Свинцовый прокат
Свинец в палочках
Свинцовая дробь
Свинцовая проволока
Свинцовая роль
Свинцовые муфты
Свинцовые пломбы
Свинцовые трубы
Свинцовый анод
Свинцовый кирпич
Свинцовый круг
Свинцовый лист
Свинцовый пруток
Танталовый прокат
Назад
Танталовый прокат
Танталовый лист
Танталовая полоса
Танталовая лента
Танталовая фольга
Танталовая трубка
Танталовый пруток
Танталовая проволока
Танталовый слиток
Титановый прокат
Назад
Титановый прокат
Титановый лист
Титановая плита
Титановая шина, полоса
Титановая лента
Титановая фольга
Титановая карточка
Титановые пористые пластины
Титановый круг
Титановый пруток
Титановая труба
Титановый профиль
Нитиноловая труба
Заготовка из титана
Титановая поковка
Титановая проволока
Нитиноловая проволока
Титановая сварочная проволока
Нитиноловая пружина
Титановая катушка
Титановые кольца
Титановая мишень
Титановый квадрат
Титановый шестигранник
Титановая сетка
Титановые слитки
Титановые отливки
Титановые емкости
Титановая ёмкость нейтрализации растворов
Анодная корзина из титана
Титановый компенсатор трубы
Титановый блин под фланец
Титановый барботёр
Крепежная стойка из титана
Реактор из титана
Титановый импеллер
Титановая клипса
Титановая губка
Аноды экранирующие
Платинированные титановые аноды
Титановая катанка
Титановый уголок
Цинковый прокат
Назад
Цинковый прокат
Цинковый лист
Цинковая полоса
Цинковая фольга
Цинковые пластины
Цинковая проволока
Цинковый анод
Циркониевый прокат
Назад
Циркониевый прокат
Циркониевый лист
Циркониевая лента
Циркониевая фольга
Циркониевая труба
Циркониевый пруток
Циркониевая проволока
Нержавеющий прокат
Назад
Нержавеющий прокат
Нержавеющий лист
Цветные нержавеющие листы
Назад
Цветные нержавеющие листы
Бирюзовый нержавеющий лист
Золотой нержавеющий лист
Розовый нержавеющий лист
Синий нержавеющий лист
Черный нержавеющий лист
Нержавеющий перфорированный лист
Назад
Нержавеющий перфорированный лист
Нержавеющий перфорированный лист Qg 1х2 м
Нержавеющий перфорированный лист Rv 1х2 м
Нержавеющие декоративные листы
Назад
Нержавеющие декоративные листы
Нержавеющий объемный лист
Нержавеющий текстурированный лист
Нержавеющий узорный лист
Нержавеющий шлифованный лист
Нержавеющий рифленый лист
Нержавеющая плита
Нержавеющая полоса
Нержавеющие карточки
Нержавеющий рулон
Рулонный подкат
Нержавеющая лента
Нержавеющая сварочная лента
Нержавеющий круг
Круг декоративный
Пруток нержавеющий
Сварочный нержавеющий пруток
Нержавеющие трубы
Трубы теплодеформированные из коррозионностойкой стали
Нержавеющая капиллярная трубка
Нержавеющие перфорированные трубы
Труба декоративная
Нержавеющая трубопроводная арматура
Назад
Нержавеющая трубопроводная арматура
Запорно-регулирующая арматура из нержавеющей стали
Нержавеющие детали
Нержавеющие фитинги
Фасонные части трубопроводов из нержавеющей стали
Нержавеющая проволока
Нержавеющая сварочная проволока
Нержавеющий трос
Нержавеющая сетка
Нержавеющая просечно-вытяжная сетка
Рифленая нержавеющая сетка
Нержавеющий квадрат
Нержавеющий шестигранник
Нержавеющая поковка
Нержавеющий швеллер
Нержавеющий уголок
Нержавеющие трапы
Назад
Нержавеющие трапы
Нержавеющие трапы с вертикальным выпуском
Нержавеющие трапы с горизонтальным выпуском
Назад
Нержавеющие трапы с горизонтальным выпуском
Дробь нержавеющая колотая
Дробь нержавеющая литая
Коррозионностойкие отливки
Нержавеющее кольцо
Шпоночный прокат нержавеющий
Нержавеющая дробь
Пористые материалы
Назад
Пористые материалы
Пористая лента
Пористый лист
Люки Manhole Covers
Назад
Люки Manhole Covers
Люки Manhole Covers квадратные
Люки Manhole Covers круглые
Нержавеющая заготовка
Нержавеющая фильтровая сетка
Нержавеющие втулки
Назад
Нержавеющие втулки
Нержавеющие втулки резьбовые
Нержавеющие втулки резьбовые шестигранные
Нержавеющие листы с покрытием нитрид титана
Назад
Нержавеющие листы с покрытием нитрид титана
Голубой нержавеющий лист с покрытием оксид титана
Золотой нержавеющий лист с покрытием нитрид титана
Медный нержавеющий лист с покрытием карбонитрид титана
Нержавеющие водоотводы
Назад
Нержавеющие водоотводы
Нержавеющие линейные водоотводы
Нержавеющие точечные водоотводы
Нержавеющие уловители водоотвода
Нержавеющие профильные трубы
Назад
Нержавеющие профильные трубы
Нержавеющие профильные квадратные трубы
Нержавеющие профильные прямоугольные трубы
Нержавеющие электросварные трубы
Нержавеющий просечно-вытяжной лист
Специальные стали
Назад
Специальные стали
Автоматная сталь
Назад
Автоматная сталь
Автоматная плита
Автоматный квадрат
Автоматный круг
Автоматный лист
Автоматный шестигранник
Биметаллический прокат
Назад
Биметаллический прокат
Биметаллическая лента
Биметаллическая полоса
Биметаллическая проволока
Биметаллические листы
Биметаллические оребренные трубы
Биметаллические плиты
Термобиметаллическая лента
Броневая сталь
Назад
Броневая сталь
Бронелист
Быстрорежущая сталь
Назад
Быстрорежущая сталь
Брусок из быстрорежущей стали
Быстрорежущий круг
Квадрат быстрорез
Лист быстрорез
Полоса быстрорез
Проволока быстрорез
Труба быстрорез
Жаропрочные стали
Назад
Жаропрочные стали
Жаропрочная заготовка
Жаропрочная карточка
Жаропрочная плита
Жаропрочная поковка
Жаропрочная полоса
Жаропрочная проволока
Жаропрочная сутунка
Жаропрочные трубы
Жаропрочный квадрат
Жаропрочный круг
Жаропрочный лист
Жаропрочный пруток
Жаропрочный шестигранник
Лента жаропрочная
Отливки из жаропрочной стали
Стальной башмак порога печи
Инструментальная сталь
Назад
Инструментальная сталь
Валковая сталь
Инструментальная лента
Инструментальная плита
Инструментальная поковка
Инструментальная полоса
Инструментальная проволока
Инструментальный квадрат
Инструментальный круг
Инструментальный лист
Конструкционная сталь
Назад
Конструкционная сталь
Конструкционная стальная плита
Конструкционный стальной круг
Конструкционный стальной лист
Поковка круглая
Прямоугольная поковка
Стальная лента
Стальная полоса
Стальная проволока
Стальная труба
Стальной легированный шестигранник
Стальной уголок
Стальные квадраты
Криогенный прокат
Назад
Криогенный прокат
Криогенная плита
Криогенная полоса
Криогенные трубы
Криогенный квадрат
Криогенный круг
Криогенный лист
Мостовая сталь
Назад
Мостовая сталь
Мостостроительный лист
Никельсодержащая сталь
Назад
Никельсодержащая сталь
Никельсодержащая полоса
Никельсодержащий квадрат
Никельсодержащий круг
Никельсодержащий лист
Никельсодержащий уголок
Назад
Никельсодержащий уголок
Никельсодержащий неравнополочный уголок
Никельсодержащий равнополочный уголок
Никельсодержащий шестигранник
Пищевая сталь
Назад
Пищевая сталь
Пищевая плита
Пищевая полоса
Пищевая сетка
Пищевая труба
Пищевой квадрат
Пищевой круг
Пищевой лист
Подшипниковая сталь
Назад
Подшипниковая сталь
Подшипниковая полоса
Подшипниковые трубы
Подшипниковый квадрат
Подшипниковый круг
Подшипниковый шестигранник
Рессорно-пружинные стали
Назад
Рессорно-пружинные стали
Рессорно-пружинная плита
Рессорно-пружинная полоса
Рессорно-пружинный квадрат
Рессорно-пружинный круг
Рессорно-пружинный лист
Рессорно-пружинный шестигранник
Трубы из рессорно-пружинной стали
Судостроительная сталь
Назад
Судостроительная сталь
Зажим для стального троса
Киповая планка с роульсом
Колонна роликовых направляющих
Морская скоба
Морская фанера
Морской клюз
Панамский клюз
Полособульб
Роликовые клюзы для якорных цепей
Стопор якорной цепи
Судовая полоса
Судовой лист
Талреп
Назад
Талреп
Талреп вилка-вилка
Талреп кольцо-кольцо
Талреп крюк-кольцо
Талреп крюк-крюк
Уголок для судостроения
Назад
Уголок для судостроения
Неравнополочный уголок для судостроения
Равнополочный уголок для судостроения
Якоря
Назад
Якоря
U.S.N бесштоковый якорь
Якорь HHP
Якорь Spek
Якорь Матросова
Якорь повышенной держащей силы
Якоря Холла
Японский бесштоковый якорь
Штамповая сталь
Назад
Штамповая сталь
Штамповая полоса
Штамповой квадрат
Штамповой круг
Штамповые трубы
Электротехническая сталь
Назад
Электротехническая сталь
Электротехническая анизотропная лента
Электротехническая изотропная лента
Электротехнические заготовки
Электротехнический круг
Электротехнический лист
Черный прокат
Назад
Черный прокат
Листовой прокат
Назад
Листовой прокат
Асбестоцементные плиты
Асбоцементный лист
Горячекатаные пластины
Горячекатаный лист
Жесть
Износостойкий лист
Кованая плита
Котельный лист
Легированный лист
Лист оцинкованный
Лист просечно-вытяжной ПВЛ
Лист рифленый ромбический
Лист рифленый стальной
Лист стальной повышенной прочности
Лист холоднокатаный
Металлошифер простой, оцинкованный
Назад
Металлошифер простой, оцинкованный
Металлошифер
Металлошифер оцинкованный
Низколегированный лист
Окрашенный лист
Окрашенный оцинкованный лист
Омедненная просечка
Оцинкованный рулон
Перфорированный лист
Назад
Перфорированный лист
Лист перфорированный MV
Лист перфорированный Qd 8x14
Лист перфорированный Qg 10x14
Лист перфорированный Qg 3x5
Лист перфорированный Qg 5x14
Лист перфорированный Qg 5x7
Лист перфорированный Qg 5x8
Лист перфорированный Qg 6x9
Лист перфорированный Qg 8x10
Лист перфорированный Qg 8x12
Лист перфорированный Qg Rv 6x8
Лист перфорированный Rg 5x12
Лист перфорированный Rg 8x17.32
Лист перфорированный Rv 1.5x3
Лист перфорированный Rv 1.75x2.5
Лист перфорированный Rv 10x15
Лист перфорированный Rv 2.5x4
Лист перфорированный Rv 2.5x5
Лист перфорированный Rv 2x2.5
Лист перфорированный Rv 2x3.5
Лист перфорированный Rv 3-5
Лист перфорированный Rv 3x4
Лист перфорированный Rv 3x5
Лист перфорированный Rv 4x6
Лист перфорированный Rv 5x6
Лист перфорированный Rv 5x7
Лист перфорированный Rv 5x8
Лист перфорированный Rv 6x10
Лист перфорированный Rv 6x9
Лист перфорированный Rv 8x10
Лист перфорированный Rv 8x12
Оцинкованный перфорированный лист Rv 1,25х2,5 м
Оцинкованный перфорированный лист Rv 1х2 м
Перфорированный лист Lv
Перфорированный лист Qg 1,25х2,5 м
Перфорированный лист Qg с квадратными отверстиями 1х2м
Перфорированный лист Qv 1х2 м
Перфорированный лист Rg 1х2 м
Перфорированный лист Rv 1,25х2,5 м
Перфорированный лист RV с круглыми отверстиями 1х2 м
Полоса высечка
Рулон с полимерным покрытием
Стальные тонкие листы
Углеродистый лист
Металлический сайдинг
Проволока
Назад
Проволока
Калиброванная проволока
Канатная скребковая проволока
Назад
Канатная скребковая проволока
Нержавеющая канатная скребковая проволока
Оцинкованная канатная скребковая проволока
Светлая канатная скребковая проволока
Катанка
Низколегированная проволока
Пломбировочная проволока
Проволока ВР, ВР оцинкованная
Назад
Проволока ВР, ВР оцинкованная
Проволока ВР
Проволока оцинкованная ВР
Проволока вязальная
Проволока для бронирования кабеля
Проволока для холодной высадки
Проволока канатная ГОСТ 7372-79
Проволока качественная КС, КО
Назад
Проволока качественная КС, КО
Проволока качественная КС
Проволока оцинкованная КО
Проволока колючая
Назад
Проволока колючая
Проволока Егоза
Проволока Репейник (Гюрза)
Проволока наплавочная
Проволока нихром
Проволока общего назначения
Проволока оцинкованная
Проволока полиграфическая простая, оцинкованная
Проволока пружинная
Проволока с полимерным покрытием
Проволока сварочная СВ
Проволока стальная оцинкованная для сердечников проводов
Проволока телеграфная
Проволока торговая, гвоздильная
Проволока углеродистая
Рояльная проволока
Сварочная омедненная проволока
Шплинтовая проволока
Профнастил
Назад
Профнастил
Металлочерепица
Оцинкованная кровельная сталь
Оцинкованная панель
Оцинкованный профилированный лист
Поликарбонатный профилированный лист
Прессованные оцинкованные ступени
Прессованный решетчатый настил
Профилированный лист с полимерным покрытием
Назад
Профилированный лист с полимерным покрытием
Кровельный профилированный лист
Стеновой профилированный лист
Универсальный профилированный лист
Сварные оцинкованные ступени из решетчатого настила
Элементы отделки для кровельных материалов
Назад
Элементы отделки для кровельных материалов
Карнизная планка
Конек для металлочерепицы
Планка ендовы
Планка примыкания
Снегодержатель
Торцевая планка
Сетка стальная
Назад
Сетка стальная
Высечка
Назад
Высечка
Высечка биметаллическая
Высечка из черной стали
Габионы
Назад
Габионы
Габион с армирующей панелью
Габионные сетки двойного кручения
Коробчатый габион
Матрацы-габионы
Цилиндрический габион
Крученая шестигранная сетка (Манье)
Мельничная сетка
Оцинкованная просечно-вытяжная сетка
Просечно-вытяжная сетка
Рабица
Назад
Рабица
Сетка рабица
Сетка рабица оцинкованная
Сетка рабица с полимерным покрытием
Сварная сетка
Назад
Сварная сетка
Противоподкопная сетка
Сетка арматурная
Сетка дорожная
Сетка кладочная
Сетка Армсеть
Сетка гиттер
Сетка плетеная
Назад
Сетка плетеная
Галунная фильтровая сетка (полотняная)
Рукавная сетка
Саржевая сетка
Сетка канилированная (рифленая)
Транспортерная сетка (конвейерная)
Сетки тканые
Назад
Сетки тканые
Сетка тканая
Сетка тканая оцинкованная
Сетки штукатурные
Назад
Сетки штукатурные
Сетка штукатурная
Сетка штукатурная, армирующая оцинкованная
Тросиковая сетка
Шарнирная узловая сетка
Щелевая сетка
Сортовой прокат
Назад
Сортовой прокат
Арматура
Назад
Арматура
Арматура А1 (А240)
Арматура А2 (А300)
Арматура А3
Арматура А4 (А600)
Арматура А400
Арматура А5 (А800)
Арматура А500с
Арматура А6 (А1000)
Арматура АС2 (АС300)
Арматура Ат1000 (Ат-VI)
Арматура Ат1000К (Ат-VIК)
Арматура Ат1200 (Ат-VII)
Арматура Ат600К (Ат-IVК)
Арматура Ат600С (Ат-IVС)
Арматура АТ800
Арматура АТ800К (Ат-VK)
Арматура В500С
Стальная арматура
Пруток с твердым хромовым покрытием
Стальная дробь
Назад
Стальная дробь
Дробь стальная колотая
Дробь стальная литая
Стальной блюм
Стальной квадрат
Назад
Стальной квадрат
Высоколегированный квадрат
Горячекатаный квадрат
Калиброванный квадрат
Кованый квадрат
Низколегированный квадрат
Оцинкованный квадрат
Стальной круг
Назад
Стальной круг
Буровой пустотелый круг
Горячекатаный круг
Калиброванный круг
Кованый круг
Круг серебрянка
Низколегированный круг
Оцинкованный круг
Стальной пруток
Назад
Стальной пруток
Горячекатаный круглый пруток
Калиброванный круглый пруток
Квадратный пруток
Оцинкованный пруток
Сварочный омедненный пруток
Стальной шестигранник
Назад
Стальной шестигранник
Буровой шестигранник
Горячекатанный шестигранник
Калиброванный шестигранник
Стальные заготовки
Назад
Стальные заготовки
Стальные кольца
Стальные круглые заготовки
Стальные прямоугольные заготовки
Стальные ленты
Назад
Стальные ленты
Горячекатаная лента
Лента для бронирования кабелей
Лента для щелочных аккумуляторов
Лента монтажная
Лента оцинкованная
Лента перфорированная
Лента пружинная
Лента стальная плющенная
Лента стальная повышенной прочности
Лента стальная термообработанная
Лента упаковочная
Лента штамповальная
Низкоуглеродистая лента
Холоднокатаная конструкционная лента
Стальные полосы
Назад
Стальные полосы
Горячекатаная полоса
Кованая полоса
Легированная полоса
Низколегированная полоса
Оцинкованная полоса
Фибра стальная
Шары помольные, мелющие
Стальные отливки VAUTID
Стальные сваи
Назад
Стальные сваи
Винтовые сваи
Конические стальные забивные сваи
Трубный прокат
Назад
Трубный прокат
Безнапорные асбестоцементные трубы
Бесшовные горячекатаные трубы
Бесшовные трубы
Гибкие насосно-компрессорные трубы
Гидравлическая фосфатированная трубка
Дренажные керамические трубы
Змеевики для резервуаров
Коррозионностойкие трубы
Котельные трубы
Легированные трубы
Напорные асбоцементные трубы
Низколегированная труба
Оцинкованные трубы
Панцирные трубы
Полипропиленовые гофрированные трубы
Полиэтиленовые гофрированные трубы
Спиралешовные трубы
Труба API 5L
Труба бесшовная холоднокатаная
Труба бетонная
Труба восстановленная
Труба колонковая
Труба крекинговая
Труба насосно-компрессорная НКТ
Труба обсадная
Трубы ASTM
Трубы БУ
Трубы бурильные
Трубы в изоляции
Трубы водогазопроводные ВГП
Трубы для карданных валов
Трубы для подводных морских трубопроводов
Трубы из обечаек
Трубы из углеродистой стали
Трубы магистральные
Трубы оцинкованные ВГП
Трубы профильные
Трубы стальные свертные паяные двухслойные
Трубы толстостенные
Трубы электросварные
Трубы электросварные оцинкованные
Футерованные трубы
Хонингованные трубы
Цельнотянутые трубы
Шамотные трубы
Фасонный прокат стали
Футеровочные плиты VAUTID
Элементы отделки для линеарных панелей
Назад
Элементы отделки для линеарных панелей
Нестандартные фасонные элементы
Отлив оцинкованный
Планка Z-образная
Планка аквилона ПА
Планка вертикального стыка
Планка оконного откоса
Планка отлива оконного
Планка отлива цокольного
Планка стыковочная универсальная
Планка угла внутреннего линеарного
Планка угла наружного линеарного
Полоса декоративная ПД
Элементы отделки для сайдинга
Назад
Элементы отделки для сайдинга
Акриловый сайдинг
Виниловый сайдинг
Отливы для сайдинга
Софиты
Фиброцементные фасадные панели
Фиброцементный сайдинг
Цокольный сайдинг
Трубопроводная арматура
Назад
Трубопроводная арматура
Алюминиевые обечайки
Вентиляционные клапаны
Назад
Вентиляционные клапаны
Клапан инфильтрации воздуха
Многостворчатый вентиляционный клапан
Обратный вентиляционный клапан
Обратный вентиляционный клапан "бабочка"
Обратный вентиляционный клапан прямоугольный
Вентиляционные отводы
Назад
Вентиляционные отводы
Вентиляционный отвод круглый 45гр
Вентиляционный отвод круглый 90гр
Вентиляционный отвод прямоугольный 45гр
Вентиляционный отвод прямоугольный 90гр
Водосточные системы
Назад
Водосточные системы
S-обвод
Водосборник
Водосточная воронка
Водосточная труба
Водосточный желоб
Водосточный отвод
Заглушка водосточной воронки
Заглушка желоба
Колено водосточной трубы
Комплекты водосточной системы
Сетка воронки
Соединитель желоба
Соединитель трубы
Тройник трубы
Угол желоба
Хомут трубы
Воздуховод оцинкованный
Назад
Воздуховод оцинкованный
Воздуховод оцинкованный круглый
Воздуховод оцинкованный прямоугольный
Гидравлические соединения
Назад
Гидравлические соединения
Адаптеры
Назад
Адаптеры
Ввертные адаптеры
Ввертные регулируемые штуцера
Комплектующие для адаптеров
Переборочные адаптеры
Приварные адаптеры
Соединения для подключения измерительных устройств
Соединения проходные
Соединения проходные с накидной гайкой
Штуцера ввертные с накидной гайкой
Быстроразъемные соединения
Назад
Быстроразъемные соединения
Быстроразъемные соединения FLAT FACE CPR
Быстроразъемные соединения ISO-A
Быстроразъемные соединения STG
Быстроразъемные соединения TGW
Заглушки для БРС
Назад
Заглушки для БРС
Заглушки для БРС
Заглушки для БРС (пластиковые)
Заглушки для БРС (стальные)
Обжимные муфты
Назад
Обжимные муфты
Муфта обжимная 1SN
Муфта обжимная 1SN-2SN
Муфта обжимная 1SС-1SN-2SC
Муфта обжимная 4SH
Муфта обжимная 4SP-4SH
Муфта обжимная R13
Муфта обжимная R7
Фитинги для РВД
Назад
Фитинги для РВД
Фитинг BSP
Фитинг DKL
Фитинг DKO
Фитинг JIC
Фитинг NPTF
Фитинг ORFS
Фитинг метрический BANJO
Фитинг фланец SF
Запорно-регулирующая арматура
Назад
Запорно-регулирующая арматура
Дисковые затворы
Назад
Дисковые затворы
Дисковые затворы с редуктором
Дисковые затворы с рукояткой
Затворы дисковые с пневмоприводом
Затворы дисковые с электроприводом
Привод воздух-пружина для дискового затвора
Штампосварные поворотные затворы с резиновым уплотнителем
Дисковые краны
Назад
Дисковые краны
Дисковый кран AWH резьба
Дисковый кран бабочка резьба-сварка
Дисковый кран сварка-сварка
Дисковый межфланцевый кран
Плавно переставляемая рукоятка для дискового крана
Стандартная рукоятка с шариком для дискового крана
Дроссели
Назад
Дроссели
Дроссели высокого давления
Дроссели редукционно-охладительных установок
Дроссели технологических линий под приварку
Титановые дроссели
Фланцевые дроссели с ручным управлением
Фланцевые дроссели технологических линий
Дроссельный вентиль
Задвижки из цветных металлов
Назад
Задвижки из цветных металлов
Задвижки алюминиевые
Задвижки бронзовые
Задвижки латунные
Клапан
Назад
Клапан
Балансировочный клапан
Запорные вентили-клапаны
Обратные поворотные клапаны
Обратный межфланцевый клапан
Обратный муфтовый клапан
Предохранительный клапан
Регулирующий вентиль-клапан
Тарельчатый обратный клапан резьба-сварка
Тарельчатый обратный клапан сварка-сварка
Шариковый обратный клапан
Стальные задвижки
Назад
Стальные задвижки
Задвижка ЗМС
Задвижка с электроприводом
Задвижка шиберная со штурвалом
Клиновые задвижки
Нержавеющие задвижки
Шиберные задвижки
Фильтры
Назад
Фильтры
Грязевики
Муфтовый фильтр
Угловой трубчатый фильтр
Фланцевый фильтр
Шаровые краны
Назад
Шаровые краны
Двухкамерный шаровой кран резьба-резьба
Трехкамерный кран шаровой сварка-сварка
Трехкамерный кран шаровый резьба-резьба
Шаровые краны из цветных металлов
Шаровые краны с приводом
Шаровые краны с ручным управлением
Коаксиальные трубы и комплектующие
Назад
Коаксиальные трубы и комплектующие
Коаксиальные опоры
Коаксиальные отводы 45 градусов
Коаксиальные отводы 90 градусов
Коаксиальные тройники
Коаксиальные трубы
Коаксиальные трубы с зонтом
Компенсаторы
Назад
Компенсаторы
Компенсатор для систем отопления
Компенсатор резиновый муфтовый
Компенсатор резиновый фланцевый
Компенсатор сильфонный осевой
Конические обечайки
Крепления трубопроводов
Назад
Крепления трубопроводов
Закладные детали для трубопроводов
Крепежные изделия для трубопроводов
Крепление двух трубопроводов к колонне
Крепление двух трубопроводов к перекрытию
Крепление двух трубопроводов к стене
Крепление нескольких трубопроводов к перекрытию
Крепление одного трубопровода к железобетонной балке
Крепление одного трубопровода к перекрытию
Крепление трех и более трубопроводов
Крепление трех трубопроводов к перекрытию
Крепление трубопроводов к полу
Крепление четырех трубопроводов к железобетонной колонне
Крепления к балкам перекрытия на подвесках
Крепления к железобетонным колоннам
Крепления к кирпичным стенам
Крепления к металлическим площадкам
Крепления к ригелям на подвесках
Крепления к стеновым панелям
Крепления трубопроводов к металлическим колоннам
Крепления трубопроводов к плитам перекрытия
Опорные узлы для катковых блоков
Траверса металлическая подвесная
Траверса-балка металлическая подвесная
Шпильки для трубопроводов
Медные фитинги
Назад
Медные фитинги
Клапан Шредера
Медные заглушки под пайку
Медные крестовины
Назад
Медные крестовины
Медные крестовины под пайку
Медные муфты
Назад
Медные муфты
Медные прямые муфты
Переходные двухраструбные муфты
Переходные однораструбные муфты
Медные отводы
Назад
Медные отводы
Медное колено 180
Медное колено 45
Медный отвод 90
Медные переходы
Назад
Медные переходы
Медные переходы с внутренней резьбой
Медные переходы с наружной резьбой
Медные угловые переходы с внутренней резьбой
Медные угловые переходы с наружной резьбой
Медные тройники
Назад
Медные тройники
Медные обжимные тройники
Медные пресс тройники
Медные резьбовые тройники
Медные тройники под пайку
Медные фитинги для холодильного оборудования
Назад
Медные фитинги для холодильного оборудования
Медная муфта
Медная переходная муфта
Медный тройник
Медный угольник
Медный угол
Обечайка чугунного люка
Оцинкованные обечайки
Полиэтиленовые фитинги
Назад
Полиэтиленовые фитинги
Полиэтиленовые втулки
Назад
Полиэтиленовые втулки
Полиэтиленовые втулки ПЭ 100
Полиэтиленовые втулки ПЭ 80
Полиэтиленовые отводы
Назад
Полиэтиленовые отводы
Полиэтиленовые отводы 45 градусов
Полиэтиленовые отводы 90 градусов
Полиэтиленовые переходы
Назад
Полиэтиленовые переходы
Полиэтиленовые переходы ПЭ 100
Полиэтиленовые переходы ПЭ 80
Полиэтиленовые тройники
Назад
Полиэтиленовые тройники
Полиэтиленовые переходные тройники
Полиэтиленовые равнопроходные тройники
Распылительные головки
Назад
Распылительные головки
Распылительная головка зажим
Распылительная головка резьба
Резьбовые предохранители для обсадных труб и муфт
Соединительные части
Назад
Соединительные части
Соединительная часть GG
Соединительная часть GK
Стальные фитинги
Назад
Стальные фитинги
Муфты
Назад
Муфты
Боковые соединения
Кольцо Спейсер
Молочная муфта DIN
Молочная муфта SMS
Муфты для обсадных труб
Муфты для труб НКВ
Муфты хризотилцементные
Приварная муфта G3
Уплотнения для труб
Уплотнительные манжеты и переходники
Ниппель
Назад
Ниппель
Двойной ниппель для соединения труб
Приварной ниппель G2
Сварной ниппель с трубной резьбой
Переводники
Назад
Переводники
Переводник переходный НКВ
Переходник нержавеющий H-SHB
Переходные футорки
Резьбовые угольники
Назад
Резьбовые угольники
Резьбовые угольники ВР/ВР
Резьбовые угольники ВР/НР
Сгоны для труб ВГП
Соединитель нержавеющий с внутренними резьбами H-SSA
Соединитель нержавеющий с наружными резьбами H-SNR
Стальной полусгон
Стальные американки
Назад
Стальные американки
Американка ВР-ВР
Американка ВР-НР
Американка ВР-С
Американка НР-НР
Американка НР-С
Американка С-С
Американка угловая ВР-ВР
Американка угловая ВР-НР
Стальные патрубки
Назад
Стальные патрубки
Конический патрубок
Приварной патрубок зажимного соединения CLAMP
Резьбовой патрубок
Штуцер нержавеющий CFC
Штуцер нержавеющий COM
Стальные цилиндрические обечайки
Судовые пружинные подвески
Назад
Судовые пружинные подвески
Тяга пружинная 1А
Тяга пружинная 2А
Сэндвич трубы и комплектующие
Назад
Сэндвич трубы и комплектующие
Оголовок
Оголовок с дефлектором
Оголовок-зонт
Одноконтурные дымоходы
Старт-сэндвич
Сэндвич трубы
Сэндвич-отводы 45 градусов
Сэндвич-отводы 90 градусов
Сэндвич-пластины опорные
Сэндвич-пластины опорные на перекрытие
Сэндвич-тройники 45 градусов
Сэндвич-тройники 90 градусов
Титановые воздуховоды
Назад
Титановые воздуховоды
Титановые бандажи
Титановые дефлекторы
Титановые зонты
Титановые неравнопроходные Y-тройники
Титановые неравнопроходные косые тройники
Титановые односторонние переходы
Титановые патрубки присоединительные
Титановые переходы с круглого на прямоугольное сечение
Титановые переходы с круглого на прямоугольное сечение односторонние
Титановые продувочные трубы
Титановые проходы через перекрытия
Титановые равнопроходные Y-тройники
Титановые утки
Титановые утки переходы
Титановые фланцы
Титановые прямые участки
Титановые фитинги
Назад
Титановые фитинги
Концентрический титановый переход
Сварной отвод из титана
Титановая поворотная заглушка
Титановые отводы
Титановый поплавок
Титановый тройник
Трубные опоры
Назад
Трубные опоры
Катковые опоры
Назад
Катковые опоры
Двухкатковая опора
Катковая двухъярусная опора
Катковая направляющая опора
Катковая опора трубопроводов ТЭС и АЭС
Катковая пружинная опора трубопроводов ТЭС и АЭС
Катковые обоймы для опор трубопроводов ТЭС и АЭС
Однокатковая опора
Стальная катковая опора
Корпусные опоры
Назад
Корпусные опоры
Корпус на опорной балке для пружин
Корпус на опорной балке с проушинами
Корпусная приварная опора
Корпусная хомутовая неподвижная опора
Корпусная хомутовая подвижная опора
Неподвижные опоры
Назад
Неподвижные опоры
Мертвая опора
Неподвижная боковая опора
Неподвижная бугельная опора
Неподвижная бугельная хомутовая опора с корпусом
Неподвижная двухупорная опора
Неподвижная двухупорная усиленная опора
Неподвижная лобовая опора сальниковых компенсаторов
Неподвижная опора для вертикальных коробов
Неподвижная опора с плоским хомутом
Неподвижная опора трубопроводов ТЭС и АЭС
Неподвижная четырехупорная опора
Неподвижная четырехупорная усиленная опора
Неподвижная щитовая опора
Неподвижная щитовая усиленная опора
Неподвижные опоры для труб в ППУ
Сварные неподвижные опоры
Однорядные опоры
Назад
Однорядные опоры
Однорядная опора с прерывистым основанием
Однорядная опора со сплошным основанием
Однорядная отдельная опора
Опора вертикальных трубопроводов
Опора для крепления арматуры
Опора крутоизогнутых отводов
Опора с сопровождением
Опора сварных отводов
Опоры ТПР
Назад
Опоры ТПР
Опоры ТПР.04.01(2).00.000
Опоры ТПР.05.06(3).00.000
Опоры ТПР.05.11(4).00.000
Опоры ТПР.05.15(1).00.000
Опоры ТПР.05.18(1).00.000
Опоры ТПР.05.19(2).00.000
Опоры ТПР.05.21(1).00.000
Опоры ТПР.05.24(3).00.000
Опоры ТПР.05.29.00.000
Опоры ТПР.06.34(4).00.000
Опоры ТПР.07.35.00.000
Опоры ТПР.08.13.00.000
Опоры ТПР.08.17(2).00.000
Опоры ТПР.08.38.00.000
Опоры ТПР.08.71(1).00.000
Опоры ТПР.08.73(1).00.000
Опоры ТПР.10.14(1).00.000
Опоры ТПР.13.53(1).00.000
Опоры ТПР.14.05.00.000
Опоры ТПР.14.45.00.000
Подвижные опоры
Назад
Подвижные опоры
Подвижная и направляющая опора в ППУ изоляции
Подвижная хомутовая опора
Стальная подвижная опора
Подпятники для трубопроводов
Приварные опоры
Назад
Приварные опоры
Приварная скользящая и неподвижная опора
Приварная скользящая направляющая опора
Приварная стальная опора
Приварная уголковая опора
Приварные неподвижные опоры
Приварные подвески на опорной балке с проушинами
Приварные скользящие опоры
Приварные скользящие-направляющие опоры
Разгрузочная опора
Регулируемые опоры трубопроводов
Сварные направляющие опоры
Скользящие опоры
Назад
Скользящие опоры
Корпуса скользящих опор трубопроводов ТЭС и АЭС
Сварные скользящие опоры
Скользящая бескорпусная опора
Скользящая бугельная опора
Скользящая диэлектрическая опора
Скользящая и неподвижная опора
Скользящая и неподвижная опора с направляющим хомутом
Скользящая направляющая опора
Скользящая неподвижная опора
Скользящая опора без изоляции
Скользящая опора с направляющей скобой
Скользящая опора с плоским хомутом
Скользящая опора трубопроводов ТЭС и АЭС
Скользящая подкладная опора в футляре для труб в ППУ
Скользящая подкладная опора для труб в ППУ
Скользящая приварная опора
Скользящие опоры для трубы в ППУ
Стальная скользящая опора
Тавровые опоры
Назад
Тавровые опоры
Тавровая приварная опора
Тавровая хомутовая неподвижная опора
Тавровая хомутовая подвижная опора
Трубчатые опоры
Назад
Трубчатые опоры
Стальная трубчатая опора
Трубчатая опора крутоизогнутых отводов
Хомутовые опоры
Назад
Хомутовые опоры
Двуххомутовые неподвижные опоры
Двуххомутовые скользящие опоры
Неподвижная хомутовая опора с корпусом
Однохомутовые неподвижные опоры
Однохомутовые скользящие опоры
Опора без изоляции с направляющим хомутом
Скользящая направляющая двуххомутовая опора
Скользящая направляющая хомутовая опора трубопроводов ТЭС и АЭС
Хомутовая бескорпусная неподвижная опора
Хомутовая бескорпусная подвижная опора
Хомутовые направляющие опоры
Хомутовые неподвижные опоры
Хомутовые опоры для трубопроводов
Хомутовые скользящие опоры
Шариковая опора
Швеллерные опоры
Назад
Швеллерные опоры
Швеллерная приварная опора
Швеллерные скользящие и неподвижные опоры
Элементы трубопроводных систем
Назад
Элементы трубопроводных систем
Блоки для опор
Блоки приварные с накладкой подвесок горизонтальных стальных трубопроводов
Вилки для подвесок трубопроводов ТЭС и АЭС
Втулки для опор
Коромысла с тягами подвесок стальных трубопроводов
Лапа для вертикальных трубопроводов
Лапа с накладкой для вертикальных трубопроводов
Муфты для блоков подвесок вертикальных и горизонтальных трубопроводов
Муфты подвесок стальных трубопроводов
Накладки блоков приварных подвесок стальных трубопроводов
Накладки для подвесок трубопроводов
Опорные балки
Опорные плиты
Плавник с накладкой
Плавники для подвесок трубопроводов
Плавники приварные с накладкой
Планки для блоков подвесок горизонтальных трубопроводов
Плиты для блоков подвесок трубопроводов
Подвески для трубопроводов
Подвесная пружинная опора
Полухомуты для трубопроводов
Прокладки для трубопроводов
Прокладки для хомутовых блоков подвесок вертикальных трубопроводов
Прокладки для хомутовых блоков подвесок горизонтальных трубопроводов
Проушина с накладкой
Проушины для подвесок трубопроводов
Проушины подвесок стальных трубопроводов
Проушины с тягой подвесок стальных трубопроводов
Пружины винтовые цилиндрические для подвесок трубопроводов ТЭС и АЭС
Разгружающее устройство для блоков пружин
Серьги для подвесок трубопроводов
Серьги подвесок стальных трубопроводов
Скоба
Стаканы для установки пружин подвесок стальных трубопроводов
Талрепы для подвесок трубопроводов
Траверсы для подвесок трубопроводов
Тяги для опор
Упоры для блоков подвесок вертикальных трубопроводов
Упоры подвесок стальных трубопроводов
Ушки для подвесок трубопроводов
Хомуты для трубопроводов
Фасонные изделия в ППУ
Назад
Фасонные изделия в ППУ
Z-образный элемент в ППУ
Отводы в ППУ
Тройник в ППУ
Эксцентрический переход в ППУ
Фасонные части трубопроводов
Назад
Фасонные части трубопроводов
Заглушки
Назад
Заглушки
Днища
Заглушка коническая TN192
Заглушка коническая с уплотнительным кольцом TN324
Заглушка с рукояткой
Заглушка с торцевым уплотнением под шестигранник в тело TN185GG M
Заглушка трубы и РВД с фитингами DKOL-S TN296
Заглушки эллиптические
Поворотные заглушки
Фланцевая заглушка
Отводы стальные
Назад
Отводы стальные
Крутоизогнутые отводы из черной и нержавеющей стали
Нержавеющие отводы
Оснащенные отводы
Отвод двойной T-образный
Отводы в ВУС изоляции
Отводы гнутые
Отводы сварные секторные
Стальной фланцевый отвод
Точеные отводы
Штампосварные отводы
Переходы
Назад
Переходы
Концентрические переходы
Нержавеющие переходы
Переходы сварные
Стальной фланцевый переход
Точеный переход
Штампосварной переход ШПС
Эксцентрические переходы
Стальные кресты
Назад
Стальные кресты
Кресты фланцевые с пожарной подставкой ППКФ
Стальные фланцевые кресты
Тройник оцинкованный
Тройники
Назад
Тройники
Нержавеющий равнопроходной тройник СТА
Оснащенные тройники
Стальной фланцевый тройник
Тройники бесшовные
Тройники сварные
Тройники точеные
Штампосварной тройник ТШС
Фланцы и фланцевые соединения
Назад
Фланцы и фланцевые соединения
Заготовки для фланцев
Изолирующие фланцевые соединения
Отбортовка
Стальные прокладки для фланцев
Назад
Стальные прокладки для фланцев
Кольца Армко восьмиугольного сечения
Кольцо АРМКО овальное
Фланцы
Назад
Фланцы
Алюминиевый свободный фланец
Воротниковые фланцы
Глухой фланец
Переходный сварной фланец
Плоские фланцы
Резьбовой фланец
Свободные фланцы
Щелевая труба для углового фильтра
Элеваторы и комплектующие
Назад
Элеваторы и комплектующие
Водоструйные элеваторы
Сопло для стакана чугунного элеватора
Стаканы для чугунного элеватора
Изоляция труб
Назад
Изоляция труб
ВУС-Изоляция
Гофрированная алюминиевая фольга
Заглушка в изоляции
Изоляция K-Flex трубчатая
Каучуковая синтетическая вспененная изоляция
Назад
Каучуковая синтетическая вспененная изоляция
Изоляция с алюминиевым покрытием
Самоклеющаяся рулонная изоляция
Самоклеющаяся с алюминиевым покрытием изоляция
Стандартная рулонная изоляция
Трубчатая изоляция
Кожухи для изоляции
Назад
Кожухи для изоляции
Оболочки защитные съемные на врезки
Оболочки защитные съемные на теплоизоляционные плоские и эллиптические заглушки
Оболочки защитные съемные на теплоизоляционные фланцевые заглушки
Оболочки защитные съемные на теплоизоляционные фланцы
Оболочки конусные на емкости
Оболочки на теплоизоляционные отводы
Назад
Оболочки на теплоизоляционные отводы
Оболочки на теплоизоляционные отводы 30 градусов
Оболочки на теплоизоляционные отводы 45 градусов
Оболочки на теплоизоляционные отводы 60 градусов
Оболочки на теплоизоляционные отводы 90 градусов
Оболочки на теплоизоляционные переходы
Оболочки на теплоизоляционные тройники
Назад
Оболочки на теплоизоляционные тройники
Большие оболочки на теплоизоляционные переходные тройники
Большие оболочки на теплоизоляционные равнопроходные тройники
Оболочки на теплоизоляционные переходные тройники
Оболочки на теплоизоляционные равнопроходные тройники
Оболочки на теплоизоляционные цилиндры
Оболочки цеппелиновые на емкости
Композитные защитные футляры
Концевой элемент в ППУ-ОЦ, -ПЭ, -ПЭ-Б
Лента Лиам
Отводы теплоизоляционные
Назад
Отводы теплоизоляционные
Теплоизоляционные отводы 30 градусов
Теплоизоляционные отводы 45 градусов
Теплоизоляционные отводы 60 градусов
Теплоизоляционные отводы 90 градусов
ППМ-Изоляция
ППУ - Изоляция
Назад
ППУ - Изоляция
Скорлупа ППУ
рулоны K-Flex
Скорлупа ППС
Стекловолокно
Теплоизоляционные врезки
Теплоизоляционные переходы конические, концентрические
Теплоизоляционные тройники
Назад
Теплоизоляционные тройники
Большие теплоизоляционные переходные тройники
Большие теплоизоляционные равнопроходные тройники
Теплоизоляционные переходные тройники
Теплоизоляционные равнопроходные тройники
Теплоизоляционные цилиндры
Назад
Теплоизоляционные цилиндры
Кашированные цилиндры
Некашированные полуцилиндры
Некашированные цилиндры
Некашированные четверть цилиндры
Плоские цилиндры
Теплоизоляционный фланец
ЭП-Изоляция
Чугунный прокат
Назад
Чугунный прокат
Арматура чугунная
Назад
Арматура чугунная
Заглушка фланцевая чугунная
Колено чугунное
Назад
Колено чугунное
Колено раструб - гладкий конец чугунное
Колено раструб - фланец чугунное
Колено раструбное чугунное
Колено фланец - гладкий конец чугунное
Колено фланцевое чугунное
Контргайка из ковкого чугуна
Кресты чугунные
Назад
Кресты чугунные
Кресты раструб-фланец чугунные
Кресты раструбные чугунные
Кресты фланец-раструб с пожарной подставкой чугунные
Кресты фланцевые с пожарной подставкой чугунные
Кресты фланцевые чугунные
Муфта чугунная
Ниппель из ковкого чугуна
Отводы чугунные
Назад
Отводы чугунные
Отвод канализационный
Отвод раструб - гладкий конец чугунный
Отвод раструбный чугунный
Патрубки чугунные
Назад
Патрубки чугунные
Патрубки фланец - гладкий чугунные
Патрубки фланец - раструб чугунный
Патрубок компенсационный
Патрубок раструб с переходом на сталь чугунный
Переходы чугунные
Назад
Переходы чугунные
Переходы раструб-фланец чугунные
Переходы раструбные чугунные
Переходы фланцевые чугунные
Пожарные подставки чугунные
Назад
Пожарные подставки чугунные
Пожарные подставки раструбные чугунные
Пожарные подставки фланцевые чугунные
Раструб чугунный
Назад
Раструб чугунный
Двойной раструб чугунный
Ревизия канализационная чугунная
Трап чугунный
Тройники чугунные
Назад
Тройники чугунные
Косые чугунные тройники
Тройники раструб-фланец с пожарной подставкой чугунные
Тройники раструб-фланец чугунные
Тройники раструбные чугунные
Тройники фланцевые с пожарной подставкой чугунные
Тройники фланцевые чугунные
Чугунная канализационная заглушка
Чугунная канализационная прочистка-заглушка
Чугунная надвижная муфта
Чугунные задвижки
Назад
Чугунные задвижки
Задвижка клиновая чугунная с невыдвижным шпинделем
Задвижка клиновая чугунная фланцевая с невыдвижным шпинделем под электропривод
Задвижка клиновая чугунная фланцевая с невыдвижным шпинделем с редуктором
Задвижка с обрезиненным клином с невыдвижным шпинделем
Задвижки
Задвижки чугунные клиновые с выдвижным шпинделем
Чугунная параллельная двухдисковая задвижка с выдвижным шпинделем
Чугунные затворы
Назад
Чугунные затворы
Затвор поворотный чугунный
Чугунные магнитные фильтры
Чугунные обратные двухстворчатые межфланцевые клапаны
Чугунные сетчатые фильтры
Чугунные шаровые краны
Чугунный отступ
Безраструбная канализация
Назад
Безраструбная канализация
Безраструбная заглушка
Назад
Безраструбная заглушка
Безраструбная заглушка с прижимными скобами
Безраструбная чугунная заглушка
Безраструбная крестовина
Назад
Безраструбная крестовина
Безраструбная крестовина двухплоскостная 88 гр
Безраструбная крестовина одноплоскостная 45 гр
Безраструбная крестовина одноплоскостная 70 гр
Безраструбная крестовина одноплоскостная 88 гр
Безраструбная опорная труба
Безраструбная пресс-заглушка
Безраструбная ревизия
Назад
Безраструбная ревизия
Безраструбная ревизия с круглым отверстием
Безраструбная ревизия с прямоугольным отверстием
Безраструбная труба
Безраструбное опорное кольцо
Безраструбный отвод
Назад
Безраструбный отвод
Безраструбный короткий отвод 15 гр
Безраструбный короткий отвод 30 гр
Безраструбный короткий отвод 45 гр
Безраструбный короткий отвод 69 гр
Безраструбный короткий отвод 88 гр
Отвод 45 гр с удлиненной стороной
Отвод 88 гр из двух колен
Отвод 88 гр с удлиненной стороной
Отвод 88 гр с успокоительным участком
Безраструбный переход
Назад
Безраструбный переход
Безраструбный переход на другие материалы konfix
Безраструбный чугунный переход
Безраструбный сифон
Назад
Безраструбный сифон
Безраструбный сифон ливневый
Безраструбный сифон универсальный
Безраструбный тройник
Назад
Безраструбный тройник
Безраструбный тройник 45 гр
Безраструбный тройник 69 гр
Безраструбный тройник 88 гр
Безраструбный фланец переходной
Безраструбный хомут высокой нагрузки HD
Воронка водосточная чугунная
Демонтажная вставка
Дождеприемники чугунные
Дробь чугунная
Назад
Дробь чугунная
Дробь чугунная колотая
Дробь чугунная колотая улучшенная
Дробь чугунная литая
Дробь чугунная литая улучшенная
Колосниковые решетки
Крестовина чугунная раструбная
Лоток водоотводный с решёткой
Люки чугунные
Манжета к трубе чугунной
Решетка водоотводная
Трубы чугунные С (ЦПП, Без ЦПП)
Утяжелитель чугунный
Чугун
Назад
Чугун
Чугун литейный
Чугун передельный
Чугунная труба ЧК
Чугунная чушка
Чугунные втулки
Чугунные колосники для котлов
Чугунные отливки
Чугунные радиаторы
Назад
Чугунные радиаторы
10-секционный чугунный радиатор
12-секционный чугунный радиатор
3-секционный чугунный радиатор
4-секционный чугунный радиатор
7-секционный чугунный радиатор
Регистры отопления
Чугунный круг
Чугунный фланцевый патрубок под манометр
Сплавы
Назад
Сплавы
Баббиты
Кобальтовые сплавы
Назад
Кобальтовые сплавы
Кобальтовая проволока
Лист из кобальтового сплава
Магниты из кобальтового сплава
Полоса из кобальтового сплава
Пруток из кобальтового сплава
Фольга из кобальтового сплава
Легкоплавкие припои
Назад
Легкоплавкие припои
Сплав Вуда
Сплав Гутри
Сплав Д'Арсе
Сплав Деварда
Сплав Липовитца
Сплав Ньютона
Сплав Розе
Лигатура
Назад
Лигатура
Лигатура алюминий
Лигатура алюминобариевая
Лигатура бор
Лигатура ванадий
Лигатура железо
Лигатура иттрий
Лигатура кобальт
Лигатура магний-неодим
Лигатура медь
Лигатура молибден
Лигатура никель
Лигатура ниобий-алюминий
Лигатура свинец
Лигатура ферроалюмоциркониевая
Лигатура хром-железо-никелевая
Лигатура хромалюминиевая
Лигатура цинк
Лигатура цирконий
Медно-никелевые сплавы
Назад
Медно-никелевые сплавы
Алюмель
Назад
Алюмель
Лента алюмель
Лист алюмель
Проволока алюмель
Камелин
Назад
Камелин
Лента камелин
Пруток камелин
Фольга камелин
Константан
Назад
Константан
Лента константан
Проволока константан
Пруток константан
Копель
Назад
Копель
Проволока копель
Пруток копель
Куниаль
Назад
Куниаль
Куниаль лента
Куниаль лист
Куниаль полоса
Куниаль пруток
Манганин
Назад
Манганин
Лента манганин
Манганиновая фольга
Проволока манганин
Медно-никелевые изделия
Назад
Медно-никелевые изделия
Медно-никелевая лента
Медно-никелевая полоса
Медно-никелевая проволока
Медно-никелевая стружка
Медно-никелевые детали трубопроводов
Медно-никелевые трубы
Медно-никелевые фланцы
Медно-никелевый перфорированный лист
Медно-никелевый пруток
Мельхиор
Назад
Мельхиор
Мельхиоровая лента
Мельхиоровая пластина
Мельхиоровая проволока
Мельхиоровая труба
Мельхиоровый лист
Мельхиоровый пруток
Монель
Назад
Монель
Круг Монель
Лента Монель
Монелевая труба
Монелевый лист
Проволока Монель
Пруток монель
Слиток Монель
Нейзильбер
Назад
Нейзильбер
Проволока нейзильбер
Проволока МНЖКТ5-1-0,2-0,2
Сплав МНЖ5-1
Назад
Сплав МНЖ5-1
Лист МНЖ5-1
Полоса МНЖ5-1
Труба МНЖ5-1
Труба МНЖМц11-11-0.6
Хромель
Назад
Хромель
Лента хромель
Проволока хромель
Платинитовая проволока
Прецизионные сплавы
Назад
Прецизионные сплавы
Виброгасящие сплавы (демпфирующие)
Назад
Виброгасящие сплавы (демпфирующие)
Виброгасящий круг
Лента для каталитических нейтрализаторов
Лента для магнитной записи
Лента для нагревателей
Лента для постоянных магнитов
Лента для резисторов и деталей полупроводниковых изделий
Магнитная проволока
Магнитно-мягкие сплавы
Назад
Магнитно-мягкие сплавы
Лента из магнитно-мягких сплавов
Лист из магнитно-мягких сплавов
Пермаллой
Пермендюр
Перменорм
Перминвар
Полоса из магнитно-мягких сплавов
Проволока из магнитно-мягких сплавов
Пруток из магнитно-мягких сплавов
Слиток из магнитно-мягких сплавов
Магнитно-твердые сплавы
Назад
Магнитно-твердые сплавы
Викаллой
Лента из магнитно-твердых сплавов
Лист из магнитно-твердых сплавов
Магнитно-твердая полоса
Проволока из магнитно-твердых сплавов
Пруток из магнитно-твердых сплавов
Слиток из магнитно-твердых сплавов
Немагнитные сплавы
Назад
Немагнитные сплавы
Немагнитная лента
Немагнитная проволока
Немагнитный круг
Немагнитный лист
Постоянные магниты
Прецизионная труба
Прецизионная фольга
Прецизионные прочие сплавы
Проволока магнитная для записи гармонических сигналов
Сверхпроводящие сплавы
Слябы из прецизионных сплавов
Сплав с заданным ТКЛР
Назад
Сплав с заданным ТКЛР
Инвар
Квадрат ТКЛР
Ковар
Лента ТКЛР
Лист ТКЛР
Платинит
Полоса ТКЛР
Проволока ТКЛР
Пруток ТКЛР
Слиток ТКЛР
Суперинвар
Труба ТКЛР
Сплавы с высоким электрическим сопротивлением
Назад
Сплавы с высоким электрическим сопротивлением
Квадрат из сплава с высоким электрическим сопротивлением
Ленты из сплава с высоким электрическим сопротивлением
Проволока из сплава с высоким электрическим сопротивлением
Пруток из сплава с высоким электрическим сопротивлением
Сплавы с высокой степенью проводимости при низких температурах
Сплавы с заданными свойствами упругости
Назад
Сплавы с заданными свойствами упругости
Лента с заданными свойствами упругости
Лист с заданными свойствами упругости
Полоса с заданными свойствами упругости
Проволока с заданными свойствами упругости
Пруток с заданными свойствами упругости
Слиток с заданными свойствами упругости
Труба с заданными свойствами упругости
Элинвар
Проволока термопарная вольфрам-рениевая
Резистивные сплавы
Силумин
Назад
Силумин
Силумин гранулы
Силумин чушка
Твердые сплавы
Назад
Твердые сплавы
Вольфрамовые пластины
Пластины из сплавов с износостойким покрытием
Победитовые пластины
Титановольфрамовые пластины
Титанотанталовольфрамовые пластины
Ферросплавы
Назад
Ферросплавы
Мишметалл (Ферроцерий)
Силикокальций
Силикомарганец
Ферроалюминий
Ферроалюмониобий
Ферробор
Феррованадий
Ферровольфрам
Ферромарганец
Ферромолибден
Ферроникель
Феррониобий
Ферросера
Ферросиликованадий с марганцем
Ферросиликомагний
Ферросиликомарганец
Ферросиликотитан
Ферросиликохром
Ферросиликоцирконий
Ферросилиций
Ферротитан
Феррофосфор
Феррохром
Ферроцерий в стержнях
Фехраль
Назад
Фехраль
Резистивные сплавы(Фехраль)
Фехралевая проволока
Фехралевая сетка
Фехралевый пруток
ЦАМ
Сварочные материалы
Назад
Сварочные материалы
Графитовые электроды
Кобальтовый наплавочный порошок
Припой
Присадочная проволока
Присадочный пруток
Проволока для металлизации
Проволока для сварки чугуна
Пруток для наплавки
Сварной кобальтовый пруток
Сварочная порошковая проволока VAUTID
Сварочная проволока из высоколегированной стали
Сварочная проволока из кобальтового сплава
Сварочная проволока из легированной стали
Сварочная проволока из низкоуглеродистой стали
Угольные электроды
Флюсовая паста
Флюсы
Электрод из кобальтового сплава
Электродная лента
Электроды для ответственных конструкций
Электроды для подводной сварки
Электроды для резки металла
Электроды для сварки алюминия
Электроды для сварки бронзы
Электроды для сварки высоколегированных сталей
Электроды для сварки жаропрочных сталей
Электроды для сварки нержавеющей стали
Электроды для сварки низколегированных сталей
Электроды для сварки разнородных сталей
Электроды для сварки углеродистых сталей
Электроды для сварки чугуна
Электроды для теплоустойчивых сталей
Электроды наплавочные
Электроды сварочные
Полимерные изделия
Назад
Полимерные изделия
Акриловые стекла
Назад
Акриловые стекла
Cатинированные литые акриловые листы
Акриловые листы для торцевой подсветки
Зеркальные экструзионные акриловые листы
Литые акриловые листы
Экструзионные акриловые листы
Амортизаторы резиновые
Назад
Амортизаторы резиновые
Амортизаторы приборные
Назад
Амортизаторы приборные
Амортизаторы приборные резинометаллические пластинчатые
Амортизаторы приборные резинометаллические чашечные
Амортизаторы резиновые NRE
Амортизаторы резинометаллические двухпластинчатые
Виброизоляторы резиновые вентиляторные взрывозащищенные
Корабельные амортизаторы
Назад
Корабельные амортизаторы
Корабельные амортизаторы АКСС-И
Корабельные амортизаторы АКСС-М
Корабельные амортизаторы АКСС-МХ
Валы обрезиненные
Назад
Валы обрезиненные
Валы с резиновой обкладкой для текстильных машин
Валы с резиновым массивом для ленторазрывных машин
Обрезиненные валы
Винипласт
Герметик резиновый
Назад
Герметик резиновый
Герметик анаэробный
Герметик битумно-полимерный аэродромный
Герметик битумно-резиновый аэродромный
Герметик битумный аэродромный
Герметик для приборов
Герметик кремнийорганический
Герметик полимерный аэродромный
Герметик полисульфидный
Герметик РТИ
Герметик тиоколовый
Герметик фторсилоксановый
Гетинакс лист
Гидроизолирующие материалы
Назад
Гидроизолирующие материалы
Бризол
Изол
Грязесъемники для штоков
Диафрагмы и мембраны резиновые
Назад
Диафрагмы и мембраны резиновые
Диафрагма резино-фторопластовая
Диафрагма резиновая
Мембрана резиновая для фильтр-прессов типа ФПАКМ
Мембрана резинотканевая тарельчатая для тормозной камеры
Капролон
Назад
Капролон
Капролон блочный
Капролон круг
Капролоновая втулка
Капролоновый стержень
Назад
Капролоновый стержень
Капролон (полиамид 6) графитонаполненный стержень (черный)
Капролон (полиамид 6) маслонаполненный стержень (черный)
Капролон стержень
Листы и пластины капролона
Клеи резиновые
Назад
Клеи резиновые
Кремнийорганический клей
Нитрильный клей
Перхлорвиниловый клей
Полимерный клей
Резиновый клей
Фенольно-каучуковый клей
Хлоропреновый клей
Эпоксидный клей
Кольца и втулки
Назад
Кольца и втулки
Втулка МУВП
Кабельные проходные втулки
Кольца для баллонов
Кольца для фляг
Кольца резиновые для пожарной арматуры
Кольца уплотнительные
Кольцо МУВП
Кольцо резиновое для асбоцементных труб
Кольцо резиновое уплотнительное для бетонных труб
Кольцо резиновое уплотнительное для чугунных труб
Кольцо резиновое уплотнительное прямоугольного сечения
Кольцо резинотканевое нажимное
Кольцо резинотканевое опорное
Кольцо уплотнительное для труб ПВХ
Комплектующие для водопроводной арматуры и сантехники
Назад
Комплектующие для водопроводной арматуры и сантехники
Кольца силиконовые
Сантехнические прокладки прямоугольного сечения
Сантехнические профили
Комплектующие для горнодобывающей отрасли
Назад
Комплектующие для горнодобывающей отрасли
Габаритные износостойкие плиты
Лифтер для рудоразмольных мельниц
Плита вагоноопрокидователя
Резиновая футеровка спирального классификатора
Резиновые пластины с металлической подложкой
Резиновые сита для грохотов
Футеровка мельницы ММС
Комплектующие для нефтегазовой промышленности
Назад
Комплектующие для нефтегазовой промышленности
Обтираторы скважинные
Уплотнительные манжеты пакера
Шайбы ТПР
Комплектующие для сельского хозяйства
Назад
Комплектующие для сельского хозяйства
Бильные пальцы
Муфта МВА
Сосковая резина для доильных аппаратов
Тройник молочный
Трубка молочная
Угольник МВА
Шланг поливочный
Конвейерные ленты
Назад
Конвейерные ленты
Антистатические конвейерные ленты
Бесконечные конвейерные ленты
Износостойкие конвейерные ленты
Конвейерные ленты общего назначения
Ленты транспортера
Маслостойкие конвейерные ленты
Морозостойкие конвейерные ленты
Пищевые конвейерные ленты
Резинотканевые конвейерные ленты
Рифленые конвейерные ленты
Сборные конвейерные ленты
Специальные конвейерные ленты
Теплостойкие конвейерные ленты
Трудновоспламеняющиеся конвейерные ленты
Трудносгораемые конвейерные ленты
Электропроводящие конвейерные ленты
Ленты резиновые
Назад
Ленты резиновые
Лента ЛЭТСАР
Резиновая лента изоляционная
Резиновая лента уплотнительнаяРезиновая лента уплотнительная
Резинотканевая лента
Тиоколовая лента
Листовой ПВХ
Назад
Листовой ПВХ
Вспененный листовой ПВХ
Назад
Вспененный листовой ПВХ
Белый вспененный листовой ПВХ
Цветной вспененный листовой ПВХ
Сплошной листовой ПВХ
Назад
Сплошной листовой ПВХ
Белый сплошной листовой ПВХ
Прозрачный сплошной листовой ПВХ
Листовой пластик АБС
Листовой полистирол
Назад
Листовой полистирол
Декоративный листовой полистирол
Зеркальный листовой полистирол
Прозрачный листовой полистирол
Ударопрочный листовой полистирол
Листовой ПЭТ
Листовой САН
Манжеты РТИ
Назад
Манжеты РТИ
Резиновые манжеты
Назад
Резиновые манжеты
Резиновые армированные манжеты
Резиновые торцевые уплотнения
Резиновые уплотнительные манжеты
Резинотканевые манжеты
Назад
Резинотканевые манжеты
Резинотканевые армированные манжеты
Резинотканевые уплотнительные манжеты
Резинотканевые шевронные манжеты
Мастика РТИ
Назад
Мастика РТИ
Замазка уплотнительная
Компаунд
Масса уплотнительная
Мастика битумно-резиновая
Мастика каучуковая
Мастика полиизобутиленовая
Мастика полимерно-битумная
Мастика тиоколовая
Паста герметизирующая
Оргстекло
Пенокартон
Назад
Пенокартон
Белый и цветной пенокартон
Самоклеящийся пенокартон
Пенополистирольные плиты
Пластики для гравировки
Назад
Пластики для гравировки
Пластики для лазерной гравировки
Пластики для механической гравировки
Пластина эбонитовая
Плиты резиновые
Назад
Плиты резиновые
Гидроплиты резиновые
Маты животноводческие
Плита железнодорожного переезда
Плита трамвайного переезда
Плиты Рездор
Покрытия резиновые
Назад
Покрытия резиновые
Брусчатка резиновая
Дорожка резиновая
Коврик резиновый грязезащитный
Коврик резиновый диэлектрический
Накладки противоскользящие
Плитка резиновая
Покрытие резинотканевое
Проступь резиновая
Полиамид
Назад
Полиамид
Полиамид гранулированный
Полиамид литьевой
Полиамид матированный
Полиамид спирторастворимый
Полиамид стеклонаполненный
Полиамид тальконаполненный
Полиамид угленаполненный
Сополимер полиамида
Экструзионный полиамид стержень рецикл
Назад
Экструзионный полиамид стержень рецикл
Экструзионный полиамид
Экструзионный полиамид стержень
Полиацеталь
Назад
Полиацеталь
Полиацеталь втулки
Полиацеталь пластина
Полиацеталь стержень
Полибутилен
Полиизобутилен в брикетах
Поликарбонаты
Назад
Поликарбонаты
Сотовые поликарбонаты
Сплошные поликарбонаты
Полимерно-песчаные изделия
Назад
Полимерно-песчаные изделия
Арычный лоток полимерно-песчаный
Бордюр полимерно-песчаный
Полимерпесчаные колодцы
Назад
Полимерпесчаные колодцы
Люк полимерно-песчаный
Полимерно-песчаное днище для колодцев
Полимерно-песчаное кольцо для колодцев
Полимерпесчаный конус для колодца
Полимерные трубы
Полипропилен
Полипропиленовый ворс
Полипропиленовый лист
Полиуретан
Назад
Полиуретан
Полиуретан пластины
Полиуретан стержень
Полиэтилен
Назад
Полиэтилен
Высокомолекулярный полиэтилен
Линейный полиэтилен
Металлоценовый полиэтилен
Полиэтилен высокой плотности
Полиэтилен низкой плотности
Полиэтилен очень низкой плотности
Полиэтилен сверхнизкой плотности
Сверхвысокомолекулярный полиэтилен
Сшитый полиэтилен
Полиэтиленовые трубы
Назад
Полиэтиленовые трубы
Напорные полиэтиленовые трубы Протект 1075 ПЭ 100 КС
Напорные полиэтиленовые трубы Протект 1075 ПЭ 100 КС для газопроводов
Обсадная труба ПВХ для скважин
Термостойкие полиэтиленовые трубы
Трубы напорные для водоснабжения и канализации ПЭ 100
Трубы ПВД
Трубы ПНД технические полиэтиленовые
Трубы полиэтиленовые газовые ПЭ80, ПЭ100
Трубы полиэтиленовые напорные ПЭ80 для водоснабжения и канализации
Полоса силиконовая для сквиджа
Прокладки резиновые железнодорожные
Назад
Прокладки резиновые железнодорожные
Подрельсовые и нашпальные прокладки прочие
Подрельсовые и нашпальные прокладки тип ЦП
Резиновая крошка
Резиновые прокладки
Назад
Резиновые прокладки
Резиновые прокладки кольцевые
Резиновые прокладки круглого сечения
Резиновые прокладки круглые
Резиновые прокладки плоские
Резиновые прокладки прямоугольного сечения
Резиновые прокладки прямоугольные
Резинотканевые прокладки полые круглого сечения
Резиновые технические пластины
Назад
Резиновые технические пластины
Авиационные пластины
Атмосферомаслостойкая пластина
Вакуумные пластины
Назад
Вакуумные пластины
Вакуумная листовая пластина
Вакуумная рулонная пластина
Вибродемпфирующие пластины
Диэлектрические силиконовые пластины
Маслобензостойкие пластины
Назад
Маслобензостойкие пластины
Маслобензостойкая листовая пластина
Маслобензостойкая рулонная пластина
Пищевые пластины
Назад
Пищевые пластины
Пищевая листовая пластина
Пищевая рулонная пластина
Силиконовый коврик для мармелада
Пластины для использования в агрессивной среде
Пластины для штампов
Пластины ДСТ
Полиизобутиленовые пластины
Тепломорозокислотощелочестойкие пластины
Назад
Тепломорозокислотощелочестойкие пластины
Тепломорозокислотощелочестойкая листовая пластина
Тепломорозокислотощелочестойкая рулонная пластина
Термостойкие силиконовые пластины
Технические губчатые пластины
Технические пористые пластины
Фторсиликоновая пластина
Резиновый порошок
Резиноткани
Назад
Резиноткани
Мембранное полотно
Прорезиненная ткань
Резиностеклоткань
Резиностеклоткань РЭТСАР
Ремни резиновые
Назад
Ремни резиновые
Ремень вариаторный клиновой
Ремень вентиляторный клиновой
Ремень приводной клиновой
Ремень приводной многоручьевой
Ремень приводной плоский
Ремень приводной поликлиновой
Ремень приводной с металлокордом
Ремень транспортера
Ремень элеватора
РТИ для электроэнергетической промышленности
Назад
РТИ для электроэнергетической промышленности
Втулки уплотнительные кабельного ввода ВКУ
Масляные прокладки и уплотнители для силовых трансформаторов
Пластина трансформаторная листовая
Пластина трансформаторная рулонная
Полосы и шнуры трансформаторные
Трубки электроизоляционные ТКР
Уплотнения для гидротехнических сооружений
Шайбы уплотнительные для масляных трансформаторов
Рукава резиновые
Назад
Рукава резиновые
Рукав для сварки
Рукав для систем охлаждения
Рукав резиновый армированный
Рукав резиновый класс А
Рукав резиновый класс В
Рукав резиновый напорно-всасывающий
Рукав резиновый общего назначения
Рукав резиновый с металлической оплеткой
Рукав резиновый с нитяной оплеткой
Рукав резиновый с нитяным каркасом
Рукав резиновый с нитяным усилением
Рукав резиновый с присоединительной арматурой
Рукав резиновый с текстильным каркасом
Рукав резинотканевый
Рукав с текстильным усилением
Силиконовые профили
Назад
Силиконовые профили
Катодная планка
Профили бытового назначения
Профили для строительных конструкций
Профили уплотнительные
Термостойкие силиконовые профили
Силиконовые резиновые смеси
Назад
Силиконовые резиновые смеси
Кабельные силиконовые резиновые смеси
Маслобензостойкие силиконовые резиновые смеси
Маслостойкие cиликоновые резиновые смеси
Силиконовые резиновые смеси общего назначения
Силиконовые резины с повышенной термостойкостью
Силиконовые резины с повышенными прочностными характеристиками и высоким раздиром
Силиконовые смеси для прессовых изделий
Силиконовые смеси для экструзионных изделий
Смеси резиновые невулканизированные товарные
Токопроводящие силиконовые смеси
Смеси резиновые
Сотовый полипропилен
Стекломагниевый лист
Стеклотекстолит
Стержень эбонитовый
Термоусадочная трубка
Тормозная лента
Трубки резиновые
Назад
Трубки резиновые
Вакуумные трубки
Резиновые трубки
Силиконовые трубки
Трубка резиновая армированная латунной сеткой
Трубка резиновая вакуумная
Трубка резиновая диэлектрическая
Трубка резиновая для велосипедных насосов
Трубка резиновая для двигателей
Трубка резиновая для защиты кабелей
Трубка резиновая кислотощелочестойкая
Трубка резиновая маслобензостойкая
Трубка резиновая морозостойкая
Трубка резиновая пищевая
Трубка резиновая теплостойкая
Трубка резиновая техническая
Трубка резиновая унифицированная
Трубка резиновая экранирующая
Трубка резиновая электроизоляционная
Трубка эластомерная электроизоляционная
Трубки резиновые медицинские
Назад
Трубки резиновые медицинские
Трубка резиновая медицинская вакуумная
Трубка резиновая медицинская для кислородных подушек
Трубка резиновая медицинская дренажная
Трубка резиновая медицинская слуховая
Трубка резиновая медицинская соединительная
Трубка силиконовая медицинская нестерильная
Фторопласт
Назад
Фторопласт
Листы фторопласта
Фторопласт стержень
Фторопластовая лента
ФУМ жгут
Назад
ФУМ жгут
ФУМ жгут круглого сечения
ФУМ жгут прямоугольного сечения
Шланги резиновые
Назад
Шланги резиновые
Шланг резиновый армированный напорно-всасывающий
Шланг резиновый армированный подающий
Шланг резиновый армированный с крышкой
Шланг резиновый армированный с резиновым чехлом
Шланг резиновый двойной для газовой сварки
Шланг резиновый с накидными гайками
Шнуры резиновые
Назад
Шнуры резиновые
Вакуумные шнуры
Гернитовые шнуры
Круглые резиновые шнуры
Прямоугольные резиновые шнуры
Резиновые вакуумные шнуры
Назад
Резиновые вакуумные шнуры
Резиновые вакуумные квадратные шнуры
Резиновые вакуумные круглые шнуры
Резиновые вакуумные прямоугольные шнуры
Резиновые кислотощелочестойкие шнуры
Назад
Резиновые кислотощелочестойкие шнуры
Резиновые кислотощелочестойкие квадратные шнуры
Резиновые кислотощелочестойкие круглые шнуры
Резиновые кислотощелочестойкие прямоугольные шнуры
Резиновые маслобензостойкие шнуры
Назад
Резиновые маслобензостойкие шнуры
Резиновые маслобензостойкие квадратные шнуры
Резиновые маслобензостойкие круглые шнуры
Резиновые маслобензостойкие прямоугольные шнуры
Резиновые морозостойкие шнуры
Назад
Резиновые морозостойкие шнуры
Резиновые морозостойкие квадратные шнуры
Резиновые морозостойкие круглые шнуры
Резиновые морозостойкие прямоугольные шнуры
Резиновые особо мягкие шнуры
Назад
Резиновые особо мягкие шнуры
Резиновые особо мягкие квадратные шнуры
Резиновые особо мягкие прямоугольные шнуры
Резиновые особо мягкие трапециевидные шнуры
Резиновые пищевые шнуры
Назад
Резиновые пищевые шнуры
Резиновые пищевые квадратные шнуры
Резиновые пищевые круглые шнуры
Резиновые пищевые прямоугольные шнуры
Резиновые самолетные круглые шнуры
Резиновые теплостойкие шнуры
Назад
Резиновые теплостойкие шнуры
Резиновые теплостойкие квадратные шнуры
Резиновые теплостойкие круглые шнуры
Резиновые теплостойкие прямоугольные шнуры
Резиновые унифицированные шнуры
Назад
Резиновые унифицированные шнуры
Резиновые унифицированные квадратные шнуры
Резиновые унифицированные круглые шнуры
Резиновые унифицированные прямоугольные шнуры
Резиновые уплотнительные шнуры
Назад
Резиновые уплотнительные шнуры
Резиновые уплотнительные квадратные шнуры
Резиновые уплотнительные круглые шнуры
Резиновые уплотнительные прямоугольные шнуры
Силиконовые шнуры
Назад
Силиконовые шнуры
Круглые силиконовые шнуры
Прямоугольные силиконовые шнуры
Силиконовые шнуры для светильников LED
Уплотнительные шнуры из особо мягкой резины
Композитные материалы
Назад
Композитные материалы
Алюминиевые композитные панели
Композитная арматура
Композитные трубы
Назад
Композитные трубы
Стеклопластиковые трубы
Трубы из базальтового волокна
Трубы из углеродного волокна
Контактная пластина
Текстолит
Назад
Текстолит
Листовой текстолит
Текстолит стержень
Электротехнический листовой текстолит
Уплотнительная спеченная лента
Эбонит
Назад
Эбонит
Эбонит лист
Эбонит стержень
Эбонит трубка
Кабель
Назад
Кабель
Автомобильный провод
Бортовой кабель
Взрывной кабель
Водопогружной кабель
Высокочастотный кабель
Грозотрос
Жилы токопроводящие
Назад
Жилы токопроводящие
Гибкие жилы
Многопроволочные гибкие жилы
Многопроволочные жилы
Однопроволочные жилы для больших сечений
Изоляция кабелей
Назад
Изоляция кабелей
Алюмофлекс
Оцинкованный металлорукав
Кабель дальней связи
Кабель для компьютерных сетей
Кабель для щеток электрических машин
Кабель управления
Контрольный кабель
Монтажный кабель
Нефтепогружной кабель
Обмоточные провода
Назад
Обмоточные провода
Обмоточный круглый медный провод с эмалевой изоляцией
Провод обмоточный алюминиевый круглый
Провод обмоточный алюминиевый прямоугольный
Провод обмоточный прямоугольный медный
Провод обмоточный с бумажной изоляцией
Провод обмоточный с уплотненной бумагой
Провод для подвижного состава
Провод для радиоустановок
Провод контактный
Провод неизолированный
Противопожарный кабель
Радиочастотный кабель
Самонесущий изолированный провод
Сигнализационный кабель
Силовой кабель
Силовые гибкие кабели
Силовые кабели с бумажной изоляцией
Силовые кабели с пластмассовой изоляцией
Соединительный кабель
Станционный кабель
Стационарный кабель
Судовой кабель
Телефонный кабель
Теплостойкий монтажный провод
Термостойкий кабель
Термоэлектродный кабель
Универсальный кабель
Установочный провод
Шахтный кабель
Электроды анодного заземления
Метизы
Назад
Метизы
Анкерные плиты
Назад
Анкерные плиты
Литая анкерная плита
Сварные анкерные плиты
Составные анкерные плиты
Стальные анкерные плиты
Анкерные тяги
Назад
Анкерные тяги
Анкерная тяга резьбовая с муфтой
Анкерная тяга с накладками
Анкерная тяга с проушиной
Плоская анкерная тяга
Арматурные каркасы
Назад
Арматурные каркасы
Арматурные каркасы для свай
Объемные арматурные каркасы (пространственные)
Плоские арматурные каркасы для фундамента
Фиксаторы "Змейка" для арматуры и сеток
Высокопрочный крепеж
Назад
Высокопрочный крепеж
Алюминиевые шайбы
Высокопрочная гайка
Высокопрочная шайба
Высокопрочные шпильки
Высокопрочный болт
Медные шайбы
Зажимы для стальных канатов
Латунные заклепки
Назад
Латунные заклепки
Латунные заклепки с полукруглой головкой
Латунные заклепки с потайной головкой
Медные гвозди
Медные заклепки
Назад
Медные заклепки
Медная вытяжная заклепка
Медные заклепки с плоской головкой
Медные заклепки с полукруглой головкой
Медные заклепки с потайной головкой
Нержавеющие вытяжные заклепки
Стальные гайки
Назад
Стальные гайки
Глухая гайка
Глухая гайка в сборе
Шлицевая гайка
Стальные оцинкованные шпильки
Фундаментные анкерные блоки
Фундаментные болты
Назад
Фундаментные болты
Болт фундаментный прямой тип 5.1
Болт фундаментный с коническим концом тип 6.1
Болт фундаментный с коническим концом тип 6.2
Болт фундаментный с коническим концом тип 6.3
Болты фундаментные изогнутые тип 1.1
Болты фундаментные изогнутые тип 1.2
Болты фундаментные с анкерной плитой тип 2.1
Болты фундаментные составные тип 3.1
Болты фундаментные составные тип 3.2
Болты фундаментные составные тип 4.1
Болты фундаментные составные тип 4.2
Болты фундаментные составные тип 4.3
Болты фундаментные тип 2.2
Болты фундаментные тип 2.3
Футеровочные болты (бронеболты)
Шпильки фланцевые
Закладные детали
Назад
Закладные детали
Закладные детали ФМ
Закладные изделия МН по серии 1.400-15
Назад
Закладные изделия МН по серии 1.400-15
МН 101-164 изделие
МН 201-228 изделие
МН 301-325 изделие
МН 401-418 изделие
МН 501-522 изделие
МН 523-538 изделие
МН 539-540 изделия
МН 541-554 изделие
МН 555-557 изделие
МН 558-565 изделия
МН 566-571 изделие
МН 601-615 изделие
МН 616-617 изделие
МН 701-775 изделие
МН 776-795 изделие
МН 801 изделие
МН 802-834 изделие
Фиксаторы арматуры
Назад
Фиксаторы арматуры
Защитная крышка для арматуры
Фиксаторы арматуры звездочка
Фиксаторы арматуры кольцо
Фиксаторы арматуры кубик
Фиксаторы арматуры многоуровневые
Фиксаторы арматуры настил
Фиксаторы арматуры стойка турецкая
Фиксаторы арматуры стульчик
Фиксаторы арматуры треугольник
Конструкции для трубопроводов
Назад
Конструкции для трубопроводов
Конструкции для балластировки трубопроводов
Назад
Конструкции для балластировки трубопроводов
Бункерное устройство для заполнения текстильных контейнеров
Мягкие соединительные пояса
Пластиковые балластировочные утяжелители УБП, ПКУ
Полимерно-контейнерное балластирующее устройство
Текстильный контейнер из технической ткани
Конструкции для защиты изоляционного покрытия трубопроводов
Назад
Конструкции для защиты изоляционного покрытия трубопроводов
Защитные коврики для УБО и УБКМ
Скальный лист
Уплотнительный коврик из скального листа для УТК и ЧГ
Футеровочные маты для УБО
Футеровочные полотенца
Конструкции для очистки полости трубопроводов
Назад
Конструкции для очистки полости трубопроводов
Поршень полиуретановый дисковый
Поршень полиуретановый манжетно-дисковый
Поршень полиуретановый манжетный
Поршни пенополиуретановые литые ППЛ, ППЛ-М
Конструкции для сварки трубопроводов
Назад
Конструкции для сварки трубопроводов
Подогреватели стыков трубопроводов
Термозащитные пояса для защиты трубы от сварочных брызг
Термоизолирующие пояса для предотвращения преждевременного охлаждения сварочного шва
Конструкции для строительства переходов трубопроводов
Назад
Конструкции для строительства переходов трубопроводов
Герметизирующие манжеты ГМР и ГМНР
Герметизирующие резинотканевые манжеты
Защитные прокладки из скального листа под ОНК
Защитные резинотканевые прокладки под ОНК
Опорно - направляющие кольца
Опорно - центрирующие кольца
Укрытие защитное герметизирующей манжеты
Противоэрозионные конструкции
Назад
Противоэрозионные конструкции
Противоэрозионные полотенца
Противоэрозионный контейнер
Железобетонные изделия
Назад
Железобетонные изделия
Железобетонные колодцы (ЖБИ)
Назад
Железобетонные колодцы (ЖБИ)
Бетонные кольца для колодцев
Назад
Бетонные кольца для колодцев
Кольца ЖБИ
Кольца конические колодцев
Кольцо опорное для колодцев
Дорожные плиты колодцев
Круглые плиты перекрытий колодцев
Опорные плиты колодцев
Плиты днища колодцев
Железобетонные плиты
Назад
Железобетонные плиты
Анкерно-опорные плиты
Железобетонные анкерные плиты
Железобетонные плиты перекрытий
Железобетонные утяжелители для трубопроводов
Назад
Железобетонные утяжелители для трубопроводов
Железобетонные утяжелители УБГ
Железобетонные утяжелители УБКм
Железобетонные утяжелители УБО
Железобетонные утяжелители УБП
Железобетонные утяжелители УБТ
Железобетонные утяжелители УТК
Лотки ЖБИ
Трубы железобетонные
Назад
Трубы железобетонные
Труба железобетонная безнапорная
Труба железобетонная напорная
Электрооборудование
Услуги
Назад
Услуги
Резка металла
Цинкование металла
Сварка металла
Защитное покрытие
Поставщики
Доставка
Компания
Назад
Компания
Вакансии
Политика конфиденциальности
Новости
Сертификаты
Контакты
Назад
Контакты
Доставка
Назад
Доставка
Доставка
Поставщики
г. Астана, проспект Республики, 24, офис 403
+7 (771) 800 20 01
zakaz@pk-gm.kz
Личный кабинет
Корзина
Отложенные
Сравнение товаров
Поиск
Главная
/
Каталог товаров
/
Трубопроводная арматура в городе Алматы
Цветной прокат и сплавы
Нержавеющий прокат
Специальные стали
Черный прокат
Трубопроводная арматура
Изоляция труб
Чугунный прокат
Сплавы
Сварочные материалы
Полимерные изделия
Композитные материалы
Кабель
Метизы
Закладные детали
Конструкции для трубопроводов
Железобетонные изделия
Электрооборудование
/
Крепления трубопроводов в городе Алматы
Запорно-регулирующая арматура
Фасонные части трубопроводов
Фасонные изделия в ППУ
Стальные фитинги
Медные фитинги
Фланцы и фланцевые соединения
Трубные опоры
Соединительные части
Компенсаторы
Распылительные головки
Щелевая труба для углового фильтра
Стальные цилиндрические обечайки
Алюминиевые обечайки
Вентиляционные клапаны
Вентиляционные отводы
Водосточные системы
Воздуховод оцинкованный
Гидравлические соединения
Коаксиальные трубы и комплектующие
Конические обечайки
Крепления трубопроводов
Обечайка чугунного люка
Оцинкованные обечайки
Полиэтиленовые фитинги
Резьбовые предохранители для обсадных труб и муфт
Судовые пружинные подвески
Сэндвич трубы и комплектующие
Титановые воздуховоды
Титановые прямые участки
Титановые фитинги
Элеваторы и комплектующие
Крепления трубопроводов в городе Алматы
Цветной прокат и сплавы
Алюминиевый прокат
Алюминиевый лист
Лист алюминиевый ПВЛ
Рифленый алюминиевый лист
Алюминиевый перфорированный лист
Алюминиевый профнастил
Алюминиевая плита
Алюминиевая шина
Алюминиевая лента
Алюминиевый рулон
Алюминиевая фольга
Алюминиевая труба
Труба алюминиевая холоднодеформируемая
Труба алюминиевая электросварная
Алюминиевая профильная труба
Алюминиевая прессованная труба
Продольно-оребренные алюминиевые трубы
Алюминиевый круг
Алюминиевый пруток
Сварочный алюминиевый пруток
Алюминиевая проволока
Проволока алюминиевая электротехническая
Проволока алюминиевая для холодной высадки
Проволока алюминиевая для воздушных линий электропередач
Заклепочная алюминиевая проволока
Сварочная алюминиевая проволока
Сварочная порошковая алюминиевая проволока
Катанка алюминиевая
Алюминиевый квадрат
Алюминиевый шестигранник
Алюминиевая декоративная сетка
Алюминиевый тавр
Алюминиевый двутавр
Алюминиевый ш-образный профиль
Алюминиевый швеллер
Алюминиевый прессованный профиль
Бульбопрофиль
Алюминиевый полособульб
Алюминиевый уголок
Анодированный алюминий
Алюминиевая чушка
Переходные пластины АП
Алюминиевые втулки
Алюминиевые уплотнительные прокладки
Алюминиевая керноприемная труба
Алюминиевая полоса
Алюминиевые бульбоугольники
Алюминиевые крышки люков цистерн
Алюминиевый типографский лист
Шары из алюминия
Бронзовый прокат
Бронзовый лист
Бронзовая плита
Бронзовая полоса
Бронзовая шина
Бронзовая лента
Бронзовая фольга
Бронзовый круг
Бронзовый пруток
Бронзовые трубы
Бронзовый квадрат
Бронзовый шестигранник
Бронзовая сетка
Бронзовая проволока
Бронзовая втулка
Бронзовые отливки
Бронзовая чушка
Бронзовые поковки
Бронзовые шайбы
Бронзовый вкладыш
Ванадиевый прокат
Ванадиевый лист
Лента ванадиевая
Плита ванадиевая
Полоса ванадиевая
Фольга ванадиевая
Круг ванадиевый
Ванадиевый пруток
Ванадиевая проволока
Ванадиевый слиток
Ванадий металлический
Вольфрамовый прокат
Вольфрамовый лист
Вольфрамовая полоса
Вольфрамовая фольга
Вольфрамовая лента
Вольфрамовый пруток
Вольфрамовая труба
Вольфрамовые заготовки
Вольфрамовая проволока
Вольфрамовая нить
Вольфрамовый электрод
Вольфрамовые тигли
Вольфрамовая лодочка
Вольфрамовый штабик
Вольфрамовый слиток
Вольфрамовый диск
Вольфрамовая спица
Вольфрамовые контакты
Гафниевый прокат
Гафниевый лист
Гафниевая полоса
Гафниевая фольга
Гафниевый пруток
Гафниевая проволока
Гафниевый слиток
Йодидный гафний
Гафниевая лента
Дюралюминиевый прокат
Дюралевый лист
Дюралевый рифленый лист
Дюралевая полоса
Дюралевая плита
Дюралевая лента
Дюралевая труба
Дюралевый круг
Дюралевый пруток
Дюралевая проволока
Дюралевый квадрат
Дюралевый шестигранник
Дюралевый уголок
Дюралевый швеллер
Дюралевая болванка
Латунный прокат
Латунный круг
Латунный пруток
Латунный лист
Латунная плита
Латунная полоса
Латунные пластины
Латунная лента
Латунная фольга
Латунная проволока
Латунная катанка
Латунный квадрат
Латунный шестигранник
Латунная труба
Волноводная латунная труба
Латунная сетка
Латунная чушка
Латунная втулка
Латунный профиль
Металлокорд
Латунный анод
Латунная шина
Латунная электроэрозионная проволока
Латунные вкладыши
Магниевый прокат
Магниевый лист
Магниевая плита
Магниевые пластины
Магниевый пруток
Магниевая проволока
Магниевая лента
Магниевые поковки
Магниевые слитки
Магниевые штамповки
Медный прокат
Медный лист
Рандоль листовой
Медная плита
Медная полоса
Медная шина
Медная изолированная шина
Медная лента
Медная кровельная лента
Медная лента DEVI
Медный рулон
Фольга медная
Медный круг
Медный пруток
Сварочный медный пруток
Медная труба
Медные трубы в изоляции
Медная труба для кондиционеров
Дюймовые трубы
Медная капиллярная трубка
Труба медная профильная
Волноводная медная труба
Медный квадрат
Медный брусок
Медный шестигранник
Медная сетка
Медная проволока
Сварочная медная проволока
Медная катанка
Катанка медная для электротехнических целей
Электроды для сварки меди
Медь в слитках чушках
Медные аноды
Медь катодная
Медь фосфористая
Переходные пластины МА
Луженые медные переходные пластины
Медная втулка
Медные уплотнительные прокладки
Судовые красномедные прокладки
Бескислородная медь в палочках
Медные наконечники
Медная поковка
Молибденовый прокат
Молибденовый лист
Молибденовая полоса
Молибденовая лента
Молибденовая фольга
Молибденовый пруток
Молибденовая труба
Молибденовая проволока
Молибденовый диск
Молибденовые заготовки
Молибденовый штабик
Молибденовые изделия
Молибденовая лодочка
Молибденовые тигли
Молибденовая нить
Никелевый прокат
Никелевый лист
Никелевая полоса
Никелевая лента
Никелевые трубы
Никелевый круг
Никелевый пруток
Никелевая проволока
Никелевая сетка
Никелевая фольга
Никелевая пластина
Никелевый анод
Никелевый катод
Гранулированный никель
Никелевая дробь карбонильная
Ниобиевый прокат
Ниобиевый лист
Ниобиевая полоса
Ниобиевая лента
Ниобиевая труба
Ниобиевый круг
Ниобиевый пруток
Ниобиевая проволока
Ниобиевая фольга
Ниобиевый штабик
Ниобиевая высечка
Ниобиевые таблетки
Ниобиевая чешуйка
Аноды с алмазным покрытием
Платинированные ниобиевые аноды
Нихромовый прокат
Нихромовый лист
Лента нихромовая
Круг нихромовый
Нихромовый пруток
Сетка нихромовая
Нихромовая проволока
Нить нихромовая
Нихромовый провод
Хромовая мишень
Хромовый брикет
Оловянный прокат
Оловянный лист
Оловянная фольга
Оловянный круг
Оловянный пруток
Оловянная проволока
Оловянный анод
Оловянный баббит
Оловянная лента
Рениевый прокат
Рениевый пруток
Рениевая проволока
Рениевая фольга
Рениевые заготовки
Рениевый штабик
Свинцовый прокат
Свинец в палочках
Свинцовая дробь
Свинцовая проволока
Свинцовая роль
Свинцовые муфты
Свинцовые пломбы
Свинцовые трубы
Свинцовый анод
Свинцовый кирпич
Свинцовый круг
Свинцовый лист
Свинцовый пруток
Танталовый прокат
Танталовый лист
Танталовая полоса
Танталовая лента
Танталовая фольга
Танталовая трубка
Танталовый пруток
Танталовая проволока
Танталовый слиток
Титановый прокат
Титановый лист
Титановая плита
Титановая шина, полоса
Титановая лента
Титановая фольга
Титановая карточка
Титановые пористые пластины
Титановый круг
Титановый пруток
Титановая труба
Титановый профиль
Нитиноловая труба
Заготовка из титана
Титановая поковка
Титановая проволока
Нитиноловая проволока
Титановая сварочная проволока
Нитиноловая пружина
Титановая катушка
Титановые кольца
Титановая мишень
Титановый квадрат
Титановый шестигранник
Титановая сетка
Титановые слитки
Титановые отливки
Титановые емкости
Титановая ёмкость нейтрализации растворов
Анодная корзина из титана
Титановый компенсатор трубы
Титановый блин под фланец
Титановый барботёр
Крепежная стойка из титана
Реактор из титана
Титановый импеллер
Титановая клипса
Титановая губка
Аноды экранирующие
Платинированные титановые аноды
Титановая катанка
Титановый уголок
Цинковый прокат
Цинковый лист
Цинковая полоса
Цинковая фольга
Цинковые пластины
Цинковая проволока
Цинковый анод
Циркониевый прокат
Циркониевый лист
Циркониевая лента
Циркониевая фольга
Циркониевая труба
Циркониевый пруток
Циркониевая проволока
Нержавеющий прокат
Нержавеющий лист
Цветные нержавеющие листы
Бирюзовый нержавеющий лист
Золотой нержавеющий лист
Розовый нержавеющий лист
Синий нержавеющий лист
Черный нержавеющий лист
Нержавеющий перфорированный лист
Нержавеющий перфорированный лист Qg 1х2 м
Нержавеющий перфорированный лист Rv 1х2 м
Нержавеющие декоративные листы
Нержавеющий объемный лист
Нержавеющий текстурированный лист
Нержавеющий узорный лист
Нержавеющий шлифованный лист
Нержавеющий рифленый лист
Нержавеющая плита
Нержавеющая полоса
Нержавеющие карточки
Нержавеющий рулон
Рулонный подкат
Нержавеющая лента
Нержавеющая сварочная лента
Нержавеющий круг
Круг декоративный
Пруток нержавеющий
Сварочный нержавеющий пруток
Нержавеющие трубы
Трубы теплодеформированные из коррозионностойкой стали
Нержавеющая капиллярная трубка
Нержавеющие перфорированные трубы
Труба декоративная
Нержавеющая трубопроводная арматура
Запорно-регулирующая арматура из нержавеющей стали
Нержавеющие детали
Нержавеющие фитинги
Фасонные части трубопроводов из нержавеющей стали
Нержавеющая проволока
Нержавеющая сварочная проволока
Нержавеющий трос
Нержавеющая сетка
Нержавеющая просечно-вытяжная сетка
Рифленая нержавеющая сетка
Нержавеющий квадрат
Нержавеющий шестигранник
Нержавеющая поковка
Нержавеющий швеллер
Нержавеющий уголок
Нержавеющие трапы
Нержавеющие трапы с вертикальным выпуском
Нержавеющие трапы с горизонтальным выпуском
Дробь нержавеющая колотая
Дробь нержавеющая литая
Коррозионностойкие отливки
Нержавеющее кольцо
Шпоночный прокат нержавеющий
Нержавеющая дробь
Пористые материалы
Пористая лента
Пористый лист
Люки Manhole Covers
Люки Manhole Covers квадратные
Люки Manhole Covers круглые
Нержавеющая заготовка
Нержавеющая фильтровая сетка
Нержавеющие втулки
Нержавеющие втулки резьбовые
Нержавеющие втулки резьбовые шестигранные
Нержавеющие листы с покрытием нитрид титана
Голубой нержавеющий лист с покрытием оксид титана
Золотой нержавеющий лист с покрытием нитрид титана
Медный нержавеющий лист с покрытием карбонитрид титана
Нержавеющие водоотводы
Нержавеющие линейные водоотводы
Нержавеющие точечные водоотводы
Нержавеющие уловители водоотвода
Нержавеющие профильные трубы
Нержавеющие профильные квадратные трубы
Нержавеющие профильные прямоугольные трубы
Нержавеющие электросварные трубы
Нержавеющий просечно-вытяжной лист
Специальные стали
Автоматная сталь
Автоматная плита
Автоматный квадрат
Автоматный круг
Автоматный лист
Автоматный шестигранник
Биметаллический прокат
Биметаллическая лента
Биметаллическая полоса
Биметаллическая проволока
Биметаллические листы
Биметаллические оребренные трубы
Биметаллические плиты
Термобиметаллическая лента
Броневая сталь
Бронелист
Быстрорежущая сталь
Брусок из быстрорежущей стали
Быстрорежущий круг
Квадрат быстрорез
Лист быстрорез
Полоса быстрорез
Проволока быстрорез
Труба быстрорез
Жаропрочные стали
Жаропрочная заготовка
Жаропрочная карточка
Жаропрочная плита
Жаропрочная поковка
Жаропрочная полоса
Жаропрочная проволока
Жаропрочная сутунка
Жаропрочные трубы
Жаропрочный квадрат
Жаропрочный круг
Жаропрочный лист
Жаропрочный пруток
Жаропрочный шестигранник
Лента жаропрочная
Отливки из жаропрочной стали
Стальной башмак порога печи
Инструментальная сталь
Валковая сталь
Инструментальная лента
Инструментальная плита
Инструментальная поковка
Инструментальная полоса
Инструментальная проволока
Инструментальный квадрат
Инструментальный круг
Инструментальный лист
Конструкционная сталь
Конструкционная стальная плита
Конструкционный стальной круг
Конструкционный стальной лист
Поковка круглая
Прямоугольная поковка
Стальная лента
Стальная полоса
Стальная проволока
Стальная труба
Стальной легированный шестигранник
Стальной уголок
Стальные квадраты
Криогенный прокат
Криогенная плита
Криогенная полоса
Криогенные трубы
Криогенный квадрат
Криогенный круг
Криогенный лист
Мостовая сталь
Мостостроительный лист
Никельсодержащая сталь
Никельсодержащая полоса
Никельсодержащий квадрат
Никельсодержащий круг
Никельсодержащий лист
Никельсодержащий уголок
Никельсодержащий неравнополочный уголок
Никельсодержащий равнополочный уголок
Никельсодержащий шестигранник
Пищевая сталь
Пищевая плита
Пищевая полоса
Пищевая сетка
Пищевая труба
Пищевой квадрат
Пищевой круг
Пищевой лист
Подшипниковая сталь
Подшипниковая полоса
Подшипниковые трубы
Подшипниковый квадрат
Подшипниковый круг
Подшипниковый шестигранник
Рессорно-пружинные стали
Рессорно-пружинная плита
Рессорно-пружинная полоса
Рессорно-пружинный квадрат
Рессорно-пружинный круг
Рессорно-пружинный лист
Рессорно-пружинный шестигранник
Трубы из рессорно-пружинной стали
Судостроительная сталь
Зажим для стального троса
Киповая планка с роульсом
Колонна роликовых направляющих
Морская скоба
Морская фанера
Морской клюз
Панамский клюз
Полособульб
Роликовые клюзы для якорных цепей
Стопор якорной цепи
Судовая полоса
Судовой лист
Талреп
Талреп вилка-вилка
Талреп кольцо-кольцо
Талреп крюк-кольцо
Талреп крюк-крюк
Уголок для судостроения
Неравнополочный уголок для судостроения
Равнополочный уголок для судостроения
Якоря
U.S.N бесштоковый якорь
Якорь HHP
Якорь Spek
Якорь Матросова
Якорь повышенной держащей силы
Якоря Холла
Японский бесштоковый якорь
Штамповая сталь
Штамповая полоса
Штамповой квадрат
Штамповой круг
Штамповые трубы
Электротехническая сталь
Электротехническая анизотропная лента
Электротехническая изотропная лента
Электротехнические заготовки
Электротехнический круг
Электротехнический лист
Черный прокат
Листовой прокат
Асбестоцементные плиты
Асбоцементный лист
Горячекатаные пластины
Горячекатаный лист
Жесть
Износостойкий лист
Кованая плита
Котельный лист
Легированный лист
Лист оцинкованный
Лист просечно-вытяжной ПВЛ
Лист рифленый ромбический
Лист рифленый стальной
Лист стальной повышенной прочности
Лист холоднокатаный
Металлошифер простой, оцинкованный
Металлошифер
Металлошифер оцинкованный
Низколегированный лист
Окрашенный лист
Окрашенный оцинкованный лист
Омедненная просечка
Оцинкованный рулон
Перфорированный лист
Лист перфорированный MV
Лист перфорированный Qd 8x14
Лист перфорированный Qg 10x14
Лист перфорированный Qg 3x5
Лист перфорированный Qg 5x14
Лист перфорированный Qg 5x7
Лист перфорированный Qg 5x8
Лист перфорированный Qg 6x9
Лист перфорированный Qg 8x10
Лист перфорированный Qg 8x12
Лист перфорированный Qg Rv 6x8
Лист перфорированный Rg 5x12
Лист перфорированный Rg 8x17.32
Лист перфорированный Rv 1.5x3
Лист перфорированный Rv 1.75x2.5
Лист перфорированный Rv 10x15
Лист перфорированный Rv 2.5x4
Лист перфорированный Rv 2.5x5
Лист перфорированный Rv 2x2.5
Лист перфорированный Rv 2x3.5
Лист перфорированный Rv 3-5
Лист перфорированный Rv 3x4
Лист перфорированный Rv 3x5
Лист перфорированный Rv 4x6
Лист перфорированный Rv 5x6
Лист перфорированный Rv 5x7
Лист перфорированный Rv 5x8
Лист перфорированный Rv 6x10
Лист перфорированный Rv 6x9
Лист перфорированный Rv 8x10
Лист перфорированный Rv 8x12
Оцинкованный перфорированный лист Rv 1,25х2,5 м
Оцинкованный перфорированный лист Rv 1х2 м
Перфорированный лист Lv
Перфорированный лист Qg 1,25х2,5 м
Перфорированный лист Qg с квадратными отверстиями 1х2м
Перфорированный лист Qv 1х2 м
Перфорированный лист Rg 1х2 м
Перфорированный лист Rv 1,25х2,5 м
Перфорированный лист RV с круглыми отверстиями 1х2 м
Полоса высечка
Рулон с полимерным покрытием
Стальные тонкие листы
Углеродистый лист
Металлический сайдинг
Проволока
Калиброванная проволока
Канатная скребковая проволока
Нержавеющая канатная скребковая проволока
Оцинкованная канатная скребковая проволока
Светлая канатная скребковая проволока
Катанка
Низколегированная проволока
Пломбировочная проволока
Проволока ВР, ВР оцинкованная
Проволока ВР
Проволока оцинкованная ВР
Проволока вязальная
Проволока для бронирования кабеля
Проволока для холодной высадки
Проволока канатная ГОСТ 7372-79
Проволока качественная КС, КО
Проволока качественная КС
Проволока оцинкованная КО
Проволока колючая
Проволока Егоза
Проволока Репейник (Гюрза)
Проволока наплавочная
Проволока нихром
Проволока общего назначения
Проволока оцинкованная
Проволока полиграфическая простая, оцинкованная
Проволока пружинная
Проволока с полимерным покрытием
Проволока сварочная СВ
Проволока стальная оцинкованная для сердечников проводов
Проволока телеграфная
Проволока торговая, гвоздильная
Проволока углеродистая
Рояльная проволока
Сварочная омедненная проволока
Шплинтовая проволока
Профнастил
Металлочерепица
Оцинкованная кровельная сталь
Оцинкованная панель
Оцинкованный профилированный лист
Поликарбонатный профилированный лист
Прессованные оцинкованные ступени
Прессованный решетчатый настил
Профилированный лист с полимерным покрытием
Кровельный профилированный лист
Стеновой профилированный лист
Универсальный профилированный лист
Сварные оцинкованные ступени из решетчатого настила
Элементы отделки для кровельных материалов
Карнизная планка
Конек для металлочерепицы
Планка ендовы
Планка примыкания
Снегодержатель
Торцевая планка
Сетка стальная
Высечка
Высечка биметаллическая
Высечка из черной стали
Габионы
Габион с армирующей панелью
Габионные сетки двойного кручения
Коробчатый габион
Матрацы-габионы
Цилиндрический габион
Крученая шестигранная сетка (Манье)
Мельничная сетка
Оцинкованная просечно-вытяжная сетка
Просечно-вытяжная сетка
Рабица
Сетка рабица
Сетка рабица оцинкованная
Сетка рабица с полимерным покрытием
Сварная сетка
Противоподкопная сетка
Сетка арматурная
Сетка дорожная
Сетка кладочная
Сетка Армсеть
Сетка гиттер
Сетка плетеная
Галунная фильтровая сетка (полотняная)
Рукавная сетка
Саржевая сетка
Сетка канилированная (рифленая)
Транспортерная сетка (конвейерная)
Сетки тканые
Сетка тканая
Сетка тканая оцинкованная
Сетки штукатурные
Сетка штукатурная
Сетка штукатурная, армирующая оцинкованная
Тросиковая сетка
Шарнирная узловая сетка
Щелевая сетка
Сортовой прокат
Арматура
Арматура А1 (А240)
Арматура А2 (А300)
Арматура А3
Арматура А4 (А600)
Арматура А400
Арматура А5 (А800)
Арматура А500с
Арматура А6 (А1000)
Арматура АС2 (АС300)
Арматура Ат1000 (Ат-VI)
Арматура Ат1000К (Ат-VIК)
Арматура Ат1200 (Ат-VII)
Арматура Ат600К (Ат-IVК)
Арматура Ат600С (Ат-IVС)
Арматура АТ800
Арматура АТ800К (Ат-VK)
Арматура В500С
Стальная арматура
Пруток с твердым хромовым покрытием
Стальная дробь
Дробь стальная колотая
Дробь стальная литая
Стальной блюм
Стальной квадрат
Высоколегированный квадрат
Горячекатаный квадрат
Калиброванный квадрат
Кованый квадрат
Низколегированный квадрат
Оцинкованный квадрат
Стальной круг
Буровой пустотелый круг
Горячекатаный круг
Калиброванный круг
Кованый круг
Круг серебрянка
Низколегированный круг
Оцинкованный круг
Стальной пруток
Горячекатаный круглый пруток
Калиброванный круглый пруток
Квадратный пруток
Оцинкованный пруток
Сварочный омедненный пруток
Стальной шестигранник
Буровой шестигранник
Горячекатанный шестигранник
Калиброванный шестигранник
Стальные заготовки
Стальные кольца
Стальные круглые заготовки
Стальные прямоугольные заготовки
Стальные ленты
Горячекатаная лента
Лента для бронирования кабелей
Лента для щелочных аккумуляторов
Лента монтажная
Лента оцинкованная
Лента перфорированная
Лента пружинная
Лента стальная плющенная
Лента стальная повышенной прочности
Лента стальная термообработанная
Лента упаковочная
Лента штамповальная
Низкоуглеродистая лента
Холоднокатаная конструкционная лента
Стальные полосы
Горячекатаная полоса
Кованая полоса
Легированная полоса
Низколегированная полоса
Оцинкованная полоса
Фибра стальная
Шары помольные, мелющие
Стальные отливки VAUTID
Стальные сваи
Винтовые сваи
Конические стальные забивные сваи
Трубный прокат
Безнапорные асбестоцементные трубы
Бесшовные горячекатаные трубы
Бесшовные трубы
Гибкие насосно-компрессорные трубы
Гидравлическая фосфатированная трубка
Дренажные керамические трубы
Змеевики для резервуаров
Коррозионностойкие трубы
Котельные трубы
Легированные трубы
Напорные асбоцементные трубы
Низколегированная труба
Оцинкованные трубы
Панцирные трубы
Полипропиленовые гофрированные трубы
Полиэтиленовые гофрированные трубы
Спиралешовные трубы
Труба API 5L
Труба бесшовная холоднокатаная
Труба бетонная
Труба восстановленная
Труба колонковая
Труба крекинговая
Труба насосно-компрессорная НКТ
Труба обсадная
Трубы ASTM
Трубы БУ
Трубы бурильные
Трубы в изоляции
Трубы водогазопроводные ВГП
Трубы для карданных валов
Трубы для подводных морских трубопроводов
Трубы из обечаек
Трубы из углеродистой стали
Трубы магистральные
Трубы оцинкованные ВГП
Трубы профильные
Трубы стальные свертные паяные двухслойные
Трубы толстостенные
Трубы электросварные
Трубы электросварные оцинкованные
Футерованные трубы
Хонингованные трубы
Цельнотянутые трубы
Шамотные трубы
Фасонный прокат стали
Футеровочные плиты VAUTID
Элементы отделки для линеарных панелей
Нестандартные фасонные элементы
Отлив оцинкованный
Планка Z-образная
Планка аквилона ПА
Планка вертикального стыка
Планка оконного откоса
Планка отлива оконного
Планка отлива цокольного
Планка стыковочная универсальная
Планка угла внутреннего линеарного
Планка угла наружного линеарного
Полоса декоративная ПД
Элементы отделки для сайдинга
Акриловый сайдинг
Виниловый сайдинг
Отливы для сайдинга
Софиты
Фиброцементные фасадные панели
Фиброцементный сайдинг
Цокольный сайдинг
Трубопроводная арматура
Алюминиевые обечайки
Вентиляционные клапаны
Клапан инфильтрации воздуха
Многостворчатый вентиляционный клапан
Обратный вентиляционный клапан
Обратный вентиляционный клапан "бабочка"
Обратный вентиляционный клапан прямоугольный
Вентиляционные отводы
Вентиляционный отвод круглый 45гр
Вентиляционный отвод круглый 90гр
Вентиляционный отвод прямоугольный 45гр
Вентиляционный отвод прямоугольный 90гр
Водосточные системы
S-обвод
Водосборник
Водосточная воронка
Водосточная труба
Водосточный желоб
Водосточный отвод
Заглушка водосточной воронки
Заглушка желоба
Колено водосточной трубы
Комплекты водосточной системы
Сетка воронки
Соединитель желоба
Соединитель трубы
Тройник трубы
Угол желоба
Хомут трубы
Воздуховод оцинкованный
Воздуховод оцинкованный круглый
Воздуховод оцинкованный прямоугольный
Гидравлические соединения
Адаптеры
Ввертные адаптеры
Ввертные регулируемые штуцера
Комплектующие для адаптеров
Переборочные адаптеры
Приварные адаптеры
Соединения для подключения измерительных устройств
Соединения проходные
Соединения проходные с накидной гайкой
Штуцера ввертные с накидной гайкой
Быстроразъемные соединения
Быстроразъемные соединения FLAT FACE CPR
Быстроразъемные соединения ISO-A
Быстроразъемные соединения STG
Быстроразъемные соединения TGW
Заглушки для БРС
Заглушки для БРС
Заглушки для БРС (пластиковые)
Заглушки для БРС (стальные)
Обжимные муфты
Муфта обжимная 1SN
Муфта обжимная 1SN-2SN
Муфта обжимная 1SС-1SN-2SC
Муфта обжимная 4SH
Муфта обжимная 4SP-4SH
Муфта обжимная R13
Муфта обжимная R7
Фитинги для РВД
Фитинг BSP
Фитинг DKL
Фитинг DKO
Фитинг JIC
Фитинг NPTF
Фитинг ORFS
Фитинг метрический BANJO
Фитинг фланец SF
Запорно-регулирующая арматура
Дисковые затворы
Дисковые затворы с редуктором
Дисковые затворы с рукояткой
Затворы дисковые с пневмоприводом
Затворы дисковые с электроприводом
Привод воздух-пружина для дискового затвора
Штампосварные поворотные затворы с резиновым уплотнителем
Дисковые краны
Дисковый кран AWH резьба
Дисковый кран бабочка резьба-сварка
Дисковый кран сварка-сварка
Дисковый межфланцевый кран
Плавно переставляемая рукоятка для дискового крана
Стандартная рукоятка с шариком для дискового крана
Дроссели
Дроссели высокого давления
Дроссели редукционно-охладительных установок
Дроссели технологических линий под приварку
Титановые дроссели
Фланцевые дроссели с ручным управлением
Фланцевые дроссели технологических линий
Дроссельный вентиль
Задвижки из цветных металлов
Задвижки алюминиевые
Задвижки бронзовые
Задвижки латунные
Клапан
Балансировочный клапан
Запорные вентили-клапаны
Обратные поворотные клапаны
Обратный межфланцевый клапан
Обратный муфтовый клапан
Предохранительный клапан
Регулирующий вентиль-клапан
Тарельчатый обратный клапан резьба-сварка
Тарельчатый обратный клапан сварка-сварка
Шариковый обратный клапан
Стальные задвижки
Задвижка ЗМС
Задвижка с электроприводом
Задвижка шиберная со штурвалом
Клиновые задвижки
Нержавеющие задвижки
Шиберные задвижки
Фильтры
Грязевики
Муфтовый фильтр
Угловой трубчатый фильтр
Фланцевый фильтр
Шаровые краны
Двухкамерный шаровой кран резьба-резьба
Трехкамерный кран шаровой сварка-сварка
Трехкамерный кран шаровый резьба-резьба
Шаровые краны из цветных металлов
Шаровые краны с приводом
Шаровые краны с ручным управлением
Коаксиальные трубы и комплектующие
Коаксиальные опоры
Коаксиальные отводы 45 градусов
Коаксиальные отводы 90 градусов
Коаксиальные тройники
Коаксиальные трубы
Коаксиальные трубы с зонтом
Компенсаторы
Компенсатор для систем отопления
Компенсатор резиновый муфтовый
Компенсатор резиновый фланцевый
Компенсатор сильфонный осевой
Конические обечайки
Крепления трубопроводов
Закладные детали для трубопроводов
Крепежные изделия для трубопроводов
Крепление двух трубопроводов к колонне
Крепление двух трубопроводов к перекрытию
Крепление двух трубопроводов к стене
Крепление нескольких трубопроводов к перекрытию
Крепление одного трубопровода к железобетонной балке
Крепление одного трубопровода к перекрытию
Крепление трех и более трубопроводов
Крепление трех трубопроводов к перекрытию
Крепление трубопроводов к полу
Крепление четырех трубопроводов к железобетонной колонне
Крепления к балкам перекрытия на подвесках
Крепления к железобетонным колоннам
Крепления к кирпичным стенам
Крепления к металлическим площадкам
Крепления к ригелям на подвесках
Крепления к стеновым панелям
Крепления трубопроводов к металлическим колоннам
Крепления трубопроводов к плитам перекрытия
Опорные узлы для катковых блоков
Траверса металлическая подвесная
Траверса-балка металлическая подвесная
Шпильки для трубопроводов
Медные фитинги
Клапан Шредера
Медные заглушки под пайку
Медные крестовины
Медные крестовины под пайку
Медные муфты
Медные прямые муфты
Переходные двухраструбные муфты
Переходные однораструбные муфты
Медные отводы
Медное колено 180
Медное колено 45
Медный отвод 90
Медные переходы
Медные переходы с внутренней резьбой
Медные переходы с наружной резьбой
Медные угловые переходы с внутренней резьбой
Медные угловые переходы с наружной резьбой
Медные тройники
Медные обжимные тройники
Медные пресс тройники
Медные резьбовые тройники
Медные тройники под пайку
Медные фитинги для холодильного оборудования
Медная муфта
Медная переходная муфта
Медный тройник
Медный угольник
Медный угол
Обечайка чугунного люка
Оцинкованные обечайки
Полиэтиленовые фитинги
Полиэтиленовые втулки
Полиэтиленовые втулки ПЭ 100
Полиэтиленовые втулки ПЭ 80
Полиэтиленовые отводы
Полиэтиленовые отводы 45 градусов
Полиэтиленовые отводы 90 градусов
Полиэтиленовые переходы
Полиэтиленовые переходы ПЭ 100
Полиэтиленовые переходы ПЭ 80
Полиэтиленовые тройники
Полиэтиленовые переходные тройники
Полиэтиленовые равнопроходные тройники
Распылительные головки
Распылительная головка зажим
Распылительная головка резьба
Резьбовые предохранители для обсадных труб и муфт
Соединительные части
Соединительная часть GG
Соединительная часть GK
Стальные фитинги
Муфты
Боковые соединения
Кольцо Спейсер
Молочная муфта DIN
Молочная муфта SMS
Муфты для обсадных труб
Муфты для труб НКВ
Муфты хризотилцементные
Приварная муфта G3
Уплотнения для труб
Уплотнительные манжеты и переходники
Ниппель
Двойной ниппель для соединения труб
Приварной ниппель G2
Сварной ниппель с трубной резьбой
Переводники
Переводник переходный НКВ
Переходник нержавеющий H-SHB
Переходные футорки
Резьбовые угольники
Резьбовые угольники ВР/ВР
Резьбовые угольники ВР/НР
Сгоны для труб ВГП
Соединитель нержавеющий с внутренними резьбами H-SSA
Соединитель нержавеющий с наружными резьбами H-SNR
Стальной полусгон
Стальные американки
Американка ВР-ВР
Американка ВР-НР
Американка ВР-С
Американка НР-НР
Американка НР-С
Американка С-С
Американка угловая ВР-ВР
Американка угловая ВР-НР
Стальные патрубки
Конический патрубок
Приварной патрубок зажимного соединения CLAMP
Резьбовой патрубок
Штуцер нержавеющий CFC
Штуцер нержавеющий COM
Стальные цилиндрические обечайки
Судовые пружинные подвески
Тяга пружинная 1А
Тяга пружинная 2А
Сэндвич трубы и комплектующие
Оголовок
Оголовок с дефлектором
Оголовок-зонт
Одноконтурные дымоходы
Старт-сэндвич
Сэндвич трубы
Сэндвич-отводы 45 градусов
Сэндвич-отводы 90 градусов
Сэндвич-пластины опорные
Сэндвич-пластины опорные на перекрытие
Сэндвич-тройники 45 градусов
Сэндвич-тройники 90 градусов
Титановые воздуховоды
Титановые бандажи
Титановые дефлекторы
Титановые зонты
Титановые неравнопроходные Y-тройники
Титановые неравнопроходные косые тройники
Титановые односторонние переходы
Титановые патрубки присоединительные
Титановые переходы с круглого на прямоугольное сечение
Титановые переходы с круглого на прямоугольное сечение односторонние
Титановые продувочные трубы
Титановые проходы через перекрытия
Титановые равнопроходные Y-тройники
Титановые утки
Титановые утки переходы
Титановые фланцы
Титановые прямые участки
Титановые фитинги
Концентрический титановый переход
Сварной отвод из титана
Титановая поворотная заглушка
Титановые отводы
Титановый поплавок
Титановый тройник
Трубные опоры
Катковые опоры
Двухкатковая опора
Катковая двухъярусная опора
Катковая направляющая опора
Катковая опора трубопроводов ТЭС и АЭС
Катковая пружинная опора трубопроводов ТЭС и АЭС
Катковые обоймы для опор трубопроводов ТЭС и АЭС
Однокатковая опора
Стальная катковая опора
Корпусные опоры
Корпус на опорной балке для пружин
Корпус на опорной балке с проушинами
Корпусная приварная опора
Корпусная хомутовая неподвижная опора
Корпусная хомутовая подвижная опора
Неподвижные опоры
Мертвая опора
Неподвижная боковая опора
Неподвижная бугельная опора
Неподвижная бугельная хомутовая опора с корпусом
Неподвижная двухупорная опора
Неподвижная двухупорная усиленная опора
Неподвижная лобовая опора сальниковых компенсаторов
Неподвижная опора для вертикальных коробов
Неподвижная опора с плоским хомутом
Неподвижная опора трубопроводов ТЭС и АЭС
Неподвижная четырехупорная опора
Неподвижная четырехупорная усиленная опора
Неподвижная щитовая опора
Неподвижная щитовая усиленная опора
Неподвижные опоры для труб в ППУ
Сварные неподвижные опоры
Однорядные опоры
Однорядная опора с прерывистым основанием
Однорядная опора со сплошным основанием
Однорядная отдельная опора
Опора вертикальных трубопроводов
Опора для крепления арматуры
Опора крутоизогнутых отводов
Опора с сопровождением
Опора сварных отводов
Опоры ТПР
Опоры ТПР.04.01(2).00.000
Опоры ТПР.05.06(3).00.000
Опоры ТПР.05.11(4).00.000
Опоры ТПР.05.15(1).00.000
Опоры ТПР.05.18(1).00.000
Опоры ТПР.05.19(2).00.000
Опоры ТПР.05.21(1).00.000
Опоры ТПР.05.24(3).00.000
Опоры ТПР.05.29.00.000
Опоры ТПР.06.34(4).00.000
Опоры ТПР.07.35.00.000
Опоры ТПР.08.13.00.000
Опоры ТПР.08.17(2).00.000
Опоры ТПР.08.38.00.000
Опоры ТПР.08.71(1).00.000
Опоры ТПР.08.73(1).00.000
Опоры ТПР.10.14(1).00.000
Опоры ТПР.13.53(1).00.000
Опоры ТПР.14.05.00.000
Опоры ТПР.14.45.00.000
Подвижные опоры
Подвижная и направляющая опора в ППУ изоляции
Подвижная хомутовая опора
Стальная подвижная опора
Подпятники для трубопроводов
Приварные опоры
Приварная скользящая и неподвижная опора
Приварная скользящая направляющая опора
Приварная стальная опора
Приварная уголковая опора
Приварные неподвижные опоры
Приварные подвески на опорной балке с проушинами
Приварные скользящие опоры
Приварные скользящие-направляющие опоры
Разгрузочная опора
Регулируемые опоры трубопроводов
Сварные направляющие опоры
Скользящие опоры
Корпуса скользящих опор трубопроводов ТЭС и АЭС
Сварные скользящие опоры
Скользящая бескорпусная опора
Скользящая бугельная опора
Скользящая диэлектрическая опора
Скользящая и неподвижная опора
Скользящая и неподвижная опора с направляющим хомутом
Скользящая направляющая опора
Скользящая неподвижная опора
Скользящая опора без изоляции
Скользящая опора с направляющей скобой
Скользящая опора с плоским хомутом
Скользящая опора трубопроводов ТЭС и АЭС
Скользящая подкладная опора в футляре для труб в ППУ
Скользящая подкладная опора для труб в ППУ
Скользящая приварная опора
Скользящие опоры для трубы в ППУ
Стальная скользящая опора
Тавровые опоры
Тавровая приварная опора
Тавровая хомутовая неподвижная опора
Тавровая хомутовая подвижная опора
Трубчатые опоры
Стальная трубчатая опора
Трубчатая опора крутоизогнутых отводов
Хомутовые опоры
Двуххомутовые неподвижные опоры
Двуххомутовые скользящие опоры
Неподвижная хомутовая опора с корпусом
Однохомутовые неподвижные опоры
Однохомутовые скользящие опоры
Опора без изоляции с направляющим хомутом
Скользящая направляющая двуххомутовая опора
Скользящая направляющая хомутовая опора трубопроводов ТЭС и АЭС
Хомутовая бескорпусная неподвижная опора
Хомутовая бескорпусная подвижная опора
Хомутовые направляющие опоры
Хомутовые неподвижные опоры
Хомутовые опоры для трубопроводов
Хомутовые скользящие опоры
Шариковая опора
Швеллерные опоры
Швеллерная приварная опора
Швеллерные скользящие и неподвижные опоры
Элементы трубопроводных систем
Блоки для опор
Блоки приварные с накладкой подвесок горизонтальных стальных трубопроводов
Вилки для подвесок трубопроводов ТЭС и АЭС
Втулки для опор
Коромысла с тягами подвесок стальных трубопроводов
Лапа для вертикальных трубопроводов
Лапа с накладкой для вертикальных трубопроводов
Муфты для блоков подвесок вертикальных и горизонтальных трубопроводов
Муфты подвесок стальных трубопроводов
Накладки блоков приварных подвесок стальных трубопроводов
Накладки для подвесок трубопроводов
Опорные балки
Опорные плиты
Плавник с накладкой
Плавники для подвесок трубопроводов
Плавники приварные с накладкой
Планки для блоков подвесок горизонтальных трубопроводов
Плиты для блоков подвесок трубопроводов
Подвески для трубопроводов
Подвесная пружинная опора
Полухомуты для трубопроводов
Прокладки для трубопроводов
Прокладки для хомутовых блоков подвесок вертикальных трубопроводов
Прокладки для хомутовых блоков подвесок горизонтальных трубопроводов
Проушина с накладкой
Проушины для подвесок трубопроводов
Проушины подвесок стальных трубопроводов
Проушины с тягой подвесок стальных трубопроводов
Пружины винтовые цилиндрические для подвесок трубопроводов ТЭС и АЭС
Разгружающее устройство для блоков пружин
Серьги для подвесок трубопроводов
Серьги подвесок стальных трубопроводов
Скоба
Стаканы для установки пружин подвесок стальных трубопроводов
Талрепы для подвесок трубопроводов
Траверсы для подвесок трубопроводов
Тяги для опор
Упоры для блоков подвесок вертикальных трубопроводов
Упоры подвесок стальных трубопроводов
Ушки для подвесок трубопроводов
Хомуты для трубопроводов
Фасонные изделия в ППУ
Z-образный элемент в ППУ
Отводы в ППУ
Тройник в ППУ
Эксцентрический переход в ППУ
Фасонные части трубопроводов
Заглушки
Днища
Заглушка коническая TN192
Заглушка коническая с уплотнительным кольцом TN324
Заглушка с рукояткой
Заглушка с торцевым уплотнением под шестигранник в тело TN185GG M
Заглушка трубы и РВД с фитингами DKOL-S TN296
Заглушки эллиптические
Поворотные заглушки
Фланцевая заглушка
Отводы стальные
Крутоизогнутые отводы из черной и нержавеющей стали
Нержавеющие отводы
Оснащенные отводы
Отвод двойной T-образный
Отводы в ВУС изоляции
Отводы гнутые
Отводы сварные секторные
Стальной фланцевый отвод
Точеные отводы
Штампосварные отводы
Переходы
Концентрические переходы
Нержавеющие переходы
Переходы сварные
Стальной фланцевый переход
Точеный переход
Штампосварной переход ШПС
Эксцентрические переходы
Стальные кресты
Кресты фланцевые с пожарной подставкой ППКФ
Стальные фланцевые кресты
Тройник оцинкованный
Тройники
Нержавеющий равнопроходной тройник СТА
Оснащенные тройники
Стальной фланцевый тройник
Тройники бесшовные
Тройники сварные
Тройники точеные
Штампосварной тройник ТШС
Фланцы и фланцевые соединения
Заготовки для фланцев
Изолирующие фланцевые соединения
Отбортовка
Стальные прокладки для фланцев
Кольца Армко восьмиугольного сечения
Кольцо АРМКО овальное
Фланцы
Алюминиевый свободный фланец
Воротниковые фланцы
Глухой фланец
Переходный сварной фланец
Плоские фланцы
Резьбовой фланец
Свободные фланцы
Щелевая труба для углового фильтра
Элеваторы и комплектующие
Водоструйные элеваторы
Сопло для стакана чугунного элеватора
Стаканы для чугунного элеватора
Изоляция труб
ВУС-Изоляция
Гофрированная алюминиевая фольга
Заглушка в изоляции
Изоляция K-Flex трубчатая
Каучуковая синтетическая вспененная изоляция
Изоляция с алюминиевым покрытием
Самоклеющаяся рулонная изоляция
Самоклеющаяся с алюминиевым покрытием изоляция
Стандартная рулонная изоляция
Трубчатая изоляция
Кожухи для изоляции
Оболочки защитные съемные на врезки
Оболочки защитные съемные на теплоизоляционные плоские и эллиптические заглушки
Оболочки защитные съемные на теплоизоляционные фланцевые заглушки
Оболочки защитные съемные на теплоизоляционные фланцы
Оболочки конусные на емкости
Оболочки на теплоизоляционные отводы
Оболочки на теплоизоляционные отводы 30 градусов
Оболочки на теплоизоляционные отводы 45 градусов
Оболочки на теплоизоляционные отводы 60 градусов
Оболочки на теплоизоляционные отводы 90 градусов
Оболочки на теплоизоляционные переходы
Оболочки на теплоизоляционные тройники
Большие оболочки на теплоизоляционные переходные тройники
Большие оболочки на теплоизоляционные равнопроходные тройники
Оболочки на теплоизоляционные переходные тройники
Оболочки на теплоизоляционные равнопроходные тройники
Оболочки на теплоизоляционные цилиндры
Оболочки цеппелиновые на емкости
Композитные защитные футляры
Концевой элемент в ППУ-ОЦ, -ПЭ, -ПЭ-Б
Лента Лиам
Отводы теплоизоляционные
Теплоизоляционные отводы 30 градусов
Теплоизоляционные отводы 45 градусов
Теплоизоляционные отводы 60 градусов
Теплоизоляционные отводы 90 градусов
ППМ-Изоляция
ППУ - Изоляция
Скорлупа ППУ
рулоны K-Flex
Скорлупа ППС
Стекловолокно
Теплоизоляционные врезки
Теплоизоляционные переходы конические, концентрические
Теплоизоляционные тройники
Большие теплоизоляционные переходные тройники
Большие теплоизоляционные равнопроходные тройники
Теплоизоляционные переходные тройники
Теплоизоляционные равнопроходные тройники
Теплоизоляционные цилиндры
Кашированные цилиндры
Некашированные полуцилиндры
Некашированные цилиндры
Некашированные четверть цилиндры
Плоские цилиндры
Теплоизоляционный фланец
ЭП-Изоляция
Чугунный прокат
Арматура чугунная
Заглушка фланцевая чугунная
Колено чугунное
Колено раструб - гладкий конец чугунное
Колено раструб - фланец чугунное
Колено раструбное чугунное
Колено фланец - гладкий конец чугунное
Колено фланцевое чугунное
Контргайка из ковкого чугуна
Кресты чугунные
Кресты раструб-фланец чугунные
Кресты раструбные чугунные
Кресты фланец-раструб с пожарной подставкой чугунные
Кресты фланцевые с пожарной подставкой чугунные
Кресты фланцевые чугунные
Муфта чугунная
Ниппель из ковкого чугуна
Отводы чугунные
Отвод канализационный
Отвод раструб - гладкий конец чугунный
Отвод раструбный чугунный
Патрубки чугунные
Патрубки фланец - гладкий чугунные
Патрубки фланец - раструб чугунный
Патрубок компенсационный
Патрубок раструб с переходом на сталь чугунный
Переходы чугунные
Переходы раструб-фланец чугунные
Переходы раструбные чугунные
Переходы фланцевые чугунные
Пожарные подставки чугунные
Пожарные подставки раструбные чугунные
Пожарные подставки фланцевые чугунные
Раструб чугунный
Двойной раструб чугунный
Ревизия канализационная чугунная
Трап чугунный
Тройники чугунные
Косые чугунные тройники
Тройники раструб-фланец с пожарной подставкой чугунные
Тройники раструб-фланец чугунные
Тройники раструбные чугунные
Тройники фланцевые с пожарной подставкой чугунные
Тройники фланцевые чугунные
Чугунная канализационная заглушка
Чугунная канализационная прочистка-заглушка
Чугунная надвижная муфта
Чугунные задвижки
Задвижка клиновая чугунная с невыдвижным шпинделем
Задвижка клиновая чугунная фланцевая с невыдвижным шпинделем под электропривод
Задвижка клиновая чугунная фланцевая с невыдвижным шпинделем с редуктором
Задвижка с обрезиненным клином с невыдвижным шпинделем
Задвижки
Задвижки чугунные клиновые с выдвижным шпинделем
Чугунная параллельная двухдисковая задвижка с выдвижным шпинделем
Чугунные затворы
Затвор поворотный чугунный
Чугунные магнитные фильтры
Чугунные обратные двухстворчатые межфланцевые клапаны
Чугунные сетчатые фильтры
Чугунные шаровые краны
Чугунный отступ
Безраструбная канализация
Безраструбная заглушка
Безраструбная заглушка с прижимными скобами
Безраструбная чугунная заглушка
Безраструбная крестовина
Безраструбная крестовина двухплоскостная 88 гр
Безраструбная крестовина одноплоскостная 45 гр
Безраструбная крестовина одноплоскостная 70 гр
Безраструбная крестовина одноплоскостная 88 гр
Безраструбная опорная труба
Безраструбная пресс-заглушка
Безраструбная ревизия
Безраструбная ревизия с круглым отверстием
Безраструбная ревизия с прямоугольным отверстием
Безраструбная труба
Безраструбное опорное кольцо
Безраструбный отвод
Безраструбный короткий отвод 15 гр
Безраструбный короткий отвод 30 гр
Безраструбный короткий отвод 45 гр
Безраструбный короткий отвод 69 гр
Безраструбный короткий отвод 88 гр
Отвод 45 гр с удлиненной стороной
Отвод 88 гр из двух колен
Отвод 88 гр с удлиненной стороной
Отвод 88 гр с успокоительным участком
Безраструбный переход
Безраструбный переход на другие материалы konfix
Безраструбный чугунный переход
Безраструбный сифон
Безраструбный сифон ливневый
Безраструбный сифон универсальный
Безраструбный тройник
Безраструбный тройник 45 гр
Безраструбный тройник 69 гр
Безраструбный тройник 88 гр
Безраструбный фланец переходной
Безраструбный хомут высокой нагрузки HD
Воронка водосточная чугунная
Демонтажная вставка
Дождеприемники чугунные
Дробь чугунная
Дробь чугунная колотая
Дробь чугунная колотая улучшенная
Дробь чугунная литая
Дробь чугунная литая улучшенная
Колосниковые решетки
Крестовина чугунная раструбная
Лоток водоотводный с решёткой
Люки чугунные
Манжета к трубе чугунной
Решетка водоотводная
Трубы чугунные С (ЦПП, Без ЦПП)
Утяжелитель чугунный
Чугун
Чугун литейный
Чугун передельный
Чугунная труба ЧК
Чугунная чушка
Чугунные втулки
Чугунные колосники для котлов
Чугунные отливки
Чугунные радиаторы
10-секционный чугунный радиатор
12-секционный чугунный радиатор
3-секционный чугунный радиатор
4-секционный чугунный радиатор
7-секционный чугунный радиатор
Регистры отопления
Чугунный круг
Чугунный фланцевый патрубок под манометр
Сплавы
Баббиты
Кобальтовые сплавы
Кобальтовая проволока
Лист из кобальтового сплава
Магниты из кобальтового сплава
Полоса из кобальтового сплава
Пруток из кобальтового сплава
Фольга из кобальтового сплава
Легкоплавкие припои
Сплав Вуда
Сплав Гутри
Сплав Д'Арсе
Сплав Деварда
Сплав Липовитца
Сплав Ньютона
Сплав Розе
Лигатура
Лигатура алюминий
Лигатура алюминобариевая
Лигатура бор
Лигатура ванадий
Лигатура железо
Лигатура иттрий
Лигатура кобальт
Лигатура магний-неодим
Лигатура медь
Лигатура молибден
Лигатура никель
Лигатура ниобий-алюминий
Лигатура свинец
Лигатура ферроалюмоциркониевая
Лигатура хром-железо-никелевая
Лигатура хромалюминиевая
Лигатура цинк
Лигатура цирконий
Медно-никелевые сплавы
Алюмель
Лента алюмель
Лист алюмель
Проволока алюмель
Камелин
Лента камелин
Пруток камелин
Фольга камелин
Константан
Лента константан
Проволока константан
Пруток константан
Копель
Проволока копель
Пруток копель
Куниаль
Куниаль лента
Куниаль лист
Куниаль полоса
Куниаль пруток
Манганин
Лента манганин
Манганиновая фольга
Проволока манганин
Медно-никелевые изделия
Медно-никелевая лента
Медно-никелевая полоса
Медно-никелевая проволока
Медно-никелевая стружка
Медно-никелевые детали трубопроводов
Медно-никелевые трубы
Медно-никелевые фланцы
Медно-никелевый перфорированный лист
Медно-никелевый пруток
Мельхиор
Мельхиоровая лента
Мельхиоровая пластина
Мельхиоровая проволока
Мельхиоровая труба
Мельхиоровый лист
Мельхиоровый пруток
Монель
Круг Монель
Лента Монель
Монелевая труба
Монелевый лист
Проволока Монель
Пруток монель
Слиток Монель
Нейзильбер
Проволока нейзильбер
Проволока МНЖКТ5-1-0,2-0,2
Сплав МНЖ5-1
Лист МНЖ5-1
Полоса МНЖ5-1
Труба МНЖ5-1
Труба МНЖМц11-11-0.6
Хромель
Лента хромель
Проволока хромель
Платинитовая проволока
Прецизионные сплавы
Виброгасящие сплавы (демпфирующие)
Виброгасящий круг
Лента для каталитических нейтрализаторов
Лента для магнитной записи
Лента для нагревателей
Лента для постоянных магнитов
Лента для резисторов и деталей полупроводниковых изделий
Магнитная проволока
Магнитно-мягкие сплавы
Лента из магнитно-мягких сплавов
Лист из магнитно-мягких сплавов
Пермаллой
Пермендюр
Перменорм
Перминвар
Полоса из магнитно-мягких сплавов
Проволока из магнитно-мягких сплавов
Пруток из магнитно-мягких сплавов
Слиток из магнитно-мягких сплавов
Магнитно-твердые сплавы
Викаллой
Лента из магнитно-твердых сплавов
Лист из магнитно-твердых сплавов
Магнитно-твердая полоса
Проволока из магнитно-твердых сплавов
Пруток из магнитно-твердых сплавов
Слиток из магнитно-твердых сплавов
Немагнитные сплавы
Немагнитная лента
Немагнитная проволока
Немагнитный круг
Немагнитный лист
Постоянные магниты
Прецизионная труба
Прецизионная фольга
Прецизионные прочие сплавы
Проволока магнитная для записи гармонических сигналов
Сверхпроводящие сплавы
Слябы из прецизионных сплавов
Сплав с заданным ТКЛР
Инвар
Квадрат ТКЛР
Ковар
Лента ТКЛР
Лист ТКЛР
Платинит
Полоса ТКЛР
Проволока ТКЛР
Пруток ТКЛР
Слиток ТКЛР
Суперинвар
Труба ТКЛР
Сплавы с высоким электрическим сопротивлением
Квадрат из сплава с высоким электрическим сопротивлением
Ленты из сплава с высоким электрическим сопротивлением
Проволока из сплава с высоким электрическим сопротивлением
Пруток из сплава с высоким электрическим сопротивлением
Сплавы с высокой степенью проводимости при низких температурах
Сплавы с заданными свойствами упругости
Лента с заданными свойствами упругости
Лист с заданными свойствами упругости
Полоса с заданными свойствами упругости
Проволока с заданными свойствами упругости
Пруток с заданными свойствами упругости
Слиток с заданными свойствами упругости
Труба с заданными свойствами упругости
Элинвар
Проволока термопарная вольфрам-рениевая
Резистивные сплавы
Силумин
Силумин гранулы
Силумин чушка
Твердые сплавы
Вольфрамовые пластины
Пластины из сплавов с износостойким покрытием
Победитовые пластины
Титановольфрамовые пластины
Титанотанталовольфрамовые пластины
Ферросплавы
Мишметалл (Ферроцерий)
Силикокальций
Силикомарганец
Ферроалюминий
Ферроалюмониобий
Ферробор
Феррованадий
Ферровольфрам
Ферромарганец
Ферромолибден
Ферроникель
Феррониобий
Ферросера
Ферросиликованадий с марганцем
Ферросиликомагний
Ферросиликомарганец
Ферросиликотитан
Ферросиликохром
Ферросиликоцирконий
Ферросилиций
Ферротитан
Феррофосфор
Феррохром
Ферроцерий в стержнях
Фехраль
Резистивные сплавы(Фехраль)
Фехралевая проволока
Фехралевая сетка
Фехралевый пруток
ЦАМ
Сварочные материалы
Графитовые электроды
Кобальтовый наплавочный порошок
Припой
Присадочная проволока
Присадочный пруток
Проволока для металлизации
Проволока для сварки чугуна
Пруток для наплавки
Сварной кобальтовый пруток
Сварочная порошковая проволока VAUTID
Сварочная проволока из высоколегированной стали
Сварочная проволока из кобальтового сплава
Сварочная проволока из легированной стали
Сварочная проволока из низкоуглеродистой стали
Угольные электроды
Флюсовая паста
Флюсы
Электрод из кобальтового сплава
Электродная лента
Электроды для ответственных конструкций
Электроды для подводной сварки
Электроды для резки металла
Электроды для сварки алюминия
Электроды для сварки бронзы
Электроды для сварки высоколегированных сталей
Электроды для сварки жаропрочных сталей
Электроды для сварки нержавеющей стали
Электроды для сварки низколегированных сталей
Электроды для сварки разнородных сталей
Электроды для сварки углеродистых сталей
Электроды для сварки чугуна
Электроды для теплоустойчивых сталей
Электроды наплавочные
Электроды сварочные
Полимерные изделия
Акриловые стекла
Cатинированные литые акриловые листы
Акриловые листы для торцевой подсветки
Зеркальные экструзионные акриловые листы
Литые акриловые листы
Экструзионные акриловые листы
Амортизаторы резиновые
Амортизаторы приборные
Амортизаторы приборные резинометаллические пластинчатые
Амортизаторы приборные резинометаллические чашечные
Амортизаторы резиновые NRE
Амортизаторы резинометаллические двухпластинчатые
Виброизоляторы резиновые вентиляторные взрывозащищенные
Корабельные амортизаторы
Корабельные амортизаторы АКСС-И
Корабельные амортизаторы АКСС-М
Корабельные амортизаторы АКСС-МХ
Валы обрезиненные
Валы с резиновой обкладкой для текстильных машин
Валы с резиновым массивом для ленторазрывных машин
Обрезиненные валы
Винипласт
Герметик резиновый
Герметик анаэробный
Герметик битумно-полимерный аэродромный
Герметик битумно-резиновый аэродромный
Герметик битумный аэродромный
Герметик для приборов
Герметик кремнийорганический
Герметик полимерный аэродромный
Герметик полисульфидный
Герметик РТИ
Герметик тиоколовый
Герметик фторсилоксановый
Гетинакс лист
Гидроизолирующие материалы
Бризол
Изол
Грязесъемники для штоков
Диафрагмы и мембраны резиновые
Диафрагма резино-фторопластовая
Диафрагма резиновая
Мембрана резиновая для фильтр-прессов типа ФПАКМ
Мембрана резинотканевая тарельчатая для тормозной камеры
Капролон
Капролон блочный
Капролон круг
Капролоновая втулка
Капролоновый стержень
Капролон (полиамид 6) графитонаполненный стержень (черный)
Капролон (полиамид 6) маслонаполненный стержень (черный)
Капролон стержень
Листы и пластины капролона
Клеи резиновые
Кремнийорганический клей
Нитрильный клей
Перхлорвиниловый клей
Полимерный клей
Резиновый клей
Фенольно-каучуковый клей
Хлоропреновый клей
Эпоксидный клей
Кольца и втулки
Втулка МУВП
Кабельные проходные втулки
Кольца для баллонов
Кольца для фляг
Кольца резиновые для пожарной арматуры
Кольца уплотнительные
Кольцо МУВП
Кольцо резиновое для асбоцементных труб
Кольцо резиновое уплотнительное для бетонных труб
Кольцо резиновое уплотнительное для чугунных труб
Кольцо резиновое уплотнительное прямоугольного сечения
Кольцо резинотканевое нажимное
Кольцо резинотканевое опорное
Кольцо уплотнительное для труб ПВХ
Комплектующие для водопроводной арматуры и сантехники
Кольца силиконовые
Сантехнические прокладки прямоугольного сечения
Сантехнические профили
Комплектующие для горнодобывающей отрасли
Габаритные износостойкие плиты
Лифтер для рудоразмольных мельниц
Плита вагоноопрокидователя
Резиновая футеровка спирального классификатора
Резиновые пластины с металлической подложкой
Резиновые сита для грохотов
Футеровка мельницы ММС
Комплектующие для нефтегазовой промышленности
Обтираторы скважинные
Уплотнительные манжеты пакера
Шайбы ТПР
Комплектующие для сельского хозяйства
Бильные пальцы
Муфта МВА
Сосковая резина для доильных аппаратов
Тройник молочный
Трубка молочная
Угольник МВА
Шланг поливочный
Конвейерные ленты
Антистатические конвейерные ленты
Бесконечные конвейерные ленты
Износостойкие конвейерные ленты
Конвейерные ленты общего назначения
Ленты транспортера
Маслостойкие конвейерные ленты
Морозостойкие конвейерные ленты
Пищевые конвейерные ленты
Резинотканевые конвейерные ленты
Рифленые конвейерные ленты
Сборные конвейерные ленты
Специальные конвейерные ленты
Теплостойкие конвейерные ленты
Трудновоспламеняющиеся конвейерные ленты
Трудносгораемые конвейерные ленты
Электропроводящие конвейерные ленты
Ленты резиновые
Лента ЛЭТСАР
Резиновая лента изоляционная
Резиновая лента уплотнительнаяРезиновая лента уплотнительная
Резинотканевая лента
Тиоколовая лента
Листовой ПВХ
Вспененный листовой ПВХ
Белый вспененный листовой ПВХ
Цветной вспененный листовой ПВХ
Сплошной листовой ПВХ
Белый сплошной листовой ПВХ
Прозрачный сплошной листовой ПВХ
Листовой пластик АБС
Листовой полистирол
Декоративный листовой полистирол
Зеркальный листовой полистирол
Прозрачный листовой полистирол
Ударопрочный листовой полистирол
Листовой ПЭТ
Листовой САН
Манжеты РТИ
Резиновые манжеты
Резиновые армированные манжеты
Резиновые торцевые уплотнения
Резиновые уплотнительные манжеты
Резинотканевые манжеты
Резинотканевые армированные манжеты
Резинотканевые уплотнительные манжеты
Резинотканевые шевронные манжеты
Мастика РТИ
Замазка уплотнительная
Компаунд
Масса уплотнительная
Мастика битумно-резиновая
Мастика каучуковая
Мастика полиизобутиленовая
Мастика полимерно-битумная
Мастика тиоколовая
Паста герметизирующая
Оргстекло
Пенокартон
Белый и цветной пенокартон
Самоклеящийся пенокартон
Пенополистирольные плиты
Пластики для гравировки
Пластики для лазерной гравировки
Пластики для механической гравировки
Пластина эбонитовая
Плиты резиновые
Гидроплиты резиновые
Маты животноводческие
Плита железнодорожного переезда
Плита трамвайного переезда
Плиты Рездор
Покрытия резиновые
Брусчатка резиновая
Дорожка резиновая
Коврик резиновый грязезащитный
Коврик резиновый диэлектрический
Накладки противоскользящие
Плитка резиновая
Покрытие резинотканевое
Проступь резиновая
Полиамид
Полиамид гранулированный
Полиамид литьевой
Полиамид матированный
Полиамид спирторастворимый
Полиамид стеклонаполненный
Полиамид тальконаполненный
Полиамид угленаполненный
Сополимер полиамида
Экструзионный полиамид стержень рецикл
Экструзионный полиамид
Экструзионный полиамид стержень
Полиацеталь
Полиацеталь втулки
Полиацеталь пластина
Полиацеталь стержень
Полибутилен
Полиизобутилен в брикетах
Поликарбонаты
Сотовые поликарбонаты
Сплошные поликарбонаты
Полимерно-песчаные изделия
Арычный лоток полимерно-песчаный
Бордюр полимерно-песчаный
Полимерпесчаные колодцы
Люк полимерно-песчаный
Полимерно-песчаное днище для колодцев
Полимерно-песчаное кольцо для колодцев
Полимерпесчаный конус для колодца
Полимерные трубы
Полипропилен
Полипропиленовый ворс
Полипропиленовый лист
Полиуретан
Полиуретан пластины
Полиуретан стержень
Полиэтилен
Высокомолекулярный полиэтилен
Линейный полиэтилен
Металлоценовый полиэтилен
Полиэтилен высокой плотности
Полиэтилен низкой плотности
Полиэтилен очень низкой плотности
Полиэтилен сверхнизкой плотности
Сверхвысокомолекулярный полиэтилен
Сшитый полиэтилен
Полиэтиленовые трубы
Напорные полиэтиленовые трубы Протект 1075 ПЭ 100 КС
Напорные полиэтиленовые трубы Протект 1075 ПЭ 100 КС для газопроводов
Обсадная труба ПВХ для скважин
Термостойкие полиэтиленовые трубы
Трубы напорные для водоснабжения и канализации ПЭ 100
Трубы ПВД
Трубы ПНД технические полиэтиленовые
Трубы полиэтиленовые газовые ПЭ80, ПЭ100
Трубы полиэтиленовые напорные ПЭ80 для водоснабжения и канализации
Полоса силиконовая для сквиджа
Прокладки резиновые железнодорожные
Подрельсовые и нашпальные прокладки прочие
Подрельсовые и нашпальные прокладки тип ЦП
Резиновая крошка
Резиновые прокладки
Резиновые прокладки кольцевые
Резиновые прокладки круглого сечения
Резиновые прокладки круглые
Резиновые прокладки плоские
Резиновые прокладки прямоугольного сечения
Резиновые прокладки прямоугольные
Резинотканевые прокладки полые круглого сечения
Резиновые технические пластины
Авиационные пластины
Атмосферомаслостойкая пластина
Вакуумные пластины
Вакуумная листовая пластина
Вакуумная рулонная пластина
Вибродемпфирующие пластины
Диэлектрические силиконовые пластины
Маслобензостойкие пластины
Маслобензостойкая листовая пластина
Маслобензостойкая рулонная пластина
Пищевые пластины
Пищевая листовая пластина
Пищевая рулонная пластина
Силиконовый коврик для мармелада
Пластины для использования в агрессивной среде
Пластины для штампов
Пластины ДСТ
Полиизобутиленовые пластины
Тепломорозокислотощелочестойкие пластины
Тепломорозокислотощелочестойкая листовая пластина
Тепломорозокислотощелочестойкая рулонная пластина
Термостойкие силиконовые пластины
Технические губчатые пластины
Технические пористые пластины
Фторсиликоновая пластина
Резиновый порошок
Резиноткани
Мембранное полотно
Прорезиненная ткань
Резиностеклоткань
Резиностеклоткань РЭТСАР
Ремни резиновые
Ремень вариаторный клиновой
Ремень вентиляторный клиновой
Ремень приводной клиновой
Ремень приводной многоручьевой
Ремень приводной плоский
Ремень приводной поликлиновой
Ремень приводной с металлокордом
Ремень транспортера
Ремень элеватора
РТИ для электроэнергетической промышленности
Втулки уплотнительные кабельного ввода ВКУ
Масляные прокладки и уплотнители для силовых трансформаторов
Пластина трансформаторная листовая
Пластина трансформаторная рулонная
Полосы и шнуры трансформаторные
Трубки электроизоляционные ТКР
Уплотнения для гидротехнических сооружений
Шайбы уплотнительные для масляных трансформаторов
Рукава резиновые
Рукав для сварки
Рукав для систем охлаждения
Рукав резиновый армированный
Рукав резиновый класс А
Рукав резиновый класс В
Рукав резиновый напорно-всасывающий
Рукав резиновый общего назначения
Рукав резиновый с металлической оплеткой
Рукав резиновый с нитяной оплеткой
Рукав резиновый с нитяным каркасом
Рукав резиновый с нитяным усилением
Рукав резиновый с присоединительной арматурой
Рукав резиновый с текстильным каркасом
Рукав резинотканевый
Рукав с текстильным усилением
Силиконовые профили
Катодная планка
Профили бытового назначения
Профили для строительных конструкций
Профили уплотнительные
Термостойкие силиконовые профили
Силиконовые резиновые смеси
Кабельные силиконовые резиновые смеси
Маслобензостойкие силиконовые резиновые смеси
Маслостойкие cиликоновые резиновые смеси
Силиконовые резиновые смеси общего назначения
Силиконовые резины с повышенной термостойкостью
Силиконовые резины с повышенными прочностными характеристиками и высоким раздиром
Силиконовые смеси для прессовых изделий
Силиконовые смеси для экструзионных изделий
Смеси резиновые невулканизированные товарные
Токопроводящие силиконовые смеси
Смеси резиновые
Сотовый полипропилен
Стекломагниевый лист
Стеклотекстолит
Стержень эбонитовый
Термоусадочная трубка
Тормозная лента
Трубки резиновые
Вакуумные трубки
Резиновые трубки
Силиконовые трубки
Трубка резиновая армированная латунной сеткой
Трубка резиновая вакуумная
Трубка резиновая диэлектрическая
Трубка резиновая для велосипедных насосов
Трубка резиновая для двигателей
Трубка резиновая для защиты кабелей
Трубка резиновая кислотощелочестойкая
Трубка резиновая маслобензостойкая
Трубка резиновая морозостойкая
Трубка резиновая пищевая
Трубка резиновая теплостойкая
Трубка резиновая техническая
Трубка резиновая унифицированная
Трубка резиновая экранирующая
Трубка резиновая электроизоляционная
Трубка эластомерная электроизоляционная
Трубки резиновые медицинские
Трубка резиновая медицинская вакуумная
Трубка резиновая медицинская для кислородных подушек
Трубка резиновая медицинская дренажная
Трубка резиновая медицинская слуховая
Трубка резиновая медицинская соединительная
Трубка силиконовая медицинская нестерильная
Фторопласт
Листы фторопласта
Фторопласт стержень
Фторопластовая лента
ФУМ жгут
ФУМ жгут круглого сечения
ФУМ жгут прямоугольного сечения
Шланги резиновые
Шланг резиновый армированный напорно-всасывающий
Шланг резиновый армированный подающий
Шланг резиновый армированный с крышкой
Шланг резиновый армированный с резиновым чехлом
Шланг резиновый двойной для газовой сварки
Шланг резиновый с накидными гайками
Шнуры резиновые
Вакуумные шнуры
Гернитовые шнуры
Круглые резиновые шнуры
Прямоугольные резиновые шнуры
Резиновые вакуумные шнуры
Резиновые вакуумные квадратные шнуры
Резиновые вакуумные круглые шнуры
Резиновые вакуумные прямоугольные шнуры
Резиновые кислотощелочестойкие шнуры
Резиновые кислотощелочестойкие квадратные шнуры
Резиновые кислотощелочестойкие круглые шнуры
Резиновые кислотощелочестойкие прямоугольные шнуры
Резиновые маслобензостойкие шнуры
Резиновые маслобензостойкие квадратные шнуры
Резиновые маслобензостойкие круглые шнуры
Резиновые маслобензостойкие прямоугольные шнуры
Резиновые морозостойкие шнуры
Резиновые морозостойкие квадратные шнуры
Резиновые морозостойкие круглые шнуры
Резиновые морозостойкие прямоугольные шнуры
Резиновые особо мягкие шнуры
Резиновые особо мягкие квадратные шнуры
Резиновые особо мягкие прямоугольные шнуры
Резиновые особо мягкие трапециевидные шнуры
Резиновые пищевые шнуры
Резиновые пищевые квадратные шнуры
Резиновые пищевые круглые шнуры
Резиновые пищевые прямоугольные шнуры
Резиновые самолетные круглые шнуры
Резиновые теплостойкие шнуры
Резиновые теплостойкие квадратные шнуры
Резиновые теплостойкие круглые шнуры
Резиновые теплостойкие прямоугольные шнуры
Резиновые унифицированные шнуры
Резиновые унифицированные квадратные шнуры
Резиновые унифицированные круглые шнуры
Резиновые унифицированные прямоугольные шнуры
Резиновые уплотнительные шнуры
Резиновые уплотнительные квадратные шнуры
Резиновые уплотнительные круглые шнуры
Резиновые уплотнительные прямоугольные шнуры
Силиконовые шнуры
Круглые силиконовые шнуры
Прямоугольные силиконовые шнуры
Силиконовые шнуры для светильников LED
Уплотнительные шнуры из особо мягкой резины
Композитные материалы
Алюминиевые композитные панели
Композитная арматура
Композитные трубы
Стеклопластиковые трубы
Трубы из базальтового волокна
Трубы из углеродного волокна
Контактная пластина
Текстолит
Листовой текстолит
Текстолит стержень
Электротехнический листовой текстолит
Уплотнительная спеченная лента
Эбонит
Эбонит лист
Эбонит стержень
Эбонит трубка
Кабель
Автомобильный провод
Бортовой кабель
Взрывной кабель
Водопогружной кабель
Высокочастотный кабель
Грозотрос
Жилы токопроводящие
Гибкие жилы
Многопроволочные гибкие жилы
Многопроволочные жилы
Однопроволочные жилы для больших сечений
Изоляция кабелей
Алюмофлекс
Оцинкованный металлорукав
Кабель дальней связи
Кабель для компьютерных сетей
Кабель для щеток электрических машин
Кабель управления
Контрольный кабель
Монтажный кабель
Нефтепогружной кабель
Обмоточные провода
Обмоточный круглый медный провод с эмалевой изоляцией
Провод обмоточный алюминиевый круглый
Провод обмоточный алюминиевый прямоугольный
Провод обмоточный прямоугольный медный
Провод обмоточный с бумажной изоляцией
Провод обмоточный с уплотненной бумагой
Провод для подвижного состава
Провод для радиоустановок
Провод контактный
Провод неизолированный
Противопожарный кабель
Радиочастотный кабель
Самонесущий изолированный провод
Сигнализационный кабель
Силовой кабель
Силовые гибкие кабели
Силовые кабели с бумажной изоляцией
Силовые кабели с пластмассовой изоляцией
Соединительный кабель
Станционный кабель
Стационарный кабель
Судовой кабель
Телефонный кабель
Теплостойкий монтажный провод
Термостойкий кабель
Термоэлектродный кабель
Универсальный кабель
Установочный провод
Шахтный кабель
Электроды анодного заземления
Метизы
Анкерные плиты
Литая анкерная плита
Сварные анкерные плиты
Составные анкерные плиты
Стальные анкерные плиты
Анкерные тяги
Анкерная тяга резьбовая с муфтой
Анкерная тяга с накладками
Анкерная тяга с проушиной
Плоская анкерная тяга
Арматурные каркасы
Арматурные каркасы для свай
Объемные арматурные каркасы (пространственные)
Плоские арматурные каркасы для фундамента
Фиксаторы "Змейка" для арматуры и сеток
Высокопрочный крепеж
Алюминиевые шайбы
Высокопрочная гайка
Высокопрочная шайба
Высокопрочные шпильки
Высокопрочный болт
Медные шайбы
Зажимы для стальных канатов
Латунные заклепки
Латунные заклепки с полукруглой головкой
Латунные заклепки с потайной головкой
Медные гвозди
Медные заклепки
Медная вытяжная заклепка
Медные заклепки с плоской головкой
Медные заклепки с полукруглой головкой
Медные заклепки с потайной головкой
Нержавеющие вытяжные заклепки
Стальные гайки
Глухая гайка
Глухая гайка в сборе
Шлицевая гайка
Стальные оцинкованные шпильки
Фундаментные анкерные блоки
Фундаментные болты
Болт фундаментный прямой тип 5.1
Болт фундаментный с коническим концом тип 6.1
Болт фундаментный с коническим концом тип 6.2
Болт фундаментный с коническим концом тип 6.3
Болты фундаментные изогнутые тип 1.1
Болты фундаментные изогнутые тип 1.2
Болты фундаментные с анкерной плитой тип 2.1
Болты фундаментные составные тип 3.1
Болты фундаментные составные тип 3.2
Болты фундаментные составные тип 4.1
Болты фундаментные составные тип 4.2
Болты фундаментные составные тип 4.3
Болты фундаментные тип 2.2
Болты фундаментные тип 2.3
Футеровочные болты (бронеболты)
Шпильки фланцевые
Закладные детали
Закладные детали ФМ
Закладные изделия МН по серии 1.400-15
МН 101-164 изделие
МН 201-228 изделие
МН 301-325 изделие
МН 401-418 изделие
МН 501-522 изделие
МН 523-538 изделие
МН 539-540 изделия
МН 541-554 изделие
МН 555-557 изделие
МН 558-565 изделия
МН 566-571 изделие
МН 601-615 изделие
МН 616-617 изделие
МН 701-775 изделие
МН 776-795 изделие
МН 801 изделие
МН 802-834 изделие
Фиксаторы арматуры
Защитная крышка для арматуры
Фиксаторы арматуры звездочка
Фиксаторы арматуры кольцо
Фиксаторы арматуры кубик
Фиксаторы арматуры многоуровневые
Фиксаторы арматуры настил
Фиксаторы арматуры стойка турецкая
Фиксаторы арматуры стульчик
Фиксаторы арматуры треугольник
Конструкции для трубопроводов
Конструкции для балластировки трубопроводов
Бункерное устройство для заполнения текстильных контейнеров
Мягкие соединительные пояса
Пластиковые балластировочные утяжелители УБП, ПКУ
Полимерно-контейнерное балластирующее устройство
Текстильный контейнер из технической ткани
Конструкции для защиты изоляционного покрытия трубопроводов
Защитные коврики для УБО и УБКМ
Скальный лист
Уплотнительный коврик из скального листа для УТК и ЧГ
Футеровочные маты для УБО
Футеровочные полотенца
Конструкции для очистки полости трубопроводов
Поршень полиуретановый дисковый
Поршень полиуретановый манжетно-дисковый
Поршень полиуретановый манжетный
Поршни пенополиуретановые литые ППЛ, ППЛ-М
Конструкции для сварки трубопроводов
Подогреватели стыков трубопроводов
Термозащитные пояса для защиты трубы от сварочных брызг
Термоизолирующие пояса для предотвращения преждевременного охлаждения сварочного шва
Конструкции для строительства переходов трубопроводов
Герметизирующие манжеты ГМР и ГМНР
Герметизирующие резинотканевые манжеты
Защитные прокладки из скального листа под ОНК
Защитные резинотканевые прокладки под ОНК
Опорно - направляющие кольца
Опорно - центрирующие кольца
Укрытие защитное герметизирующей манжеты
Противоэрозионные конструкции
Противоэрозионные полотенца
Противоэрозионный контейнер
Железобетонные изделия
Железобетонные колодцы (ЖБИ)
Бетонные кольца для колодцев
Кольца ЖБИ
Кольца конические колодцев
Кольцо опорное для колодцев
Дорожные плиты колодцев
Круглые плиты перекрытий колодцев
Опорные плиты колодцев
Плиты днища колодцев
Железобетонные плиты
Анкерно-опорные плиты
Железобетонные анкерные плиты
Железобетонные плиты перекрытий
Железобетонные утяжелители для трубопроводов
Железобетонные утяжелители УБГ
Железобетонные утяжелители УБКм
Железобетонные утяжелители УБО
Железобетонные утяжелители УБП
Железобетонные утяжелители УБТ
Железобетонные утяжелители УТК
Лотки ЖБИ
Трубы железобетонные
Труба железобетонная безнапорная
Труба железобетонная напорная
Электрооборудование
Закладные детали для трубопроводов
Крепежные изделия для трубопроводов
Крепление двух трубопроводов к колонне
Крепление двух трубопроводов к перекрытию
Крепление двух трубопроводов к стене
Крепление нескольких трубопроводов к перекрытию
Крепление одного трубопровода к железобетонной балке
Крепление одного трубопровода к перекрытию
Крепление трех и более трубопроводов
Крепление трех трубопроводов к перекрытию
Крепление трубопроводов к полу
Крепление четырех трубопроводов к железобетонной колонне
Крепления к балкам перекрытия на подвесках
Крепления к железобетонным колоннам
Крепления к кирпичным стенам
Крепления к металлическим площадкам
Крепления к ригелям на подвесках
Крепления к стеновым панелям
Крепления трубопроводов к металлическим колоннам
Крепления трубопроводов к плитам перекрытия
Опорные узлы для катковых блоков
Траверса металлическая подвесная
Траверса-балка металлическая подвесная
Шпильки для трубопроводов
Выберите один из подарков